TOP
|
特許
|
意匠
|
商標
特許ウォッチ
Twitter
他の特許を見る
公開番号
2025161097
公報種別
公開特許公報(A)
公開日
2025-10-24
出願番号
2024064011
出願日
2024-04-11
発明の名称
冷却装置の蒸発器
出願人
個人
代理人
主分類
F28C
3/08 20060101AFI20251017BHJP(熱交換一般)
要約
【課題】
従来の冷却装置の蒸発器には、フィンコイル方式、乾式シェルアンドチューブ方式、満液式シェルアンドチューブ方式の3通りがあるが、3方式はどれも径の小さいパイプを採用しているので、熱交換率が悪く、フィンコイル方式はパイプに多数の羽根を固着しなければならないので、製造コストがかかり、他の2方式は多数のパイプを使用しなければならないので、製造コストがかかる欠点があった。
【解決手段】
冷却箱に冷媒液を噴霧する噴霧ノズルを内蔵して、冷却箱を冷却し、冷却箱の冷気を遮蔽板で吸収して、冷却箱の周囲を冷却し、遮蔽板、冷却箱の底面および天井に孔を空けて、遮蔽板、底面および天井の設けられた孔を暖かい気体(以下暖気体という)がこれらの孔を通過するときに遮蔽板等で冷却され、冷却箱の周囲に放熱板を設けて、暖気体を冷却する。
【選択図】 図1
特許請求の範囲
【請求項1】
冷却箱に複数個の冷媒液流入パイプと複数個の冷媒蒸発流出パイプを設ける手段と
前記冷媒液流入パイプに噴射ノズルを固着する手段と
前記噴霧ノズルから噴霧された冷媒液が前記冷却箱内で前記噴射ノズルから前記冷媒蒸発流出パイプまで滞留することなく流れ、かつ、間隔を空けて配置する複数個の遮蔽板を設け、前記遮蔽板に複数個の遮蔽板用通風孔を設ける手段と
前記冷却箱の底面に複数個の底面用通風孔と天井面に複数個の天井用通風孔を設ける手段と
前記遮蔽板用通風孔と前記底面用通風孔と前記天井用通風孔の孔が一致する手段と
前記冷却箱の底面の縦方向に複数個の底面縦用放熱板を、横方向に複数個の底面横用放熱板の設け、前記底面縦用放熱板および前記底面横用放熱板が前記底面冷却箱用通風孔を横切る手段と
前記冷却箱の天井面の縦方向に複数個の天井縦用放熱板を、横方向に複数個の天井横用放熱板を設け、前記天井縦用放熱板および前記天井横用放熱板が、前記天井用通風孔を横切る手段と
前記冷却箱の東西南北方向の側面に側面用放熱板を固着する手段により、
前記噴霧ノズルから噴霧された冷媒液が微粒子となり、一粒一粒が前記冷却箱の熱を吸収して、前記冷却箱全体を冷却すると同時に、前記遮蔽板、前記底面縦用放熱板、前記底面横用放熱板、前記天井縦用放熱板、前記横用放熱板、側面用放熱板も冷却することにより、前記冷却箱の周囲の暖かい気体(以下暖気体という)を冷却すると同時に、前記底面用通風孔から遮蔽板用通風孔経由で天井用通風孔を暖気体が通過時に前記冷却箱および前記遮蔽板で冷却することにより、暖気体を冷却して冷たい気体(以下冷気体という)にすることを特徴とする冷却装置の蒸発器
発明の詳細な説明
【技術分野】
【0001】
本発明は冷媒液が冷却箱10に流入する複数個の冷媒液流入パイプ40と冷媒液が冷却箱10から流出する複数個の冷媒液流出パイプ50を設け、冷媒液流入パイプ40に噴霧ノズル30を固着し、複数個の遮蔽板用通風孔70を設けた複数個の遮蔽板60を冷却箱10に内蔵し、噴霧ノズル30から噴霧された冷媒液が遮蔽板60間で滞留することなく冷媒液流出パイプ50に流れるように間隔を空けて遮蔽板60を配置する。
続きを表示(約 1,400 文字)
【0002】
冷却箱10の底面に複数個の底面用通風孔71および天井面に複数個の天井用通風孔72を設け、遮蔽板用通風孔70と底面用通風孔71及び天井用通風孔72の孔の位置を一致させ、底面から底面用通風孔71に流入した暖気体は遮蔽板用通風孔70、天井用通風孔72から流出する。
【0003】
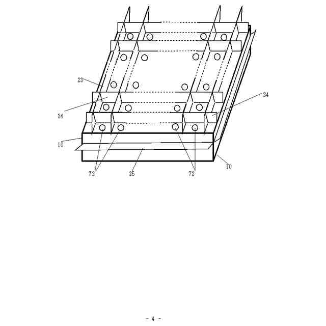
冷却箱10の底面の縦方向に複数個の底面縦用放熱板21、横方向に複数個の底面横放熱板22を固着し、底面縦用放熱板21、底面横用放熱板22は底面用通風孔を71をそれぞれが横切るように設置し、冷却箱10の天井面の縦方向に複数個の天井縦用放熱板23、横方向に複数個の天井横用放熱板24を固着し、天井縦用放熱板23、天井横用放熱板は天井用通風孔72をそれぞれが横切るように設置し、冷却箱10の東西方向の側面に側面用放熱板25を固着する。
【0004】
冷却箱10、底面縦用放熱板21、底面横用放熱板22、天井縦用放熱板23,天井横用放熱板24および側面用放熱板25で周囲の暖気体を冷却し、かつ、暖気体が底面用通風孔71から遮蔽板用通風孔70経由で天井用通風孔72から流出する時に遮蔽板60、底面縦用放熱板21、底面横用放熱板22、天井縦用放熱板23,および天井横用放熱板24が暖気体の熱を吸収して、暖気体が冷気体になり冷却されることに関する。
【先行技術文献】
【特許文献】
【0005】
特開2023-69923
特開2021-167681
特開2021-113654
【背景技術】
【0006】
従来の冷却装置の蒸発器はフィンコイル方式、満液式シェルアンドチューブ方式と乾式シェルアンドチューブ方式がある。
【0007】
フィンコイル方式は放熱管100と複数個の放熱板20で構成され、放熱管100に冷媒液を流し、放熱管100に複数個の放熱板20を固着して、放熱管100と放熱板20で暖気体の熱を吸収して、暖気体を冷却して冷気体にする。
【0008】
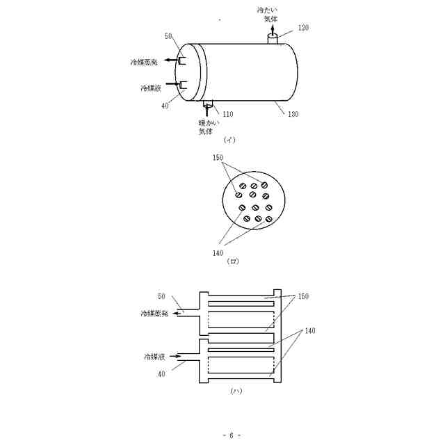
乾式シェルアンドチューブ方式はチューブ130と冷媒液流入パイプ40と冷媒蒸発流出パイプ50、暖気体流入パイプ110、冷気体流出パイプ120、暖気体熱吸収管140、冷媒液排出管150で構成され、冷媒液は冷媒液流入パイプ40、暖気体熱吸収管140,冷媒液排出管150、冷媒蒸発流出パイプ50経由でチューブ130から流出し、暖気体は暖気体流入パイプ110からチューブ130内に流入して、冷気体流出パイプ120からチューブ130から流出する。
【0009】
また、乾式シェルアンドチューブ方式において、冷媒液を冷媒液流入パイプ40から暖気体熱吸収管140に注入してチューブ130内を冷却し、暖気体の熱を吸収して、冷媒液は蒸発して、冷媒蒸発流出パイプ50より、チューブ130の外に流出し、暖気体は暖気体流入パイプ110からチューブ130内に流入して、チューブ130内で冷却されて冷気体になって、冷気体流出パイプ120からチューブ130外に流出される。
【0010】
また、満液式シェルアンドチューブ方式はチューブ130、冷媒液流入パイプ40、冷媒液流出パイプ50、 暖気体流入パイプ110、冷気体流出パイプ120、暖気体熱放熱管200、冷気体排出管210で構成され、チューブ130内に複数個の暖気体熱放熱管200、複数個の冷気体排出管210を内蔵する。
(【0011】以降は省略されています)
この特許をJ-PlatPat(特許庁公式サイト)で参照する
関連特許
個人
排熱回収装置
3か月前
個人
冷却装置の蒸発器
28日前
個人
放射冷却装置
1か月前
個人
熱交換装置
6か月前
個人
熱交換装置
1か月前
ホーコス株式会社
熱交換ユニット
10か月前
三恵技研工業株式会社
熱交換器
7か月前
三恵技研工業株式会社
熱交換器
7か月前
株式会社パイオラックス
熱交換器
9か月前
アンリツ株式会社
検査装置
6か月前
アンリツ株式会社
検査装置
6か月前
日産自動車株式会社
熱交換器
9か月前
株式会社ティラド
ラジエータ
10か月前
株式会社アイシン
水噴射冷却システム
10か月前
新光電気工業株式会社
蓄熱装置
2か月前
サンデン株式会社
熱交換器
9か月前
サンデン株式会社
熱交換器
9か月前
栗田工業株式会社
冷却塔システム
9か月前
株式会社デンソー
熱交換器
5か月前
株式会社アイシン
熱交換器
5か月前
株式会社デンソー
熱交換器
5か月前
栗田工業株式会社
冷却塔システム
4か月前
日新電機株式会社
化学蓄熱反応器
11か月前
サンデン株式会社
熱交換器
9か月前
株式会社アイシン
熱交換器
1日前
株式会社デンソー
熱交換器
6か月前
ZACROS株式会社
熱交換装置
7か月前
サンデン株式会社
熱交換器
7か月前
サンデン株式会社
熱交換器
7か月前
株式会社デンソー
熱交換器
6か月前
株式会社神戸製鋼所
積層型熱交換器
6か月前
中部抵抗器株式会社
密閉構造体用冷却装置
11か月前
株式会社デンソー
熱交換装置
29日前
TPR株式会社
熱電発電機能付き熱交換器
8か月前
古河電気工業株式会社
ヒートパイプ
9か月前
新晃工業株式会社
熱交換器の底板構造
8か月前
続きを見る
他の特許を見る