TOP
|
特許
|
意匠
|
商標
特許ウォッチ
Twitter
他の特許を見る
10個以上の画像は省略されています。
公開番号
2025092948
公報種別
公開特許公報(A)
公開日
2025-06-23
出願番号
2023208377
出願日
2023-12-11
発明の名称
熱交換器
出願人
株式会社デンソー
代理人
個人
,
個人
,
個人
主分類
F28F
1/30 20060101AFI20250616BHJP(熱交換一般)
要約
【課題】構成部材同士を接着剤で接合する際にも熱伝導率を高く保つこと。
【解決手段】第1熱伝達領域10zが設けられている第1部材10と、第1熱伝達領域10zに接合される第2熱伝達領域20zが設けられている第2部材20と、第1熱伝達領域10zと第2熱伝達領域20zとを接合する樹脂材6と、を備え、第1熱伝達領域10zと第2熱伝達領域20zとの間の距離が一定であり、第1熱伝達領域10z及び第2熱伝達領域20zに隣接し且つ第1部材10と第2部材20との間に退避領域12zが設けられ、第1熱伝達領域10zと第2熱伝達領域20zとの間における樹脂材6の厚みよりも、退避領域12zにおける樹脂材6の厚みが厚くなっている、熱交換器。
【選択図】図3
特許請求の範囲
【請求項1】
第1媒体と第2媒体とで熱交換を行う熱交換器であって、
第1熱伝達領域(10z,10Az,10Bz,10Cz,10Dza,10Dzb,10Ez)が設けられ、前記第1媒体を第1方向に流す第1流路(1b)を形成する第1部材(10,10A,10E)と、
前記第1熱伝達領域に接合される第2熱伝達領域(20z,20Az,20Bz,20Cz,20Dza,20Dzb,20Ez)が設けられ、前記第1方向と交わる第2方向に前記第2媒体を流す第2流路(1a)を形成する第2部材(20,20A,20B,20C,20D,20E)と、
前記第1部材及び前記第2部材の熱伝導率よりも熱伝導率が低く、前記第1熱伝達領域と前記第2熱伝達領域とを接合する樹脂材(6)と、を備え、
前記第1熱伝達領域と前記第2熱伝達領域との間の距離が一定であり、前記第1熱伝達領域及び前記第2熱伝達領域に隣接し且つ前記第1部材と前記第2部材との間に退避領域(12z,12Az,12Bz,12Cz,12Dz,12Ez)が設けられ、
前記第1熱伝達領域と前記第2熱伝達領域との間における前記樹脂材の厚みよりも、前記退避領域における前記樹脂材の厚みが厚くなっている、熱交換器。
続きを表示(約 760 文字)
【請求項2】
前記退避領域は、前記第1部材と前記第2部材との間の距離が、前記第1熱伝達領域と前記第2熱伝達領域との間の距離よりも離れることで形成されている、請求項1に記載の熱交換器。
【請求項3】
前記第1熱伝達領域及び前記第2熱伝達領域はそれぞれ平らであって、前記第2部材が屈曲することで前記退避領域が形成されている、請求項2に記載の熱交換器。
【請求項4】
前記退避領域は、前記第2方向において前記第1熱伝達領域及び前記第2熱伝達領域を挟むように設けられている、請求項1から3のいずれか1項に記載の熱交換器。
【請求項5】
前記第1部材はチューブであり、前記第2部材は対向配置される前記チューブに一定のピッチで交互に接触するフィンであって、
前記第1熱伝達領域及び前記第2熱伝達領域の前記第1方向に沿った長さである接合長さが、前記第2部材の厚み以上であり、前記ピッチの半分以下である、請求項1に記載の熱交換器。
【請求項6】
前記接合長さが、前記第2部材の厚みの倍以上であり、前記ピッチの半分以下である、請求項5に記載の熱交換器。
【請求項7】
前記第1熱伝達領域又は前記第2熱伝達領域に前記樹脂材が入り込む溝が形成されている、請求項1に記載の熱交換器。
【請求項8】
前記溝の前記第1方向に沿った幅が、前記第1熱伝達領域及び前記第2熱伝達領域の前記第1方向に沿った長さである接合長さよりも小さい、請求項1に記載の熱交換器。
【請求項9】
前記溝の前記第1方向に沿った幅が、前記第1熱伝達領域及び前記第2熱伝達領域の前記第1方向に沿った長さである接合長さよりも小さい、請求項1に記載の熱交換器。
発明の詳細な説明
【技術分野】
【0001】
本開示は、熱交換器に関する。
続きを表示(約 2,000 文字)
【背景技術】
【0002】
下記特許文献1では、構成部材同士を接着剤で接合した熱交換器について記載されている。熱交換器の構成部材同士は熱伝導率を高く保つことが求められるが、接着剤は熱伝導率が低い。そこで、下記特許文献1では、接着剤に高熱伝導率のフィラーを含有させてこの課題を解決しようとしている。
【先行技術文献】
【特許文献】
【0003】
特許第6341098号公報
【発明の概要】
【発明が解決しようとする課題】
【0004】
特許文献1では、構成部材とフィラーとが接触した部分を介して熱が伝わることになるが、フィラーが例えば球状の場合、構成部材とフィラーとの接触面積は極めて狭くなる。この狭い接触部分を介して熱を伝えようとすると、その接触面積の小ささに応じた接触抵抗によって熱移動が阻害される。そこで、フィラーを大きくして表面積を増大させることが考えられるが、接着剤で接合する部分の総体積は変わらないため、フィラーを大きくすれば含有許容量が下がってしまい、結果として接触面積を増やすことができない。従って、特許文献1に記載されているような熱交換器の構成では、熱伝達効率を上げることが形態的に難しい。
【0005】
本開示は、構成部材同士を接着剤で接合する際にも熱伝導率を高く保つことを目的とする。
【課題を解決するための手段】
【0006】
本開示は、第1媒体と第2媒体とで熱交換を行う熱交換器であって、第1熱伝達領域(10z,10Az,10Bz,10Cz,10Dza,10Dzb,10Ez)が設けられ、第1媒体を第1方向に流す第1流路(1b)を形成する第1部材(10,10A,10E)と、第1熱伝達領域に接合される第2熱伝達領域(20z,20Az,20Bz,20Cz,20Dza,20Dzb,20Ez)が設けられ、第1方向と交わる第2方向に前記第2媒体を流す第2流路(1a)を形成する第2部材(20,20A,20B,20C,20D,20E)と、第1部材及び第2部材の熱伝導率よりも熱伝導率が低く、第1熱伝達領域と第2熱伝達領域とを接合する樹脂材(6)と、を備え、第1熱伝達領域と第2熱伝達領域との間の距離が一定であり、第1熱伝達領域及び第2熱伝達領域に隣接し且つ第1部材と第2部材との間に退避領域(12z,12Az,12Bz,12Cz,12Dz,12Ez)が設けられ、第1熱伝達領域と第2熱伝達領域との間における樹脂材の厚みよりも、退避領域における樹脂材の厚みが厚くなっている。
【発明の効果】
【0007】
本開示によれば、構成部材同士を接着剤で接合する際にも熱伝導率を高く保つことができる。
【図面の簡単な説明】
【0008】
図1は、本実施形態における熱交換器を示す斜視図である。
図2は、図1のII視を示す図である。
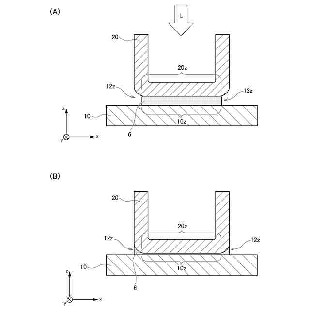
図3は、チューブとフィンの接合部分を説明するための拡大図である。
図4は、チューブとフィンを接合するプロセスについて説明するための図である。
図5は、チューブとフィンを接合するプロセスについて説明するための図である。
図6は、チューブ及びフィンの変形例を説明するための図である。
図7は、チューブ及びフィンの変形例を説明するための図である。
図8は、本実施形態における熱交換器の性能を説明するための図である。
図9は、チューブ及びフィンの比較例を説明するための図である。
図10は、本実施形態における熱交換器の性能を説明するための図である。
図11は、チューブ及びフィンの変形例を説明するための図である。
図12は、チューブ及びフィンの変形例を説明するための図である。
図13は、チューブ及びフィンの変形例を説明するための図である。
【発明を実施するための形態】
【0009】
以下、添付図面を参照しながら本実施形態について説明する。説明の理解を容易にするため、各図面において同一の構成要素に対しては可能な限り同一の符号を付して、重複する説明は省略する。
【0010】
図1に示されるように、熱交換器1は、コア部2と、ヘッダタンク3,4とを備えている。熱交換器1は、第1媒体と第2媒体との間で熱交換を行うものである。コア部2は、チューブ10と、フィン20とを備えている。チューブ10は、その内部を第1媒体が流れるように構成されている。チューブ10は複数本設けられており、チューブ10とフィン20とは交互に積層されている。
(【0011】以降は省略されています)
この特許をJ-PlatPat(特許庁公式サイト)で参照する
関連特許
株式会社デンソーウェーブ
筐体
7日前
株式会社デンソー
回転機
7日前
株式会社デンソー
電子装置
14日前
株式会社デンソー
検出装置
6日前
株式会社デンソー
反力装置
14日前
株式会社デンソー
電子装置
15日前
株式会社デンソー
レーダ装置
13日前
株式会社デンソー
農業用装置
16日前
株式会社デンソー
半導体装置
2日前
株式会社デンソー
電流センサ
7日前
株式会社デンソー
熱交換装置
今日
株式会社デンソーテン
インバータ
14日前
株式会社デンソー
電力変換装置
8日前
株式会社デンソー
衝突予測装置
15日前
株式会社デンソー
車載システム
14日前
株式会社デンソー
画像処理装置
7日前
株式会社デンソー
運転支援装置
15日前
株式会社デンソー
電圧検出回路
今日
株式会社デンソー
車載システム
14日前
株式会社デンソー
電力変換装置
今日
株式会社デンソー
運航管理装置
13日前
株式会社デンソー
車両制御装置
14日前
株式会社デンソー
電力変換装置
16日前
株式会社デンソー
電圧検出回路
16日前
株式会社デンソー
衝突予測装置
15日前
株式会社デンソー
スパークプラグ
2日前
株式会社デンソー
巻線界磁ロータ
8日前
株式会社デンソー
非接触受電装置
2日前
株式会社デンソー
部品の当接構造
1日前
株式会社デンソー
はんだ付け装置
8日前
株式会社デンソー
無線通信システム
14日前
株式会社デンソー
スイッチング電源
14日前
株式会社デンソー
セル制御システム
13日前
株式会社デンソー
フェード検知装置
14日前
株式会社デンソーウェーブ
通行管理システム
14日前
株式会社デンソー
ブラシレスモータ
6日前
続きを見る
他の特許を見る