TOP
|
特許
|
意匠
|
商標
特許ウォッチ
Twitter
他の特許を見る
公開番号
2025168960
公報種別
公開特許公報(A)
公開日
2025-11-12
出願番号
2024073861
出願日
2024-04-30
発明の名称
光硬化性シート、光硬化性シートの製造方法
出願人
株式会社レゾナック建材
代理人
個人
,
個人
,
個人
主分類
B32B
5/28 20060101AFI20251105BHJP(積層体)
要約
【課題】貼着する面の凹凸に追従して隙間なく密着させることが可能であり、かつ、樹脂のべたつきによる作業性の低下を抑制することが可能な光硬化性シート、および光硬化性シートの製造方法を提供する。
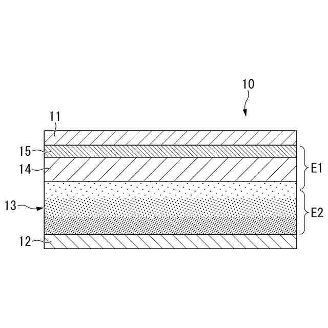
【解決手段】 第1樹脂フィルムと、第2樹脂フィルムと、前記第1樹脂フィルムおよび前記第2樹脂フィルムの間に配された、光硬化性樹脂からなる光硬化性樹脂層と、前記光硬化性樹脂層の内部に配され前記光硬化性樹脂が含浸された第1繊維層と、を有し、前記光硬化性樹脂層は、前記第1樹脂フィルムに接する第1領域よりも、前記第2樹脂フィルムに接する第2領域のほうが硬度が低い光硬化性シート。
【選択図】図1
特許請求の範囲
【請求項1】
第1樹脂フィルムと、第2樹脂フィルムと、
前記第1樹脂フィルムおよび前記第2樹脂フィルムの間に配された、光硬化性樹脂からなる光硬化性樹脂層と、
前記光硬化性樹脂層の内部に配され前記光硬化性樹脂が含浸された第1繊維層と、を有し、
前記光硬化性樹脂層は、前記第1樹脂フィルムに接する第1領域よりも、前記第2樹脂フィルムに接する第2領域のほうが硬度が低い、光硬化性シート。
続きを表示(約 660 文字)
【請求項2】
前記光硬化性樹脂層は、前記第1樹脂フィルム側から前記第2樹脂フィルム側に向かって、硬度が漸減している、請求項1に記載の光硬化性シート。
【請求項3】
前記光硬化性樹脂層の前記第1領域はゲルであり、前記光硬化性樹脂層の前記第2領域はゾルである、請求項1または2に記載の光硬化性シート。
【請求項4】
前記第1繊維層と前記第1樹脂フィルムとの間には、更に第2繊維層を有する、請求項1または2に記載の光硬化性シート。
【請求項5】
前記光硬化性樹脂層は、ビニルエステル樹脂を含む、請求項1または2に記載の光硬化性シート。
【請求項6】
前記第1繊維層は、前記光硬化性樹脂層を構成する前記光硬化性樹脂が含侵されている、請求項1または2に記載の光硬化性シート。
【請求項7】
前記第1繊維層は、ガラス繊維を含む、請求項1または2に記載の光硬化性シート。
【請求項8】
前記第1樹脂フィルムおよび前記第2樹脂フィルムは、光透過性樹脂からなる、請求項1または2に記載の光硬化性シート。
【請求項9】
前記第1樹脂フィルムおよび前記第2樹脂フィルムは、ポリエチレンテレフタレートを含む、請求項8に記載の光硬化性シート。
【請求項10】
前記光硬化性樹脂層は、厚みが0.3mm以上、10mm以下の範囲である、請求項1または2に記載の光硬化性シート。
(【請求項11】以降は省略されています)
発明の詳細な説明
【技術分野】
【0001】
この発明は、光硬化性シート、光硬化性シートの製造方法に関する。
続きを表示(約 1,500 文字)
【背景技術】
【0002】
従来、トンネル、橋梁などの補修、補強、コンクリート片剥落防止対策や、下水道施設などの補修、補強、コンクリート防食対策、更には管渠、水路などの流量増大のために施されるコンクリート表面の粗度係数の低減対策として、例えばガラス繊維、炭素繊維、アラミド繊維などの繊維シートを、樹脂を含浸させながら貼り付ける繊維シート貼付工法が用いられている。
【0003】
この繊維シート貼付工法では、例えば、コンクリート表面の不陸修正を行った後にプライマーや下塗り材を塗布し、樹脂(含浸樹脂)を含浸させつつ繊維シートを貼り付けてゆき、必要に応じて複数の繊維シートを樹脂の含浸を繰り返し行ないながら積層してゆく。このとき、繊維シートと下層の樹脂(下塗り材や下層の含浸樹脂)の間に気泡が介在して密着性が低下することがないように入念な脱泡作業を行いながら繊維シートを貼り付けることが必要である。
【0004】
このため、こうした工法を特に下水道施設のコンクリート防食対策に適用する場合には、樹脂層の厚さやピンホールの発生が防食性能に大きく影響するため、熟練工による作業を必要としていた。しかし、こうした熟練工は、少子化、高齢化によって減少しつつある。
【0005】
このため、例えば、予め工場等で光重合開始剤を含む樹脂をガラス繊維などの繊維質基材に含浸させてシート状に形成した、いわゆる光硬化型プリプレグシートを用いた工法が実用化されている(例えば、特許文献1、特許文献2参照)。この光硬化型プリプレグシートは、例えば、2種の光重合開始剤を混入した樹脂を繊維質基材に含浸させ、硬化前の状態の樹脂と繊維質基材とをPETフィルムなどの光透過性フィルムで挟むことで形成されている。
【0006】
このような光硬化型プリプレグシートを用いた工法は、工場等で生産された光硬化型プリプレグシートを施工現場で施工面に貼り付けてから、例えば、可視光線や紫外線などを照射して硬化させることで実施できるため、均一な厚さでピンホールがなく、熟練工を要することなしに容易に且つ短期間でコンクリート防食対策を行うことが可能になる。
【先行技術文献】
【特許文献】
【0007】
特許第3479202号公報
特開昭63-186744号公報
【発明の概要】
【発明が解決しようとする課題】
【0008】
しかしながら、特許文献1や特許文献2の光硬化型プリプレグシートを用いた場合、施工面の凹凸が大きい場合、光硬化型プリプレグシートの全体が施工面に密着せず、気泡の巻き込みや未接合部分が生じる懸念がある。こうした気泡の巻き込みや未接合部分が生じると、施工面の防食不良が生じる懸念がある。
【0009】
一方で、こうした施工面の凹凸を埋めることができるように、光硬化型プリプレグシートの樹脂層の樹脂硬度を低くすると、施工時に樹脂層が流出したり、樹脂層の厚みにばらつきが生じてしまうといった課題が生じる。
また、施工面の凹凸を埋めるためにパテ状の樹脂を塗布した後に光硬化型プリプレグシートを貼ることも行われているが、工程が煩雑化して短期間で施工できるメリットを十分に発揮することができない。
【0010】
この発明は、前述した事情に鑑みてなされたものであって、貼着する面の凹凸に追従して隙間なく密着させることが可能であり、かつ、樹脂のべたつきによる作業性の低下を抑制することが可能な光硬化性シート、および光硬化性シートの製造方法を提供することを目的とする。
【課題を解決するための手段】
(【0011】以降は省略されています)
この特許をJ-PlatPat(特許庁公式サイト)で参照する
関連特許
株式会社レゾナック建材
光硬化性シート、光硬化性シートの製造方法
17日前
東レ株式会社
積層体
6か月前
東レ株式会社
積層体
10か月前
東レ株式会社
積層構造体
10か月前
ユニチカ株式会社
積層体
3か月前
個人
箔転写シート
6か月前
ユニチカ株式会社
積層体
9か月前
個人
鋼材の塗膜構造
3か月前
東レ株式会社
強化繊維基材
5か月前
東レ株式会社
強化繊維基材
5か月前
東レ株式会社
積層フィルム
9か月前
東レ株式会社
積層フィルム
8か月前
東レ株式会社
積層フィルム
4か月前
東レ株式会社
積層フィルム
2か月前
東レ株式会社
無配向フィルム
1か月前
東レ株式会社
加飾用フィルム
1か月前
東ソー株式会社
多層フィルム
8か月前
ユニチカ株式会社
透明シート
3か月前
積水樹脂株式会社
磁性シート
8か月前
東洋紡株式会社
積層包装材料
3か月前
東ソー株式会社
多層フィルム
6か月前
東レ株式会社
光透過性表皮材
1か月前
エスケー化研株式会社
積層体
9か月前
アイカ工業株式会社
光学積層体
7か月前
大倉工業株式会社
多層フィルム
9か月前
出光興産株式会社
構造体
22日前
東レ株式会社
多層積層フィルム
2か月前
日本バイリーン株式会社
表皮材
4か月前
日本発條株式会社
積層体
2か月前
三菱製紙株式会社
不織布積層体
8か月前
artience株式会社
積層体
5か月前
東レ株式会社
サンドイッチ構造体
2か月前
個人
加熱調理に利用可能な鉄製品
11か月前
東レ株式会社
電子機器筐体用部材
10か月前
東洋アルミニウム株式会社
積層体
5か月前
豊田合成株式会社
樹脂製品
5か月前
続きを見る
他の特許を見る