TOP
|
特許
|
意匠
|
商標
特許ウォッチ
Twitter
他の特許を見る
10個以上の画像は省略されています。
公開番号
2025169193
公報種別
公開特許公報(A)
公開日
2025-11-12
出願番号
2025070571,2025501509
出願日
2025-04-22,2024-04-30
発明の名称
半導体装置の製造方法、及び、配線基板
出願人
株式会社レゾナック
代理人
個人
,
個人
,
個人
主分類
H01L
23/12 20060101AFI20251105BHJP(基本的電気素子)
要約
【課題】半導体部材の取付けを確実に行える半導体装置の製造方法を提供する。
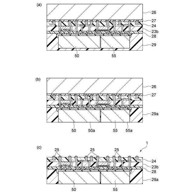
【解決手段】ブリッジダイを用いた半導体装置の製法の一例を開示する。キャリア基板20上に銅ポスト22を設け、銅ポスト22間にブリッジダイとなる半導体ダイ40を取り付ける。半導体ダイ40は、端子電極42がキャリア基板20に向くように(フェイスダウンで)端子電極42を覆う樹脂層43により取り付けられる。樹脂層43を硬化して封止材層23を形成する。封止材層23の一方に配線層24を形成し、キャリア基板20を分離して他方の面に配線層28を形成する。このインターポーザPにアクティブダイ50,55を取り付けて半導体装置1を得る。この製法によれば、ブリッジダイをフェイスダウンで取り付けるため、確実な取り付けを実現できる。高価なアクティブダイを最後に取り付けるため、製造コストを低減できる。
【選択図】図2
特許請求の範囲
【請求項1】
第1端と逆側の第2端とを有する導電性の柱状部材を第1支持体の上に設ける工程であって、前記第1端が前記第1支持体側に位置する、工程と、
第1面及び逆側の第2面を有する半導体基板と、前記半導体基板の前記第1面側に設けられた端子電極と、前記端子電極を覆うように前記第1面側に設けられた樹脂層とを含む半導体部材を、前記第1面が前記第1支持体に向くように、前記第1支持体に取り付ける工程と、
前記柱状部材及び前記半導体部材を封止する第1封止材層を前記第1支持体の上に形成する工程と、
少なくとも前記柱状部材に電気的に接続される第1配線層を前記第1封止材層の上に形成する工程と、
前記第1封止材層から前記第1支持体を分離する工程と、
前記端子電極の先端が露出するように少なくとも前記樹脂層を研削する工程と、
前記端子電極及び前記柱状部材の少なくとも一方に電気的に接続される第2配線層を前記端子電極が露出している前記第1封止材層の上に形成する工程と、
を備える、半導体装置の製造方法。
続きを表示(約 780 文字)
【請求項2】
前記半導体部材を前記第1支持体に取り付けた際の前記樹脂層は、半硬化又は未硬化の硬化性樹脂組成物である、
請求項1に記載の半導体装置の製造方法。
【請求項3】
前記樹脂層は、可視光に対して30%以上の透過率を有する、
請求項1又は2に記載の半導体装置の製造方法。
【請求項4】
前記半導体部材を取り付ける工程では、前記樹脂層を通して前記端子電極の位置を判定し、当該判定の結果に基づいて前記半導体部材を前記第1支持体の所定の位置に取り付ける、
請求項1又は2に記載の半導体装置の製造方法。
【請求項5】
前記樹脂層は、無機フィラーを含む、
請求項1又は2に記載の半導体装置の製造方法。
【請求項6】
前記無機フィラーの含有量は、前記樹脂層に含まれる固形分全量を基準として30質量%以上である、
請求項5に記載の半導体装置の製造方法。
【請求項7】
前記無機フィラーの平均粒子径は、20μm以下である、
請求項5に記載の半導体装置の製造方法。
【請求項8】
前記樹脂層が硬化された場合の25℃における弾性率は、10MPa以上である、
請求項1又は2に記載の半導体装置の製造方法。
【請求項9】
前記樹脂層は、非導電性接着フィルム(NCF)又はダイアタッチフィルム(DAF)を貼り合わせることにより形成される、
請求項1又は2に記載の半導体装置の製造方法。
【請求項10】
前記樹脂層の厚さは、前記端子電極の高さに対して100%~150%の間である、
請求項1又は2に記載の半導体装置の製造方法。
(【請求項11】以降は省略されています)
発明の詳細な説明
【技術分野】
【0001】
本開示は、半導体装置の製造方法、及び、配線基板に関する。
続きを表示(約 2,000 文字)
【背景技術】
【0002】
近年、AI/HPCなどに代表される電子機器の急激な高機能化に伴い、半導体パッケージの大型化・高密度化が急激に進んでいる。そのパッケージ構造は面実装の高密度化にとどまらず、無機(シリコン)または有機インターポーザ(Bridgedie/RDL)技術、それを用いた2.xD実装やTSVを活用した3D実装(HBM/Chiplet)技術など、パッケージ構造や実装プロセスの複雑化・多様化が進んでいる。例えば、株式会社レゾナックは『パッケージングソリューションセンター』を主な拠点として、実装プロセス及び材料を組み合わせた、顧客(半導体メーカ)目線での次世代半導体パッケージングプロセスの技術開発を行っている。
【0003】
このような半導体パッケージ分野の技術として、特許文献1には、キャリア上に半導体ダイをフェイスアップで搭載して封止すると共に封止層の上に配線層を形成し、配線層の上に別の半導体ダイを搭載する半導体装置の製造方法が開示されている。特許文献2には、別の半導体装置の製造方法が開示されている。
【先行技術文献】
【特許文献】
【0004】
米国特許出願公開第2021/0098421号明細書
米国特許出願公開第2022/0093526号明細書
【発明の概要】
【発明が解決しようとする課題】
【0005】
特許文献1に記載された半導体装置の製造方法では、支持体上に半導体ダイを搭載するには、半導体ダイの端子電極側をコレットで吸引して持ち上げてそのまま支持体上に半導体ダイをフェイスアップで実装することが考えられる。この場合、端子電極が設けられた内部領域を避けるように半導体ダイの外周をコレットで吸引する。しかしながら、このような吸引状態で取付けを行うと、半導体ダイの取付けを確実に行えないことがある。
【0006】
本開示は、半導体部材(半導体ダイ)の取付けを確実に行うことができる半導体装置の製造方法を提供することを目的とする。
【課題を解決するための手段】
【0007】
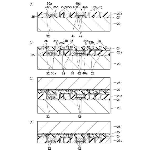
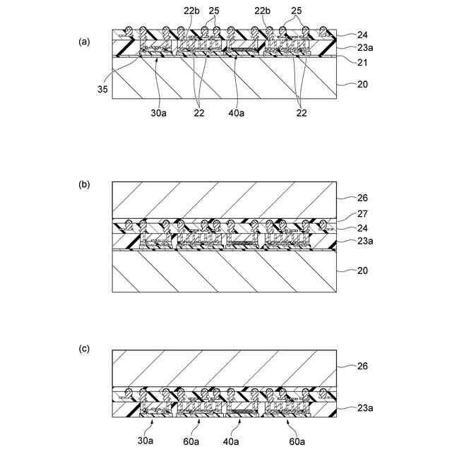
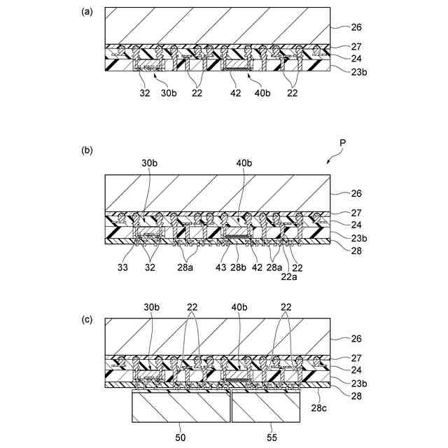
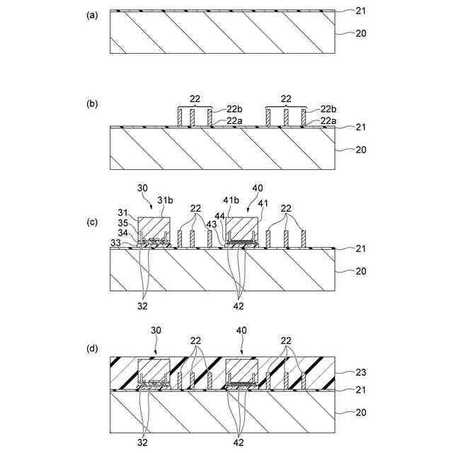
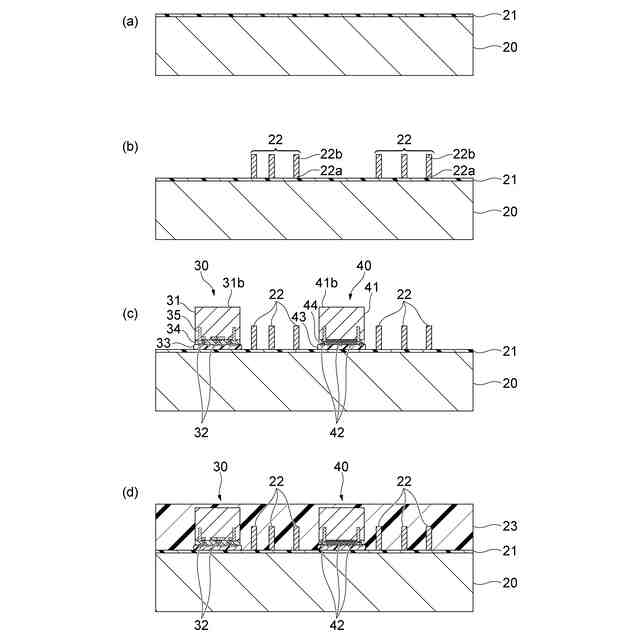
[1]本開示は、一側面として、半導体装置の製造方法に関する。この半導体装置の製造方法は、第1端と逆側の第2端とを有する導電性の柱状部材を第1支持体の上に設ける工程であって、第1端が第1支持体側に位置する、工程と、第1面及び逆側の第2面を有する半導体基板と、半導体基板の第1面側に設けられた端子電極と、端子電極を覆うように第1面側に設けられた樹脂層とを含む半導体部材を、第1面が第1支持体に向くように、第1支持体に取り付ける工程と、柱状部材及び半導体部材を封止する第1封止材層を第1支持体の上に形成する工程と、少なくとも柱状部材に電気的に接続される第1配線層を第1封止材層の上に形成する工程と、第1封止材層から第1支持体を分離する工程と、端子電極の先端が露出するように少なくとも樹脂層を研削する工程と、端子電極及び柱状部材の少なくとも一方に電気的に接続される第2配線層を端子電極が露出している第1封止材層の上に形成する工程と、を備えている。
【0008】
この半導体装置の製造方法では、端子電極が設けられた第1面が第1支持体に向くように半導体部材を第1支持体に取り付けている。即ち、半導体部材をフェイスダウンで取り付けている。このため、半導体部材をコレット等で吸引してボンディングする際、端子電極側を吸引しなくてもよく、半導体部材の取付けを確実に行うことができる。なお、ボンディングする前に半導体部材をピックアップする際、端子電極側を一旦コレットで吸引することもあるが(その後ひっくり返してボンディングを行う)、この場合、端子電極が樹脂層で覆われているため、外周をコレットで吸引しなくてもよく、半導体部材のピックアップも確実に行うことができる。
【0009】
また、この半導体装置の製造方法では、半導体部材に接続される半導体チップを工程の最後の方で(例えば、第1配線層と第2配線層とを形成した後に)、取り付けることができるため、途中段階で不良が発生した場合、高価なアクティブダイである半導体チップを取り付けないことができる。これにより、全体としての製造コストを低減できる。
【0010】
[2]上記[1]の半導体装置の製造方法は、半導体部材を第1支持体に取り付けた後であって第1封止材層を形成する前に、硬化性樹脂組成物を含む樹脂層を硬化する工程を更に備えることが好ましい。この場合、第1封止材層を形成する際(封止する際)、半導体部材の位置がずれることを防止できる。
(【0011】以降は省略されています)
この特許をJ-PlatPat(特許庁公式サイト)で参照する
関連特許
三菱電機株式会社
回路遮断器
17日前
富士電機株式会社
電磁接触器
9日前
株式会社GSユアサ
蓄電装置
9日前
トヨタ自動車株式会社
蓄電装置
1日前
大電株式会社
電線又はケーブル
1日前
ホシデン株式会社
複合コネクタ
3日前
住友電装株式会社
コネクタ
9日前
ヒロセ電機株式会社
電気コネクタ
9日前
ローム株式会社
半導体モジュール
10日前
矢崎総業株式会社
コネクタ
9日前
株式会社レゾナック
冷却器
17日前
矢崎総業株式会社
端子
1日前
株式会社パロマ
監視システム
1日前
株式会社デンソー
半導体装置
9日前
TDK株式会社
電子部品
9日前
矢崎総業株式会社
バスバー電線
2日前
新電元工業株式会社
半導体装置
9日前
矢崎総業株式会社
バスバー電線
2日前
トヨタ自動車株式会社
電池
15日前
FDK株式会社
組電池及びその作製方法
19日前
矢崎総業株式会社
コネクタ
10日前
日東電工株式会社
パッチアンテナ
2日前
日東電工株式会社
パッチアンテナ
2日前
矢崎総業株式会社
コネクタ
1日前
矢崎総業株式会社
コネクタ
1日前
株式会社村田製作所
インダクタ部品
10日前
株式会社村田製作所
インダクタ部品
10日前
トヨタ紡織株式会社
燃料電池システム
3日前
アルプスアルパイン株式会社
入力装置
3日前
株式会社アルバック
プラズマ処理装置
9日前
矢崎総業株式会社
コネクタ
9日前
株式会社AESCジャパン
電池及び電気装置
9日前
ニチコン株式会社
金属化フィルムコンデンサ
17日前
TDK株式会社
コモンモードフィルタ
2日前
ウシオ電機株式会社
半導体レーザ素子
1日前
株式会社デンソー
ダクトおよび電池装置
3日前
続きを見る
他の特許を見る