TOP
|
特許
|
意匠
|
商標
特許ウォッチ
Twitter
他の特許を見る
公開番号
2025163695
公報種別
公開特許公報(A)
公開日
2025-10-30
出願番号
2022155589
出願日
2022-09-28
発明の名称
硫化カルボニルの製造方法
出願人
日本ゼオン株式会社
,
国立大学法人九州大学
代理人
個人
,
個人
,
個人
,
個人
主分類
C01B
32/77 20170101AFI20251023BHJP(無機化学)
要約
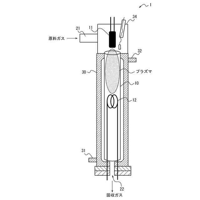
【課題】硫化カルボニルを、気相流通方式で、触媒を使用せずに収率よく製造可能な製造方法を提供する。
【解決手段】炭素原子、硫黄原子及び酸素原子を含有する出発物質を含む原料ガスを、熱プラズマにて励起させる工程と、プラズマ励起させた原料ガスを冷却する工程とを含む、硫化カルボニルの製造方法。
【選択図】図1
特許請求の範囲
【請求項1】
炭素原子、硫黄原子及び酸素原子を含有する出発物質を含む原料ガスを、熱プラズマにて励起させる工程と、プラズマ励起させた原料ガスを冷却する工程とを含む、硫化カルボニルの製造方法。
続きを表示(約 220 文字)
【請求項2】
前記原料ガスを、熱プラズマを形成する装置に、15slm以上の流量で連続的に供給し、前記装置内で励起させる、請求項1記載の硫化カルボニルの製造方法。
【請求項3】
前記出発物質が、CS
2
とCO
2
、CO、O
2
及びO
3
からなる群より選ばれる少なくとも1種との組み合わせである、請求項1又は2記載の硫化カルボニルの製造方法。
発明の詳細な説明
【技術分野】
【0001】
本発明は、硫化カルボニルの製造方法に関するものである。
続きを表示(約 1,400 文字)
【背景技術】
【0002】
硫化カルボニル(COS)は、半導体製造工程におけるカーボンハードマスク等のエッチングに有用なガスとして知られている。
【0003】
そして、気相で硫化カルボニルを製造する方法としては、炭酸ガスと二硫化炭素を触媒の存在下で反応させる方法(特許文献1及び2)、硫黄と一酸化炭素を触媒の存在下で反応させる方法(特許文献3)が知られている。
【0004】
上記の製造方法は、いずれも触媒を使用するものであるが、触媒を使用しない方法として、CS
2
と、CO
2
、CO、O
2
及びO
3
からなる群より選ばれる少なくとも1種とからなる出発物質を含む原料ガスを連続的に流通させた状態で放電させ、次いで放電領域外に連続的に放出することを含む、硫化カルボニルの製造方法(特許文献4)も提案されている。
【先行技術文献】
【特許文献】
【0005】
特公昭47-40632号公報
米国特許第3409399号明細書
特開昭52-131993号公報
国際公開第2020/262319号
【発明の概要】
【発明が解決しようとする課題】
【0006】
特許文献1~3の製造方法は、いずれも触媒を使用するものであり、触媒の活性低下に伴い収率が低下するなど、連続的な製造が困難であった。特許文献4の製造方法は、触媒を使用しないため、この問題は発生しないが、硫化カルボニルの収率については一層高いレベルの実現が望まれている。
【0007】
そこで、本発明は、硫化カルボニルを、気相流通方式で、触媒を使用せずに、収率よく製造可能な製造方法を提供することを目的とする。
【課題を解決するための手段】
【0008】
本発明者は、上記目的を達成するために鋭意検討を行い、所定の原料ガスを熱プラズマにて励起させ、次いで冷却することが、硫化カルボニルを収率よく得る上で有効であることを見出し、本発明を完成させた。
ここで、熱プラズマは、0.03MPa以上の圧力下(例えば、大気圧下)で発生するプラズマであり、電子・ガス分子・ラジカルが共に高温であり、0.0001MPa以下の圧力下で発生し、電子のみ高温にある真空プラズマとは区別される。
【0009】
本発明は、上記課題を有利に解決することを目的とするものであり、炭素原子、硫黄原子及び酸素原子を含有する出発物質を含む原料ガスを、熱プラズマにて励起させる工程と、プラズマ励起させた原料ガスを冷却する工程とを含む、硫化カルボニルの製造方法に関する。
【0010】
本発明の硫化カルボニルの製造方法では、原料ガスを熱プラズマにて励起させることで、原料ガスに炭素原子、硫黄原子及び酸素原子を含有する出発物質をCOSの前駆体となり得る活性種に変換し、次いで冷却することにより、上記活性種が再結合し、硫化カルボニルが生成する。このように、本発明によれば、気相流通方式で、触媒を使用せずに、硫化カルボニル(COS)を収率よく製造することができる。
(【0011】以降は省略されています)
この特許をJ-PlatPat(特許庁公式サイト)で参照する
関連特許
日本ゼオン株式会社
光電変換素子の製造方法
13日前
個人
一酸化炭素の製造方法
20日前
株式会社タクマ
固体炭素化設備
1か月前
東洋アルミニウム株式会社
水素発生材料
6日前
東洋アルミニウム株式会社
水素発生材料
6日前
三菱重工業株式会社
加熱装置
1か月前
株式会社トクヤマ
酸性次亜塩素酸水の製造方法
28日前
日揮触媒化成株式会社
珪酸液およびその製造方法
1か月前
デンカ株式会社
窒化ケイ素粉末
1か月前
デンカ株式会社
窒化ケイ素粉末
1か月前
住友化学株式会社
無機アルミニウム化合物粉末
27日前
デンカ株式会社
窒化ケイ素粉末の製造方法
1か月前
三菱ケミカル株式会社
槽の洗浄方法及びシリカ粒子の製造方法
1か月前
大阪瓦斯株式会社
酸化物複合体
1か月前
デンカ株式会社
セラミックス粉末の製造方法
1か月前
浅田化学工業株式会社
アルミナ水分散液の製造方法
19日前
デンカ株式会社
アルミナ粉末、無機粉末および樹脂組成物
14日前
デンカ株式会社
アルミナ粉末、無機粉末および樹脂組成物
14日前
デンカ株式会社
アルミナ粉末、無機粉末および樹脂組成物
14日前
JFEエンジニアリング株式会社
ドライアイス製造システム
28日前
トヨタ自動車株式会社
光触媒を用いた水素ガス製造装置
1か月前
トヨタ自動車株式会社
光触媒を用いた水素ガス製造装置
1か月前
アサヒプリテック株式会社
濃縮方法
1か月前
大阪瓦斯株式会社
水素製造装置及びその運転方法
1か月前
アサヒプリテック株式会社
濃縮方法
1か月前
日揮触媒化成株式会社
粉体及びその製造方法、並びに樹脂組成物
1か月前
株式会社レゾナック
球状アルミナ粉末
1か月前
日本電気株式会社
繊維状カーボンナノホーン集合体の接着分離方法
1か月前
マイクロ波化学株式会社
水素の製造方法
12日前
株式会社大阪チタニウムテクノロジーズ
四塩化チタン製造方法
1か月前
デンカ株式会社
窒化ホウ素粉末、及び樹脂成形体
1か月前
デンカ株式会社
窒化ホウ素粉末、及び樹脂成形体
1か月前
エヌ・イーケムキャット株式会社
ゼオライトの製造方法
1か月前
日揮触媒化成株式会社
多孔質の三次粒子を含む粉体、及びその製造方法
1か月前
デンカ株式会社
無機粉末及びそれを用いた樹脂組成物
19日前
デンカ株式会社
窒化ケイ素粉末、及びその製造方法
1か月前
続きを見る
他の特許を見る