TOP
|
特許
|
意匠
|
商標
特許ウォッチ
Twitter
他の特許を見る
公開番号
2025160031
公報種別
公開特許公報(A)
公開日
2025-10-22
出願番号
2024062985
出願日
2024-04-09
発明の名称
光触媒を用いた水素ガス製造装置
出願人
トヨタ自動車株式会社
代理人
個人
,
個人
主分類
C01B
3/04 20060101AFI20251015BHJP(無機化学)
要約
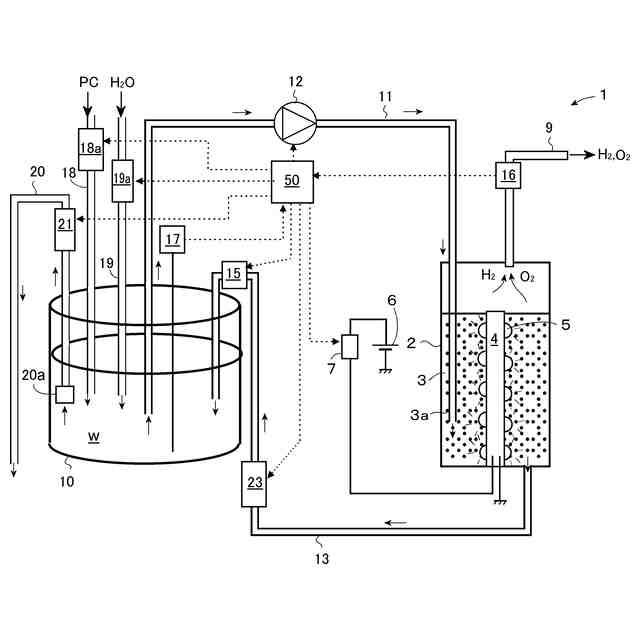
【課題】 光触媒を用いた水素ガス製造装置に於いて、水素製造量を変化させるパラメータを調節して、水素製造量を制御できるようにする。
【解決手段】 水素ガス製造装置1は、水3を貯留する水槽部2と、水槽部内の水中に分散又は配置された光触媒体3aにして、光が照射されると、励起電子と正孔を発生し、水分子を水素と酸素とに分解する水の分解反応を起こし水素ガスを発生する光触媒物質を有する光触媒体と、光触媒体へ照射されて水の分解反応を惹起する光を発する光源装置4と、水素ガスの発生量を検知する水素発生量検知手段16と、水素発生量検知手段にて検知された水素ガスの発生量に基づいて水素ガスの発生量を調節する水素発生量調節手段50とを含む。
【選択図】 図1
特許請求の範囲
【請求項1】
水素ガス製造装置であって、
水を貯留する水槽部と、
前記水槽部内の水中に分散又は配置された光触媒体にして、光が照射されると、励起電子と正孔を発生し、水分子を水素と酸素とに分解する水の分解反応を起こし水素ガスを発生する光触媒物質を有する光触媒体と、
前記光触媒体へ照射されて前記水の分解反応を惹起する光を発する光源装置と、
前記水素ガスの発生量を検知する水素発生量検知手段と、
前記水素発生量検知手段にて検知された前記水素ガスの発生量に基づいて前記水素ガスの発生量を調節する水素発生量調節手段と
を含む装置。
発明の詳細な説明
【技術分野】
【0001】
本発明は、水素ガス製造装置に係り、より詳細には、光触媒を用いた水の分解反応により水素ガスを製造する装置に係る。
続きを表示(約 3,500 文字)
【背景技術】
【0002】
燃焼しても二酸化炭素を生じないクリーンな次世代の燃料としての利用が期待されている水素ガスは、光触媒を用いた光エネルギーによる水の分解反応により生成できるので、光触媒を用いた水素ガスの製造技術が種々提案されている。例えば、特許文献1には、水を受容する容器部と、容器部内の水中に分散又は配置された光触媒体にして、光が照射されると、励起電子と正孔を発生し、水を水素と酸素とに分解する水の分解反応を起こし水素ガスを発生する光触媒物質を有する光触媒体と、光触媒体へ照射されて水の分解反応を惹起する光を発する光源と、光源を担持する筐体とを含み、筐体が容器内の水中に配置されて、水が筐体の表面から放出される光源の排熱によって加温されると共に、筐体の水に接触する表面が光触媒物質にて被覆されている構成の水素ガス製造装置が提案されている。特許文献2には、光により水を分解する助触媒担持水分解用触媒を有し、水分解用触媒に水を供給することにより、水素及び/又は酸素を発生させる光触媒モジュールの運転方法に於いて、光触媒の活性が低下したときに、助触媒の前駆体である含金属化合物の液を該モジュール内に存在させ、光照射により光触媒上に光触媒用助触媒を析出させる方法が開示されている。特許文献3に於いては、外壁によって構成された複数のケーシングの内部に電解液を収容し、かつ、それぞれのケーシングの内部に隔壁を設けた光水電解セルを複数備え、隔壁の下部は、イオン伝導膜の両面に光触媒電極及び対極を形成した光水電解電極膜接合体に構成されて電解液中に浸漬されると共に、光触媒電極及び対極が互いに導通され、複数の光水電解セル内におけるそれぞれの光水電解電極膜接合体が電気的に直列に接続されている構成の光水電解装置が開示されている。同公報の装置に於いては、水素量データに基づいて、太陽光を水素へ変換する際のエネルギー変換効率を最大にする光水電解セルの傾斜角、及び、光水電解セルに供給する電解液の流量を決定することが開示されている。特許文献4は、光が照射されると、光触媒部材に於いて分解されることとなる容器内の水を光源の排熱により加温して、水温を高めることで、水素ガスの製造効率を向上させることを提案している。
【先行技術文献】
【特許文献】
【0003】
特開2023-094488
特開2023-106958
特開2008-75097
特開2022-63186
【発明の概要】
【発明が解決しようとする課題】
【0004】
水槽内に光触媒の分散又は配置された水を貯留し、その水へLEDなどの光源装置からの光を照射して水分解反応を惹起して水素ガスを製造する装置の場合、任意の場所に設置できる点で、有利である。また、水槽内の水は、水分解反応による水素ガスの発生と共に低減するので、連続的な水素ガスの製造を可能にすべく、水素ガス製造装置に於いては、水槽内へ水を連続的に供給するための機構(貯水タンク、タンクから水槽へ水を送出するための配管とポンプ等)が備わっていると便利である。そして、上記の水素ガス製造装置に於いて水槽内から水を送出して貯水タンクへ戻すことを可能する構成を設け、水槽と貯水タンクとの間で水を循環できるようにすると、水槽内の水の状態の管理が可能となる。更に、特許文献1、4にも記載されている如く、水温を上げると、水素ガスの発生量が増大するので、水を加温できる構成が設けられている有利である。
【0005】
水素ガス製造装置に於いて、水素ガスの単位時間当たり又は適宜設定されてよい所定時間当たりの水素ガスの発生量(以下、「水素発生量」と称する。)の増減が制御できると有利である。水素発生量は、水に照射される光の強度、水槽と貯水タンクとの間に循環する水量、水中の光触媒の量若しくは光触媒の濃度、水温によって変化するので、これらのパラメータが、水素ガス製造装置に於いて、水素発生量を増減制御するために調節可能となっていると有利である。
【0006】
かくして、本発明の主な課題は、光触媒を用いた水素ガス製造装置に於いて、水素製造量を変化させるパラメータを調節して、水素製造量を制御できるようにすることである。
【課題を解決するための手段】
【0007】
本発明の一つの態様によれば、上記の課題は、水素ガス製造装置であって、
水を貯留する水槽部と、
前記水槽部内の水中に分散又は配置された光触媒体にして、光が照射されると、励起電子と正孔を発生し、水分子を水素と酸素とに分解する水の分解反応を起こし水素ガスを発生する光触媒物質を有する光触媒体と、
前記光触媒体へ照射されて前記水の分解反応を惹起する光を発する光源装置と、
前記水素ガスの発生量を検知する水素発生量検知手段と、
前記水素発生量検知手段にて検知された前記水素ガスの発生量に基づいて前記水素ガスの発生量を調節する水素発生量調節手段と
を含む装置によって達成される。
【0008】
上記の構成に於いて、「光触媒物質」は、上記の如く、光を照射されると、水の分解反応を惹起して、水を還元して水素ガスを発生することのできる物質であってよい。「光触媒体」は、かかる光触媒物質から成り、水中に分散される粒子、或いは、光触媒物質そのもので形成された部材又は任意の基板又は基質上に光触媒物質を固定してなり、水中の任意の位置に配置されたもの、若しくは、それらの両方であってよい(以下、本明細書に於いて、単に「光触媒」という場合には、光触媒物質を指すものとする。)。「光源装置」は、典型的には、電力の供給を受けて、光触媒物質に吸収されて水の分解反応を惹起させる光を発する任意の形式の装置であってよい。光源装置の発光波長は、光触媒へ照射される光が効率的に光触媒に吸収されて励起電子と正孔とを生成するように、好適には、光触媒の量子収率が(任意に選択されてよい)所定の閾値を超える波長帯域に入るように選択される。この点に関し、典型的な光触媒の量子収率は、照射光の波長が或る波長付近を下回ると急激に増大する。従って、光源の発光波長が、かかる光触媒の量子収率の急激な増大が生ずる波長よりも短波長側となるように、光源が選択されてよい。本発明に於いて利用可能な光触媒としては、例えば、SrTiO3(チタン酸ストロンチウム)、La2Ti2O7(チタン酸ランタン)、Ga2O3(酸化ガリウム)、GaN(窒化ガリウム)、NaTaO3(タンタル酸ナトリウム)、TiO2(酸化チタン)などが利用可能である。なお、これらの光触媒は、適宜、助触媒が付加されて使用されてよい。光源装置の発光素子としては、種々の発光ダイオード(LED)が採用されてよく、具体的には、インジウム窒化ガリウム(InGaN)、ダイヤモンド(紫外)、窒化ガリウム(GaN)/アルミニウム窒化ガリウム(AlGaN)(紫外、青)、セレン化亜鉛(青)、酸化亜鉛(近紫外、紫、青)を用いたものが利用可能である。「水素発生量検知手段」は、任意の手法にて、例えば、水槽内圧力、生成ガスの搬送管内圧力、水素ガス濃度などを検出することにより、水素発生量を検知する手段であってよい。「水素発生量調節手段」は、検知された水素発生量に基づいて、水素発生量を増減させる装置に於ける設定パラメータを調節することにより、水素発生量を調節する手段であってよい。
【0009】
上記の本発明の装置に於いては、検知された水素発生量に基づいて、水素発生量を増減する作動が実行される。これにより、水素発生量を所望の値に制御できることとなる。
【0010】
具体的には、本発明の装置の一つの態様として、水素発生量調節手段は、光源装置から発せられる光の光量を制御する手段であってよく、水素発生量が所望の値となるように、光源装置から発せられる光の光量を調節するよう構成されていてよい。光源装置の発する光の光量の調節は、光源装置へ供給する電力又は電流の調節により達成される。既に述べた如く、照射光強度の増減に伴い、水素発生量が増減するので、光源装置から発せられる光の光量の調節により、水素発生量の調節が可能となる。
(【0011】以降は省略されています)
この特許をJ-PlatPat(特許庁公式サイト)で参照する
関連特許
株式会社タクマ
固体炭素化設備
6日前
三菱重工業株式会社
加熱装置
6日前
東ソー株式会社
CHA型ゼオライトの製造方法
16日前
東ソー株式会社
CHA型ゼオライトの製造方法
16日前
日揮触媒化成株式会社
珪酸液およびその製造方法
9日前
デンカ株式会社
窒化ケイ素粉末
8日前
デンカ株式会社
窒化ケイ素粉末
8日前
株式会社三井E&S
アンモニア改質装置
16日前
三菱ケミカル株式会社
槽の洗浄方法及びシリカ粒子の製造方法
14日前
デンカ株式会社
窒化ケイ素粉末の製造方法
13日前
大阪瓦斯株式会社
酸化物複合体
14日前
デンカ株式会社
セラミックス粉末の製造方法
13日前
トヨタ自動車株式会社
光触媒を用いた水素ガス製造装置
1日前
デンカ株式会社
窒化ホウ素粉末の製造方法
14日前
トヨタ自動車株式会社
光触媒を用いた水素ガス製造装置
14日前
トヨタ自動車株式会社
光触媒を用いた水素ガス製造装置
6日前
大阪瓦斯株式会社
水素製造装置及びその運転方法
14日前
トヨタ自動車株式会社
光触媒を用いた水素ガス製造装置
14日前
アサヒプリテック株式会社
濃縮方法
14日前
アサヒプリテック株式会社
濃縮方法
14日前
株式会社レゾナック
球状アルミナ粉末
13日前
日揮触媒化成株式会社
粉体及びその製造方法、並びに樹脂組成物
13日前
日本電気株式会社
繊維状カーボンナノホーン集合体の接着分離方法
9日前
東ソー株式会社
アルカリ金属の除去方法
15日前
デンカ株式会社
窒化ホウ素粉末、及び樹脂成形体
9日前
株式会社大阪チタニウムテクノロジーズ
四塩化チタン製造方法
13日前
デンカ株式会社
窒化ホウ素粉末、及び樹脂成形体
9日前
エヌ・イーケムキャット株式会社
ゼオライトの製造方法
8日前
日揮触媒化成株式会社
多孔質の三次粒子を含む粉体、及びその製造方法
9日前
デンカ株式会社
窒化ケイ素粉末、及びその製造方法
13日前
デンカ株式会社
窒化ケイ素粉末、及びその製造方法
13日前
大阪瓦斯株式会社
水素製造装置及び水素製造装置の運転方法
14日前
三菱ケミカル株式会社
建材用金属酸化物層被覆体、及びその製造方法
13日前
株式会社レゾナック
球状無機酸化物粉末の製造方法
14日前
アサヒプリテック株式会社
濃縮方法および浄化方法
14日前
デンカ株式会社
窒化ホウ素粉末、及び、窒化ホウ素粉末の製造方法
14日前
続きを見る
他の特許を見る