TOP
|
特許
|
意匠
|
商標
特許ウォッチ
Twitter
他の特許を見る
公開番号
2025158317
公報種別
公開特許公報(A)
公開日
2025-10-17
出願番号
2024060738
出願日
2024-04-04
発明の名称
固体炭素化設備
出願人
株式会社タクマ
代理人
個人
主分類
C01B
32/05 20170101AFI20251009BHJP(無機化学)
要約
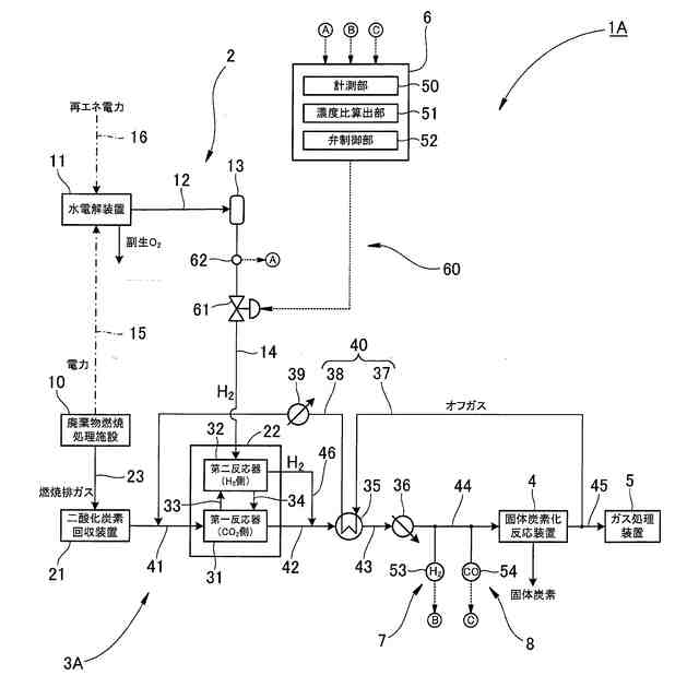
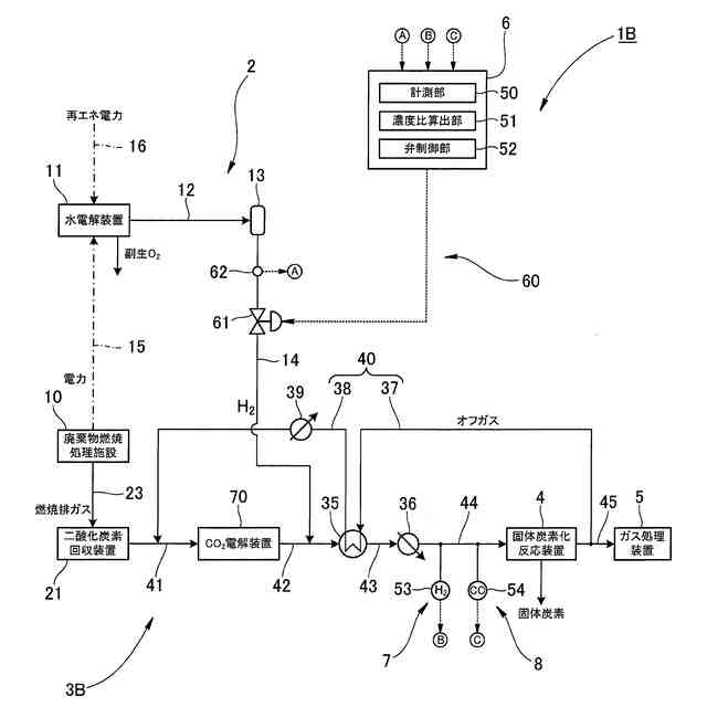
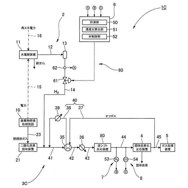
【課題】ガス成分の濃度が変動したとしても、ガス中の水素及び一酸化炭素の濃度を固体炭素化反応に適した比率に調整可能な固体炭素化設備を提供する。
【解決手段】水素を供給する水素供給手段2と、一酸化炭素を生成する一酸化炭素生成手段3Aと、一酸化炭素の還元及び酸化を行う触媒を有し、水素供給手段2から供給される水素、及び一酸化炭素生成手段3Aで生成した一酸化炭素を含むガスが導入され、触媒の作用により固体炭素を析出する固体炭素化反応装置4と、固体炭素化反応装置4に導入されるガスに含まれる水素の濃度(A%)と当該ガスに含まれる一酸化炭素の濃度(B%)との濃度比(A/B)を算出する濃度比算出手段と、濃度比算出手段によって算出される濃度比(A/B)が0.05~2.0となるように水素供給手段2を制御する制御手段60とを備えるものとする。
【選択図】図1
特許請求の範囲
【請求項1】
水素を供給する水素供給手段と、
一酸化炭素を生成する一酸化炭素生成手段と、
一酸化炭素の還元及び酸化を行う触媒を有し、前記水素供給手段から供給される水素、及び前記一酸化炭素生成手段で生成した一酸化炭素を含むガスが導入され、前記触媒の作用により固体炭素を析出する固体炭素化反応装置と、
前記固体炭素化反応装置に導入される前記ガスに含まれる水素の濃度(A%)と当該ガスに含まれる一酸化炭素の濃度(B%)との濃度比(A/B)を算出する濃度比算出手段と、
前記濃度比算出手段によって算出される濃度比(A/B)が0.05~2.0となるように前記水素供給手段を制御する制御手段と、
を備える固体炭素化設備。
続きを表示(約 1,500 文字)
【請求項2】
前記一酸化炭素生成手段は、
燃焼排ガスに含まれる二酸化炭素を回収する二酸化炭素回収装置と、
前記水素供給手段から供給される水素を含むガス、及び前記二酸化炭素回収装置で回収した二酸化炭素を含むガスが導入され、ケミカルルーピング反応を利用して一酸化炭素を生成するケミカルルーピング反応装置と、
を含む請求項1に記載の固体炭素化設備。
【請求項3】
前記一酸化炭素生成手段は、
燃焼排ガスに含まれる二酸化炭素を回収する二酸化炭素回収装置と、
前記二酸化炭素回収装置で回収した二酸化炭素を電気分解して一酸化炭素を生成する二酸化炭素電解装置と、
を含む請求項1に記載の固体炭素化設備。
【請求項4】
前記一酸化炭素生成手段は、
燃焼排ガスに含まれる二酸化炭素を回収する二酸化炭素回収装置と、
前記水素供給手段から供給される水素、及び前記二酸化炭素回収装置で回収した二酸化炭素を含むガスが導入され、当該ガス中の二酸化炭素を逆シフト反応により還元して一酸化炭素を生成する逆シフト反応装置と、
を含む請求項1に記載の固体炭素化設備。
【請求項5】
前記固体炭素化反応装置のガス流れ上流側において流れるガスを、前記固体炭素化反応装置からのオフガスとの熱交換により加熱する加熱器をさらに備える請求項1~4の何れか一項に記載の固体炭素化設備。
【請求項6】
前記固体炭素化反応装置からのオフガスを、当該固体炭素化反応装置のガス流れ上流側に導入するオフガス導入路をさらに備える請求項1~4の何れか一項に記載の固体炭素化設備。
【請求項7】
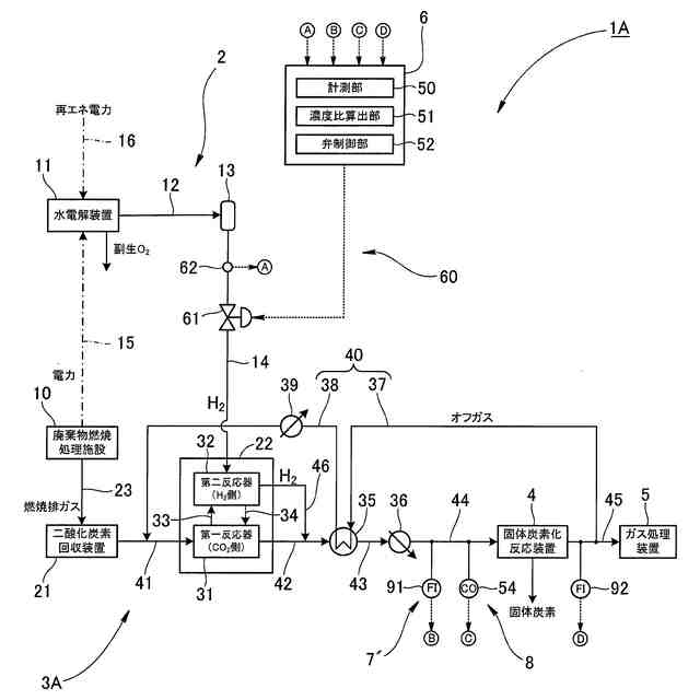
前記濃度比算出手段は、
前記固体炭素化反応装置に導入される前記ガスに含まれる水素の濃度を計測する水素濃度計測手段と、
前記固体炭素化反応装置に導入される前記ガスに含まれる一酸化炭素の濃度を計測する一酸化炭素濃度計測手段と、
を含み、
前記水素濃度計測手段によって計測される水素の濃度(A%)と前記一酸化炭素濃度計測手段によって計測される一酸化炭素の濃度(B%)とに基づいて、前記濃度比(A/B)を算出する請求項1に記載の固体炭素化設備。
【請求項8】
前記水素濃度計測手段は、
前記固体炭素化反応装置に導入される前記ガスに含まれる水素の濃度を検出する水素濃度計を含み、
前記水素濃度計の検出結果に基づいて、前記固体炭素化反応装置に導入される前記ガスに含まれる水素の濃度を計測する請求項7に記載の固体炭素化設備。
【請求項9】
前記水素濃度計測手段は、
前記固体炭素化反応装置のガス流れ上流側を流れるガスの流量を検出する上流側流量計と、
前記固体炭素化反応装置のガス流れ下流側を流れるガスの流量を検出する下流側流量計と、
を含み、
前記上流側流量計及び前記下流側流量計の検出結果に基づいて、前記固体炭素化反応装置に導入される前記ガスに含まれる水素の濃度を計測する請求項7に記載の固体炭素化設備。
【請求項10】
前記濃度比算出手段は、
前記固体炭素化反応装置のガス流れ上流側を流れるガスの流量を検出する上流側流量計と、
前記固体炭素化反応装置のガス流れ下流側を流れるガスの流量を検出する下流側流量計と、
を含み、
前記上流側流量計及び前記下流側流量計の検出結果により求められる一酸化炭素から固体炭素への変換率に基づいて、前記濃度比(A/B)を算出する請求項1に記載の固体炭素化設備。
発明の詳細な説明
【技術分野】
【0001】
本発明は、固体炭素を生成する固体炭素化設備に関する。
続きを表示(約 1,800 文字)
【背景技術】
【0002】
従来、炭素素材の多くは、主として化石燃料を原料としている。近年、地球温暖化を抑制し、持続可能な社会を構築するために、化石燃料の使用量の低減が求められており、化石燃料を用いずに炭素素材を製造することが求められている。
【0003】
特許文献1には、一酸化炭素含有ガスと水素ガスとの混合ガスを用い、一酸化炭素含有ガスと水素ガスとの流量比を所定範囲の比率として、混合ガスに対するFe系金属触媒の作用により固体炭素を析出する技術が開示されている。
【先行技術文献】
【特許文献】
【0004】
特開2007-55821号公報
【発明の概要】
【発明が解決しようとする課題】
【0005】
例えば、廃棄物燃焼処理施設等から排出される燃焼排ガスに含まれる二酸化炭素を原料とし、この二酸化炭素の還元により得られる一酸化炭素を含むガスを対象として、特許文献1に開示された固体炭素化技術を適用する場合、以下のような問題が生じると考えられる。
【0006】
すなわち、廃棄物燃焼処理施設等の運転状況によっては処理対象のガスに含まれるガス成分の濃度が変動することがある。特許文献1には、処理対象のガスにおける一酸化炭素含有ガスと水素ガスとの流量比を、固体炭素化反応(炭素析出反応)に適した所定範囲の比率に調整する手段について具体的に開示されていない。このため、処理対象のガスに含まれるガス成分の濃度が変動したときに、一酸化炭素含有ガスに対する水素ガスの流量が過剰になったり、不足したりする場合がある。水素ガスの流量が過剰になった場合、比較的高価な水素ガスの使用量が増えるため、製造コストの増加を招くことになる。一方、水素ガスの流量が不足した場合、固体炭素化反応の反応率の低下を招くことになる。
【0007】
本発明は、上記の課題に鑑みてなされたものであり、ガス成分の濃度が変動したとしても、ガス中の水素及び一酸化炭素の濃度を固体炭素化反応に適した比率に調整可能な固体炭素化設備を提供することを目的とする。
【課題を解決するための手段】
【0008】
上記課題を解決するための本発明に係る固体炭素化設備の特徴構成は、
水素を供給する水素供給手段と、
一酸化炭素を生成する一酸化炭素生成手段と、
一酸化炭素の還元及び酸化を行う触媒を有し、前記水素供給手段から供給される水素、及び前記一酸化炭素生成手段で生成した一酸化炭素を含むガスが導入され、前記触媒の作用により固体炭素を析出する固体炭素化反応装置と、
前記固体炭素化反応装置に導入される前記ガスに含まれる水素の濃度(A%)と当該ガスに含まれる一酸化炭素の濃度(B%)との濃度比(A/B)を算出する濃度比算出手段と、
前記濃度比算出手段によって算出される濃度比(A/B)が0.05~2.0となるように前記水素供給手段を制御する制御手段と、
を備えることにある。
【0009】
本構成の固体炭素化設備によれば、固体炭素化反応装置に導入されるガスに含まれる水素の濃度(A%)と当該ガスに含まれる一酸化炭素の濃度(B%)との濃度比(A/B)が濃度比算出手段によって算出される。そして、この濃度比算出手段によって算出される濃度比(A/B)が0.05~2.0となるように、水素供給手段による水素の供給量が制御手段によって制御される。従って、固体炭素化反応装置に導入されるガスに含まれるガス成分(水素、一酸化炭素等)の濃度が変動したとしても、固体炭素化反応装置に導入されるガス中の水素及び一酸化炭素の濃度を固体炭素化反応に適した比率(0.05~2.0)に調整することができる。これにより、固体炭素化反応率を高い水準で維持することができ、固体炭素を高効率で生成することができる。
【0010】
本発明に係る固体炭素化設備において、
前記一酸化炭素生成手段は、
燃焼排ガスに含まれる二酸化炭素を回収する二酸化炭素回収装置と、
前記水素供給手段から供給される水素を含むガス、及び前記二酸化炭素回収装置で回収した二酸化炭素を含むガスが導入され、ケミカルルーピング反応を利用して一酸化炭素を生成するケミカルルーピング反応装置と、
を含むことが好ましい。
(【0011】以降は省略されています)
この特許をJ-PlatPat(特許庁公式サイト)で参照する
関連特許
株式会社タクマ
固体炭素化設備
1日前
三菱重工業株式会社
加熱装置
1日前
日揮触媒化成株式会社
珪酸液およびその製造方法
4日前
デンカ株式会社
窒化ケイ素粉末
3日前
デンカ株式会社
窒化ケイ素粉末
3日前
三菱ケミカル株式会社
槽の洗浄方法及びシリカ粒子の製造方法
9日前
デンカ株式会社
窒化ケイ素粉末の製造方法
8日前
デンカ株式会社
セラミックス粉末の製造方法
8日前
大阪瓦斯株式会社
酸化物複合体
9日前
デンカ株式会社
窒化ホウ素粉末の製造方法
9日前
アサヒプリテック株式会社
濃縮方法
9日前
大阪瓦斯株式会社
水素製造装置及びその運転方法
9日前
アサヒプリテック株式会社
濃縮方法
9日前
トヨタ自動車株式会社
光触媒を用いた水素ガス製造装置
9日前
トヨタ自動車株式会社
光触媒を用いた水素ガス製造装置
9日前
トヨタ自動車株式会社
光触媒を用いた水素ガス製造装置
1日前
株式会社レゾナック
球状アルミナ粉末
8日前
日揮触媒化成株式会社
粉体及びその製造方法、並びに樹脂組成物
8日前
日本電気株式会社
繊維状カーボンナノホーン集合体の接着分離方法
4日前
株式会社大阪チタニウムテクノロジーズ
四塩化チタン製造方法
8日前
デンカ株式会社
窒化ホウ素粉末、及び樹脂成形体
4日前
デンカ株式会社
窒化ホウ素粉末、及び樹脂成形体
4日前
エヌ・イーケムキャット株式会社
ゼオライトの製造方法
3日前
デンカ株式会社
窒化ケイ素粉末、及びその製造方法
8日前
日揮触媒化成株式会社
多孔質の三次粒子を含む粉体、及びその製造方法
4日前
デンカ株式会社
窒化ケイ素粉末、及びその製造方法
8日前
大阪瓦斯株式会社
水素製造装置及び水素製造装置の運転方法
9日前
三菱ケミカル株式会社
建材用金属酸化物層被覆体、及びその製造方法
8日前
株式会社レゾナック
球状無機酸化物粉末の製造方法
9日前
アサヒプリテック株式会社
濃縮方法および浄化方法
9日前
デンカ株式会社
窒化ホウ素粉末、及び、窒化ホウ素粉末の製造方法
9日前
デンカ株式会社
窒化ホウ素粉末、及び、窒化ホウ素粉末の製造方法
9日前
デンカ株式会社
窒化ケイ素粉末、及び窒化ケイ素焼結体の製造方法
8日前
デンカ株式会社
窒化ホウ素粒子、窒化ホウ素粉末、及び、放熱シート
9日前
第一稀元素化学工業株式会社
ジルコニア系複合酸化物
8日前
日鉄ケミカル&マテリアル株式会社
スラリー組成物
8日前
続きを見る
他の特許を見る