TOP
|
特許
|
意匠
|
商標
特許ウォッチ
Twitter
他の特許を見る
公開番号
2025166763
公報種別
公開特許公報(A)
公開日
2025-11-06
出願番号
2024079768
出願日
2024-04-24
発明の名称
一酸化炭素の製造方法
出願人
個人
代理人
主分類
C01B
32/40 20170101AFI20251029BHJP(無機化学)
要約
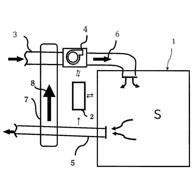
【課題】効率的に、可燃ごみから一酸化炭素を製造できる一酸化炭素製造方法を提供する。
【解決手段】本特許で開示する一酸化炭素製造方法は、図で示した可燃ごみ用焼却炉で給気パイプ3と排気パイプ5の成分及び燃焼室1の温度を測定しながら、高い一酸化炭素濃度を維持するように給気パイプに備えた送風ファン4と可燃ごみの投入量を制御する制御装置を備える。
【選択図】図1.
特許請求の範囲
【請求項1】
ゴミ焼却炉から排出される燃焼ガスから一酸化炭素を製造する方法。
続きを表示(約 66 文字)
【請求項2】
ゴミ焼却炉から排出される燃焼ガスの一部を取り出すことを特徴とする請求項1の一酸化炭素を製造する方法。
発明の詳細な説明
【発明の詳細な説明】
【】
【技術分野】
【0001】
本発明は、廃棄物を焼却する際に発生する燃焼ガスから一酸化炭素に富むガスを製造する方法に関する。
続きを表示(約 1,400 文字)
【背景技術】
【0002】
産業廃棄物や家庭から出る一般廃棄物の内、可燃物はごみ焼却場で一酸化炭素や窒素酸化物のような有害ガスを発生させないように完全燃焼させている。この完全燃焼で発生するガスの主な成分は水蒸気と二酸化炭素である。そして、この二酸化炭素は地球温暖化の原因物質とされている。SDGsの観点から、二酸化炭素を大気に放出させないように種々の努力がなされている。
【0003】
上記努力を大きく分けると
一.二酸化炭素を回収する方法。
二.二酸化炭素を発生させない方法。
の二つの技術分野で考察されている。
一.の方法は火力発電、ボイラーの操業や自動車の塗装焼き付け工程で発生する二酸化炭素を回収し、かつ高圧下圧縮し液体で頑丈な容器に詰めて地下深くに保管する方法である。
二.の方法は大量に二酸化炭素を発生している製鉄業における鉄鉱石の還元剤である石炭の代わりに水素を用いようとする方法である。
【0004】
上記第一.の技術分野において、例えば文献1には、二酸化炭素に直接または二酸化炭素を吸着する誘電材料に間接に高エネルギーの電磁波を与えて、次の反応で二酸化炭素をプラズマにして一酸化炭素を分離し得る方法が提案されている。この反応装置はプラズマリアクターと呼ばれている。
TIFF
2025166763000002.tif
12
66
【0005】
自動車などの内燃機関から一酸化炭素は発生していることが報告されている。例えば文献2には、車種や使用期間にもよるが、三菱ランサーの排気ガスに6~7%含まれていると言う報告がある。
【0006】
上述の一酸化炭素製造方法において、生成するガスは一酸化炭素のほかに原料の二酸化炭素と副生物の酸素がある。更に、可燃ごみから得られる燃焼ガスは一酸化炭素と二酸化炭素の他に窒素、酸素、そして窒素酸化物を含む。目的の一酸化炭素は、窒素や酸素の精製法と同じく蒸留で得られる。シリコンウエハーのエッチング用としての純度の良い一酸化炭素を効率よく取り出す方法として、例えば文献3の方法がある。
【0007】
一酸化炭素の用途は、例えば文献4にはシーワン(C1)の化学と言われる無機物から有機物への変換がある。
CO + 2H
2
+ 触媒 → CH
3
OH
製鉄所の鉄鉱石の還元は石炭から不完全燃焼で発生する一酸化炭素と酸化鉄の酸化還元反応である。
Fe
2
O
3
+ 3CO → 2Fe +3CO
2
【0008】
可燃ごみの焼却炉で発生するダイオキシン類の制御方法として、例えば文献5には燃焼室の温度を800℃以上の温度で保持する事と、排気ガスを速やかに200℃以下に冷却する方法が確立されている。
【先行技術文献】
【特許文献】
【】
文献1
【0009】
特開2024-33508号 公報
【非特許文献】
【】
文献2
【0010】
https://ameblo.jp/itakame3/entry-12780481579.html (2022年)
文献3
(【0011】以降は省略されています)
この特許をJ-PlatPat(特許庁公式サイト)で参照する
関連特許
個人
一酸化炭素の製造方法
20日前
東洋アルミニウム株式会社
水素発生材料
6日前
東洋アルミニウム株式会社
水素発生材料
6日前
株式会社トクヤマ
酸性次亜塩素酸水の製造方法
28日前
住友化学株式会社
無機アルミニウム化合物粉末
27日前
浅田化学工業株式会社
アルミナ水分散液の製造方法
19日前
デンカ株式会社
アルミナ粉末、無機粉末および樹脂組成物
14日前
デンカ株式会社
アルミナ粉末、無機粉末および樹脂組成物
14日前
デンカ株式会社
アルミナ粉末、無機粉末および樹脂組成物
14日前
JFEエンジニアリング株式会社
ドライアイス製造システム
28日前
マイクロ波化学株式会社
水素の製造方法
12日前
デンカ株式会社
無機粉末及びそれを用いた樹脂組成物
19日前
日本特殊陶業株式会社
アンモニアの合成システム
29日前
本田技研工業株式会社
金属シリコンの製造方法
7日前
パナソニックIPマネジメント株式会社
水素生成装置
22日前
トヨタ自動車株式会社
反応容器
6日前
株式会社SUN METALON
金属酸化物の還元体の製造方法
19日前
日本ゼオン株式会社
硫化カルボニルの製造方法
27日前
岩谷産業株式会社
重水素化アンモニアの製造設備および重水素化アンモニアの製造方法
19日前
日本コンクリート工業株式会社
比表面積を低下させた粉体の製造方法及び粉体製造装置
今日
株式会社オキサイド
高純度フッ化アルミニウムの製造方法及びフッ化物単結晶の製造方法
19日前
プライムプラネットエナジー&ソリューションズ株式会社
粒子の製造方法
19日前
積水化学工業株式会社
還元剤およびガスの製造方法
6日前
三菱マテリアル株式会社
硫化リチウム、および、硫化物系固体電解質の製造方法
20日前
ジカンテクノ株式会社
ゴムタイヤ用の添加素材の製造方法
27日前
山川産業株式会社
内部に空間を有する断熱性および軽量性を付与した粒子
12日前
三菱ケミカル株式会社
シリカゾルの製造方法及び研磨方法
12日前
株式会社プロジェニサイトジャパン
炭酸カルシウム粒子及びその製造方法
27日前
個人
グラフェンの扁平面同士が重なり合って接合した該グラフェンの集まりからなるグラフェンフィルムを連続して製造する方法
19日前
プライムプラネットエナジー&ソリューションズ株式会社
複合水酸化物、複合酸化物および製造方法
1か月前
株式会社JCCL
二酸化炭素の回収装置、及び二酸化炭素の回収方法
16日前
日本インシュレーション株式会社
水ガラス製造用組成物およびその製造方法ならびに水ガラスの製造方法
19日前
UBE三菱セメント株式会社
アロフェン含有組成物及びその製造方法、水硬性組成物及びその製造方法、並びに硬化体及びその製造方法
27日前
ティーアイ ホールディングス ベスローテン ヴェンノーツハップ
熱交換器
29日前
アスペン エアロゲルズ,インコーポレイティド
カーボンエアロゲル系電極材料およびその製造方法
6日前
株式会社白石中央研究所
階層構造を有する炭酸カルシウム/アパタイト複合体および階層構造を有する炭酸カルシウム/アパタイト複合体の製造方法
6日前
続きを見る
他の特許を見る