TOP
|
特許
|
意匠
|
商標
特許ウォッチ
Twitter
他の特許を見る
10個以上の画像は省略されています。
公開番号
2025163079
公報種別
公開特許公報(A)
公開日
2025-10-28
出願番号
2025124615,2023532644
出願日
2025-07-25,2020-11-25
発明の名称
熱交換器
出願人
ティーアイ ホールディングス ベスローテン ヴェンノーツハップ
代理人
弁理士法人太陽国際特許事務所
主分類
C01B
3/02 20060101AFI20251021BHJP(無機化学)
要約
【課題】気体分離器の効率を向上させた熱交換器を提供する。
【解決手段】親化合物から第1分子(H
2
)の第1流体及び第2分子(O
2
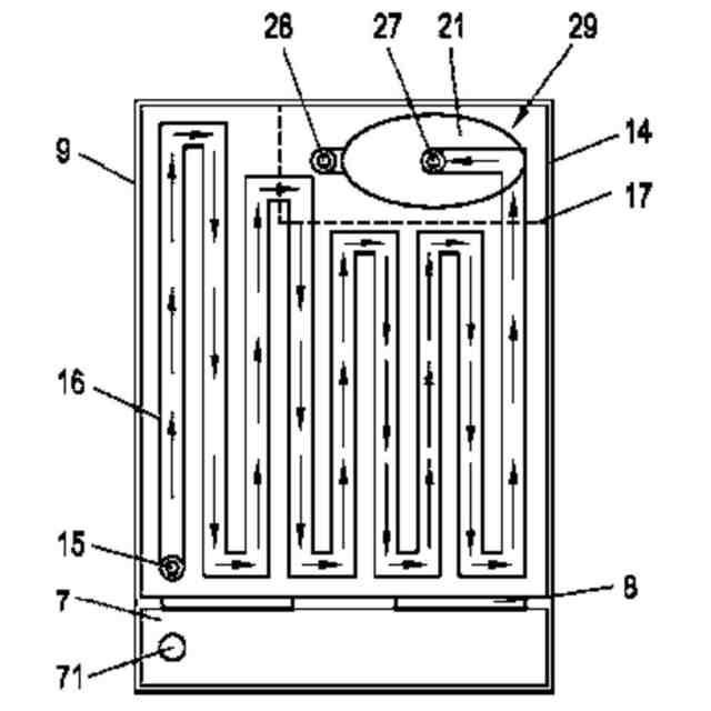
)の第2流体を発生させるための熱交換器であって、第1分子の分子量は、第2分子の分子量よりも小さい。流体を第1分子と第2分子の混合複合物へと分解するための反応装置と、気体分離器装置とを備える熱交換器において、気体分離器装置は、底部区画24にある第1分子(H
2
)及び第2分子(O
2
)の混合複合物用の混合物入口26、並びに頂部区画25にある第1及び第2出口27、28を備え、第1出口27は、実質的に第1分子(H
2
)を提供し、第2出口28は、実質的に第2分子(O
2
)を提供し、気体分離器装置は更に、コイル状経路内で混合物入口26から第1及び第2出口27、28に向かって第1及び第2分子を案内する案内要素6を備え、コイル状経路は、側壁29によって封入されている。
【選択図】図2a
特許請求の範囲
【請求項1】
第1分子量を有する第1分子(H
2
)の第1流体及び第2分子量を有する第2分子(O
2
)の第2流体を親化合物から生成するための熱交換器(1、2)であって、前記第1分子(H
2
)の前記第1分子量は、前記第2分子(O
2
)の前記第2分子量未満であり、前記熱交換器は、
前記親化合物を前記第1分子(H
2
)と前記第2分子(O
2
)の混合複合物に分解する反応装置(1)と、
気体分離器装置(2)であって、前記気体分離器装置(2)は、前記気体分離器装置(2)の底部区画(24)にある前記第1及び第2分子の前記混合複合物用の混合物入口(26)、並びに前記気体分離器装置(2)の頂部区画(25)にある第1及び第2出口(27、28)を備え、前記第1出口(27)は、実質的に前記第1分子(H
2
)を提供し、前記第2出口(28)は、実質的に前記第2分子(O
2
)を提供し、前記気体分離器装置(2)は更に、前記混合物入口(26)から前記第1及び第2出口(27、28)に向かって前記第1及び第2分子(H
2
、O
2
)を案内するための案内要素(6)を備え、コイル状経路は側壁(29)によって封入されている、気体分離器装置(2)と、
を備える、熱交換器(1、2)。
続きを表示(約 910 文字)
【請求項2】
前記コイル状経路の直径は、前記混合物入口(26)から前記出口(27、28)まで増加する、請求項1に記載の熱交換器(1、2)。
【請求項3】
前記コイル状経路の放射方向の形状が楕円であり、特に前記楕円の偏心率が好ましくは1.5よりも大きい、請求項1又は2に記載の熱交換器(1、2)。
【請求項4】
前記反応装置(1)は、液相の前記親化合物用の入口と、気相の前記親化合物用の出口と、を有する気体発生器を備える、請求項1~3のいずれか1項に記載の熱交換器(1、2)。
【請求項5】
前記気体発生器の前記入口は、前記親化合物を収容する流体貯蔵器(7)との流体接続状態にある、請求項4に記載の熱交換器(1、2)。
【請求項6】
コイルが、前記気体分離器装置の前記頂部区画(25)に、又は前記気体分離器装置(2)の出口管の近傍に配列されている、請求項1~4のいずれか1項に記載の熱交換器(1、2)。
【請求項7】
熱電発電機(8)が、流体貯蔵器(7)と前記熱交換器との間に配置され、前記熱電発電機によって生成された電力が使用されて、電磁場を生成するために前記コイルに印加される電荷を発生させる、請求項6に記載の熱交換器(1、2)。
【請求項8】
前記反応装置(1)は、気体相の前記親化合物用の入口、及び超臨界状態の前記親化合物用の出口を有する気体過熱器を更に備える、請求項1~7のいずれか1項に記載の熱交換器(1、2)。
【請求項9】
気体発生器、気体過熱器、及び反応装置は、熱源(4)によって共通に加熱される変換器ユニット内で組み合わされる、請求項7に記載の熱交換器(1、2)。
【請求項10】
気体発生器又は気体過熱器は、前記気体発生器又は前記気体過熱器の入口で受け取られた流体を、前記気体発生器又は前記気体過熱器の出口まで循環させるための接続チューブの格子から構成されている、請求項6~9のいずれか1項に記載の熱交換器(1、2)。
(【請求項11】以降は省略されています)
発明の詳細な説明
【技術分野】
【0001】
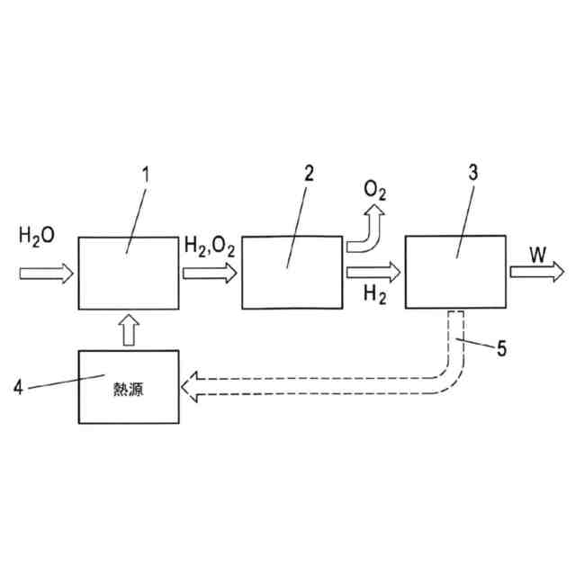
本発明は、第1分子量を有する第1分子の第1流体と、第2分子量を有する第2分子の第2流体とを親化合物から生成するための熱交換器に関し、第1分子の第1分子量は、第2分子の第2分子量未満であり、熱交換器は、流体を第1分子と第2分子の複合物へと分解するための反応装置と、気体分離器装置と、を備える。
続きを表示(約 1,800 文字)
【0002】
本発明は、気体分離器に更に関する。
【0003】
本発明はまた、水素及び酸素気体を生成するための手順に関する。
【背景技術】
【0004】
特許文献1から、放射エネルギ移送反応器が公知であり、該反応器内へと、水分子が、好ましくは蒸気又は水蒸気の形態で導入される。放射エネルギは、水素及び酸素へと解離する分子によって吸収される。分離ステップでは、時変磁場が用いられて、解離された水素及び酸素の回転を生じさせ、磁場による遠心効果による水素及び酸素の分離を促進させる。水素ガスは、別の場所での使用のために貯蔵タンク内に圧送されるか、又は燃料電池に電力供給するために使用されるか、又は反応器に近接する別の設備のために燃焼されてもよい。
【0005】
特許文献2は、気体収集部と、螺旋遠心分離部と、液体収集部とからなる垂直構造の螺旋管複合気液分離器を開示する。螺旋分離部内の螺旋管に入る液体が、遠心加速度を発生させる。遠心力及び重力の共通作用の下で、大きい密度を有する液体が、配管の下側部に凝集し、一方、気体が、螺旋管内の上側孔を通して排出される前に上側部内に凝集する。流体中のより小さい気体含有量又は比較的小さい流体流量の条件下では、流体は、主に気体収集部において分離され、液体は、主に液体収集部内に収集される。
【先行技術文献】
【特許文献】
【0006】
国際公開第2005/005009号
中国特許出願公開200610009659号明細書
【発明の概要】
【発明が解決しようとする課題】
【0007】
気体分離器の効率は、熱交換器の効率にとって重要である。そのため、本発明の目的は、気体分離器の効率を向上させることである。
【課題を解決するための手段】
【0008】
本発明は、第1分子量を有する第1分子の第1流体と、第2分子量を有する第2分子の第2流体とを生成する熱交換器であって、第1分子の第1分子量は、第2分子の第2分子量未満である熱交換器を提案する。熱交換器は、流体を第1分子と第2分子の複合物へと分解する反応装置を備える。熱交換器は、気体分離器装置を更に備え、該気体分離器装置は、気体分離器装置の底部区画に第1及び第2分子の複合物用の混合物入口と、実質的に第1分子を提供する第1出口と、実質的に第2分子を提供する第2出口とを更に備える。第1出口は、気体分離器の頂部区画に位置する。気体分離器装置は、混合物入口からコイル状経路内の第1及び第2出口に向かって第1及び第2分子を案内するための案内要素を更に備え、コイル状経路は、その直径が混合物入口から出口まで増加するようにコイル状経路を形成する側壁によって封入されている。
【0009】
螺旋の使用は、より軽い分子とより重い分子の複合物を強制的に螺旋軌道内へと動かす。この螺旋軌道は、分子の放射方向の動作を強制し、該動作は、分子に遠心力を作用させる。遠心力は、質量及び半径の関数であるので、第2分子、すなわち、より大きい分子量を有する分子は、第2分子よりも小さい分子量を有する第1分子よりも大きい遠心力を受ける。その結果として、より大きい分子量を有する分子は、より小さい分子量を有する分子から分離されるが、その理由は、より大きい分子量を有する分子が、より小さい分子量を有する分子よりも螺旋の仮想軸から放射方向外向きにより強く加速されるからである。螺旋の直径が拡大する、すなわち、直径が混合物入口からの距離と共により大きく増大するにつれて、この効果は、より大きい分子量を有する分子が取ることを可能にされる増大する半径に起因して拡大する直径によって遠心力が増加するので、強化される。
【0010】
より小さい分子量を有する分子が、主に螺旋の仮想軸に沿って留まるので、それらは、混合物入口とは反対側の、螺旋の仮想軸と同軸である出口のところに収集され得る。逆に、より大きい分子量を有する分子は、主に気体分離器の側壁のところにあり、そこから、側壁のところであって、理想的には混合物入口から最も離れたところに位置する出口によって収集され得る。
(【0011】以降は省略されています)
この特許をJ-PlatPat(特許庁公式サイト)で参照する
関連特許
他の特許を見る