TOP
|
特許
|
意匠
|
商標
特許ウォッチ
Twitter
他の特許を見る
公開番号
2025167100
公報種別
公開特許公報(A)
公開日
2025-11-07
出願番号
2024071397
出願日
2024-04-25
発明の名称
高純度フッ化アルミニウムの製造方法及びフッ化物単結晶の製造方法
出願人
株式会社オキサイド
代理人
個人
,
個人
主分類
C01F
7/50 20060101AFI20251030BHJP(無機化学)
要約
【課題】光学材料としての使用に適した高純度フッ化アルミニウムの製造方法を提供すること。
【解決手段】減圧下にて、第一のルツボで昇華させた原料フッ化アルミニウムを、第二のルツボで凝華させる工程を備える、高純度フッ化アルミニウムの製造方法。
【選択図】図1
特許請求の範囲
【請求項1】
減圧下にて、第一のルツボで昇華させた原料フッ化アルミニウムを、第二のルツボで凝華させる工程を備える、高純度フッ化アルミニウムの製造方法。
続きを表示(約 330 文字)
【請求項2】
前記工程を、前記第一のルツボの温度を910~1130℃、前記第二のルツボの温度を570~770℃、圧力条件を5×10
-4
~1×10
3
Paとして実施する、請求項1に記載の製造方法。
【請求項3】
前記原料フッ化アルミニウムの純度が99.9%以上である、請求項1に記載の製造方法。
【請求項4】
請求項1~3のいずれか一項に記載の製造方法により製造された高純度フッ化アルミニウムを含む原料からフッ化物単結晶を製造する工程を備える、フッ化物単結晶の製造方法。
【請求項5】
前記フッ化物単結晶がLiCaAlF
6
である、請求項4に記載の製造方法。
発明の詳細な説明
【技術分野】
【0001】
本発明は高純度フッ化アルミニウムの製造方法及びフッ化物単結晶の製造方法に関する。より具体的には、本発明は気相状態を経て純化させた高純度のフッ化アルミニウム粉末の製造方法と、当該製造方法により製造されたフッ化アルミニウム粉末を原料とする、フッ化物単結晶の製造方法に関するものである。
続きを表示(約 2,000 文字)
【背景技術】
【0002】
光学材料の分野において、フッ化カルシウム(CaF
2
)結晶、フッ化リチウム(LiF)結晶等は、紫外から赤外までの広い範囲の光を透過することが知られており、波長160nm以下の領域においてレンズ等の光学材料として期待されている。そのためこれらのフッ化物単結晶については、それぞれ単体での純化方法が研究されている。
【0003】
一方、フッ化アルミニウム(AlF
3
)もまた紫外線を透過する性質があるものの、一般にAlF
3
単体のフッ化物単結晶を光学材料として使用することは行われていないため、AlF
3
単体での純化方法については充分な検討が進んでいないのが現状である。
例えば特許文献1には、半導体製造装置の構成部材として使用する場合の、高純度のフッ化アルミニウムを製造する方法が開示されている。当該製造方法は、フッ化アルミニウムを、塩化水素を含有する非酸化性雰囲気中で加熱昇華させると共に低温部に再凝集させるものである。
【先行技術文献】
【特許文献】
【0004】
特開平8-091832号公報
【発明の概要】
【発明が解決しようとする課題】
【0005】
しかしながら、上記特許文献1では、半導体製造装置の構成部材との用途に鑑みて、鉄(Fe)、ナトリウム(Na)、カルシウム(Ca)、ニッケル(Ni)、珪素(Si)等の不純物元素(金属不純物)を、フッ化アルミニウムから除去することを目的としているに過ぎない。そのため、同文献に基づき純化されたフッ化アルミニウムを光学材料として使用するには、酸素(O)や水素(H)の除去が充分になされているとは言えない。また、同文献の方法では塩化水素を使用するため、再凝集させたフッ化アルミニウムに塩素(Cl)や水素(H)が混入する虞もある。
【0006】
本発明は上記事情に鑑みてなされたものであり、光学材料としての使用に適した高純度フッ化アルミニウムの製造方法を提供することを目的とする。
また、本発明は、当該高純度フッ化アルミニウムを用いたフッ化物単結晶の製造方法を提供することを目的とする。
【課題を解決するための手段】
【0007】
上述の課題を解決するべく発明者らが鋭意検討した結果、減圧下にて原料フッ化アルミニウムの昇華と凝華を行うことが重要であることを見出し、本発明を成すに至った。
【0008】
すなわち本発明の態様は、例えば以下の[1]~[5]である。
[1] 減圧下にて、第一のルツボで昇華させた原料フッ化アルミニウムを、第二のルツボで凝華させる工程を備える、高純度フッ化アルミニウムの製造方法。
[2] 前記工程を、前記第一のルツボの温度を910~1130℃、前記第二のルツボの温度を570~770℃、圧力条件を5×10
-4
~1×10
3
Paとして実施する、[1]に記載の製造方法。
[3] 前記原料フッ化アルミニウムの純度が99.9%以上である、[1]又は[2]に記載の製造方法。
[4] [1]~[3]のいずれか一項に記載の製造方法により製造された高純度フッ化アルミニウムを含む原料からフッ化物単結晶を製造する工程を備える、フッ化物単結晶の製造方法。
[5] 前記フッ化物単結晶がLiCaAlF
6
である、[4]に記載の製造方法。
【発明の効果】
【0009】
本発明によれば、光学材料としての使用に適した高純度フッ化アルミニウムの製造方法が提供される。本発明は、気相法を用いてフッ化アルミニウム粉末原料単体を純化処理するものであり、本発明によりフッ化アルミニウム粉末原料から酸素(O)や水素(H)を充分に除去することができる。
また、本発明によれば、当該高純度フッ化アルミニウムを用いたフッ化物単結晶の製造方法が提供される。本発明は、上述のとおり酸素不純物や水素不純物が充分に除去されたフッ化アルミニウム粉末原料を用いるため、本発明により高品質なフッ化物単結晶を育成することができる。
【図面の簡単な説明】
【0010】
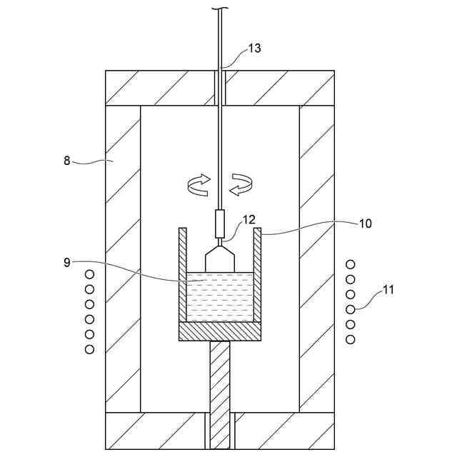
図1は、高純度フッ化アルミニウムの製造装置を示す模式断面図である。
図2は、フッ化物単結晶の製造装置を示す模式断面図である。
図3は、第一のルツボ内の残留物の粉末X線回折チャートを示す。
図4は、第二のルツボ内の回収物の粉末X線回折チャートを示す。
【発明を実施するための形態】
(【0011】以降は省略されています)
この特許をJ-PlatPat(特許庁公式サイト)で参照する
関連特許
株式会社オキサイド
パタン検査装置およびパタン検査方法
20日前
個人
一酸化炭素の製造方法
21日前
株式会社タクマ
固体炭素化設備
1か月前
東洋アルミニウム株式会社
水素発生材料
7日前
東洋アルミニウム株式会社
水素発生材料
7日前
三菱重工業株式会社
加熱装置
1か月前
株式会社トクヤマ
酸性次亜塩素酸水の製造方法
29日前
東ソー株式会社
CHA型ゼオライトの製造方法
1か月前
東ソー株式会社
CHA型ゼオライトの製造方法
1か月前
日揮触媒化成株式会社
珪酸液およびその製造方法
1か月前
デンカ株式会社
窒化ケイ素粉末
1か月前
デンカ株式会社
窒化ケイ素粉末
1か月前
住友化学株式会社
無機アルミニウム化合物粉末
28日前
デンカ株式会社
窒化ケイ素粉末の製造方法
1か月前
三菱ケミカル株式会社
槽の洗浄方法及びシリカ粒子の製造方法
1か月前
デンカ株式会社
アルミナ粉末、無機粉末および樹脂組成物
15日前
デンカ株式会社
セラミックス粉末の製造方法
1か月前
大阪瓦斯株式会社
酸化物複合体
1か月前
デンカ株式会社
アルミナ粉末、無機粉末および樹脂組成物
15日前
デンカ株式会社
アルミナ粉末、無機粉末および樹脂組成物
15日前
浅田化学工業株式会社
アルミナ水分散液の製造方法
20日前
JFEエンジニアリング株式会社
ドライアイス製造システム
29日前
アサヒプリテック株式会社
濃縮方法
1か月前
トヨタ自動車株式会社
光触媒を用いた水素ガス製造装置
1か月前
アサヒプリテック株式会社
濃縮方法
1か月前
大阪瓦斯株式会社
水素製造装置及びその運転方法
1か月前
トヨタ自動車株式会社
光触媒を用いた水素ガス製造装置
1か月前
トヨタ自動車株式会社
光触媒を用いた水素ガス製造装置
1か月前
トヨタ自動車株式会社
光触媒を用いた水素ガス製造装置
1か月前
デンカ株式会社
窒化ホウ素粉末の製造方法
1か月前
日揮触媒化成株式会社
粉体及びその製造方法、並びに樹脂組成物
1か月前
株式会社レゾナック
球状アルミナ粉末
1か月前
日本電気株式会社
繊維状カーボンナノホーン集合体の接着分離方法
1か月前
マイクロ波化学株式会社
水素の製造方法
13日前
東ソー株式会社
アルカリ金属の除去方法
1か月前
エヌ・イーケムキャット株式会社
ゼオライトの製造方法
1か月前
続きを見る
他の特許を見る