TOP
|
特許
|
意匠
|
商標
特許ウォッチ
Twitter
他の特許を見る
公開番号
2025145049
公報種別
公開特許公報(A)
公開日
2025-10-03
出願番号
2024045024
出願日
2024-03-21
発明の名称
重荷重タイヤ
出願人
横浜ゴム株式会社
代理人
個人
主分類
C08L
21/00 20060101AFI20250926BHJP(有機高分子化合物;その製造または化学的加工;それに基づく組成物)
要約
【課題】重荷重条件での走行を伴う重荷重タイヤや、ダンプ等のオフロード走行主体の建築車両用タイヤは、タイヤサイズが大きいことから通常1~10時間の長時間加硫を行っている。しかし、長時間加硫により発熱性や他の物性が悪化するという問題点がある。
【解決手段】ジエン系ゴムを含むゴム成分およびカーボンブラックを含有し、前記カーボンブラック全体に対し、アセチレンブラックが1~50質量%を占め、前記アセチレンブラックの窒素吸着比表面積(N
2
SA)が60m
2
/g以上であり、かつトレッドゲージGaが21.5mm以上である重荷重タイヤによって上記課題を解決した。
【選択図】図1
特許請求の範囲
【請求項1】
タイヤ周方向に延在して環状をなすトレッド部と、前記トレッド部の両側に配置された一対のサイドウォール部と、前記一対のサイドウォール部のタイヤ径方向内側に配置された一対のビード部と、前記一対のビード部間に装架されたカーカス層とを有し、前記トレッド部が、前記トレッド部の踏面を構成するキャップトレッドを備えた重荷重タイヤにおいて、
前記キャップトレッドを構成する組成物は、ジエン系ゴムを含むゴム成分およびカーボンブラックを含有し、
前記カーボンブラック全体に対し、アセチレンブラックが1~50質量%を占め、
前記アセチレンブラックの窒素吸着比表面積(N
2
SA)が60m
2
/g以上であり、かつ
前記重荷重タイヤのトレッドゲージが21.5mm以上である
ことを特徴とする重荷重タイヤ。
続きを表示(約 190 文字)
【請求項2】
前記ゴム成分100質量部に対し、前記カーボンブラックの配合量が10~80質量部であることを特徴とする請求項1に記載の重荷重タイヤ。
【請求項3】
前記アセチレンブラックを除く前記カーボンブラックの窒素吸着比表面積(N
2
SA)が50~135m
2
/gであることを特徴とする請求項1に記載の重荷重タイヤ。
発明の詳細な説明
【技術分野】
【0001】
本発明は、重荷重タイヤに関するものであり、詳しくは、発熱性、引張強度および耐摩耗性等の物性を維持しつつ、生産性に優れる重荷重タイヤに関するものである。
続きを表示(約 1,400 文字)
【背景技術】
【0002】
重荷重条件での走行を伴う重荷重タイヤや、ダンプ等のオフロード走行主体の建築車両用タイヤの製造の際には、タイヤサイズが大きいことから通常1~10時間の長時間加硫を行っている。しかし、長時間加硫により発熱性や他の物性が悪化するという問題点がある。この問題を解決するために例えば低温で加硫する等の手段が試みられているが、加硫時間がさらに長くなるため生産性が低下するという別の課題が生じてしまう。
【0003】
なお、タイヤ用ゴム組成物に導電性カーボンブラックを配合する技術は例えば下記特許文献1~3に開示があるが、発熱性、引張強度および耐摩耗性等の物性を維持しつつ、タイヤサイズの大きい重荷重タイヤの加硫時間を短くして生産性を向上させようとする技術思想は何ら開示されていない。
【先行技術文献】
【特許文献】
【0004】
特開平8-188672号公報
特開2005-2206号公報
特許第5635291号公報
【発明の概要】
【発明が解決しようとする課題】
【0005】
したがって本発明の目的は、発熱性、引張強度および耐摩耗性等の物性を維持しつつ、生産性に優れる重荷重タイヤを提供することにある。
【課題を解決するための手段】
【0006】
本発明は、タイヤ周方向に延在して環状をなすトレッド部と、前記トレッド部の両側に配置された一対のサイドウォール部と、前記一対のサイドウォール部のタイヤ径方向内側に配置された一対のビード部と、前記一対のビード部間に装架されたカーカス層とを有し、前記トレッド部が、前記トレッド部の踏面を構成するキャップトレッドを備えた重荷重タイヤにおいて、前記キャップトレッドを構成する組成物は、ジエン系ゴムを含むゴム成分およびカーボンブラックを含有し、前記カーボンブラック全体に対し、アセチレンブラックが1~50質量%を占め、前記アセチレンブラックの窒素吸着比表面積(N
2
SA)が60m
2
/g以上であり、かつ前記重荷重タイヤのトレッドゲージが21.5mm以上であることを特徴とする重荷重タイヤを提供するものである。
【発明の効果】
【0007】
本発明によれば、発熱性、引張強度および耐摩耗性等の物性を維持しつつ、生産性に優れる重荷重タイヤを提供することができる。
【0008】
本発明はキャップトレッドを構成する組成物において、カーボンブラックの一部を熱拡散率の高いアセチレンブラックに置換することにより、サイズの大きい重荷重タイヤ自体の熱拡散率を上げて加硫時間を短縮しタイヤの生産性を向上させるとともに、アセチレンブラックの置換量並びに窒素吸着比表面積(N
2
SA)を特定化することによって発熱性、引張強度および耐摩耗性等の物性を実用上十分なレベルに維持することを可能にした。
【図面の簡単な説明】
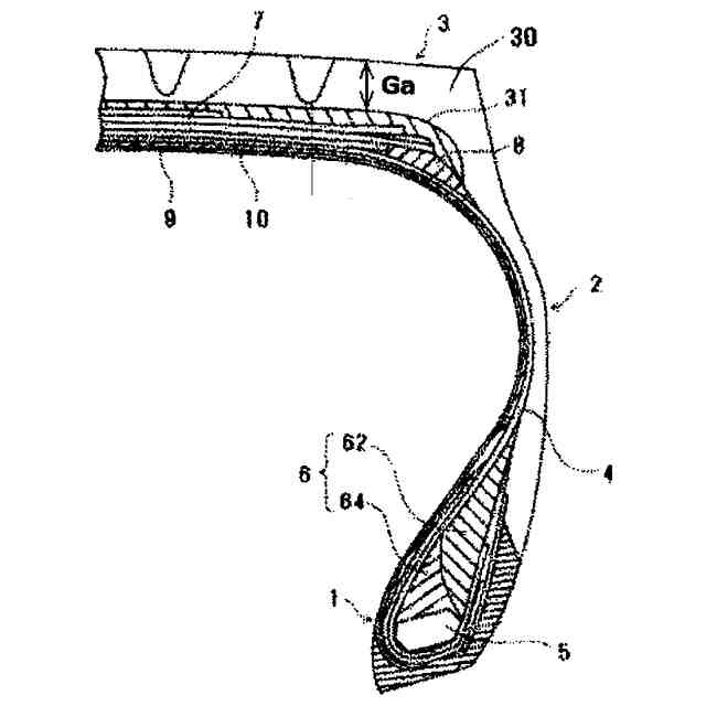
【0009】
重荷重タイヤの子午線断面図である。
【発明を実施するための形態】
【0010】
以下、本発明をさらに詳細に説明する。まず、キャップトレッドを構成する組成物について説明する。
(【0011】以降は省略されています)
この特許をJ-PlatPat(特許庁公式サイト)で参照する
関連特許
横浜ゴム株式会社
タイヤ
1か月前
横浜ゴム株式会社
タイヤ
1か月前
横浜ゴム株式会社
タイヤ
1か月前
横浜ゴム株式会社
タイヤ
1か月前
横浜ゴム株式会社
タイヤ
1か月前
横浜ゴム株式会社
タイヤ
1か月前
横浜ゴム株式会社
タイヤ
1か月前
横浜ゴム株式会社
タイヤ
1か月前
横浜ゴム株式会社
タイヤ
1か月前
横浜ゴム株式会社
タイヤ
1か月前
横浜ゴム株式会社
タイヤ
25日前
横浜ゴム株式会社
タイヤ
25日前
横浜ゴム株式会社
タイヤ
24日前
横浜ゴム株式会社
タイヤ
25日前
横浜ゴム株式会社
タイヤ
1か月前
横浜ゴム株式会社
音響材
9日前
横浜ゴム株式会社
タイヤ
1か月前
横浜ゴム株式会社
タイヤ
16日前
横浜ゴム株式会社
タイヤ
16日前
横浜ゴム株式会社
タイヤ
1か月前
横浜ゴム株式会社
タイヤ
1か月前
横浜ゴム株式会社
重荷重タイヤ
1か月前
横浜ゴム株式会社
多層空洞音響材
16日前
横浜ゴム株式会社
空気入りタイヤ
1か月前
横浜ゴム株式会社
空気入りタイヤ
1か月前
横浜ゴム株式会社
空気入りタイヤ
27日前
横浜ゴム株式会社
空気入りタイヤ
1か月前
横浜ゴム株式会社
空気入りタイヤ
16日前
横浜ゴム株式会社
空気入りタイヤ
16日前
横浜ゴム株式会社
空気入りタイヤ
26日前
横浜ゴム株式会社
空気入りタイヤ
27日前
横浜ゴム株式会社
タイヤの製造方法
1か月前
横浜ゴム株式会社
タイヤ用ゴム組成物
9日前
横浜ゴム株式会社
熱可塑性樹脂組成物
1か月前
横浜ゴム株式会社
ゴム組成物の製造方法
19日前
横浜ゴム株式会社
タイヤ及びその製造方法
24日前
続きを見る
他の特許を見る