TOP
|
特許
|
意匠
|
商標
特許ウォッチ
Twitter
他の特許を見る
公開番号
2025150148
公報種別
公開特許公報(A)
公開日
2025-10-09
出願番号
2024050874
出願日
2024-03-27
発明の名称
タイヤ
出願人
横浜ゴム株式会社
代理人
清流国際弁理士法人
,
個人
,
個人
主分類
B60C
13/00 20060101AFI20251002BHJP(車両一般)
要約
【課題】サイドウォール部の外表面に複数の表示物を備え、この表示物の表面を研磨する工程を経て製造されるタイヤにおいて、複数の表示物の研磨後の高さを均一にし、その外観を良好にすることを可能にしたタイヤを提供する。
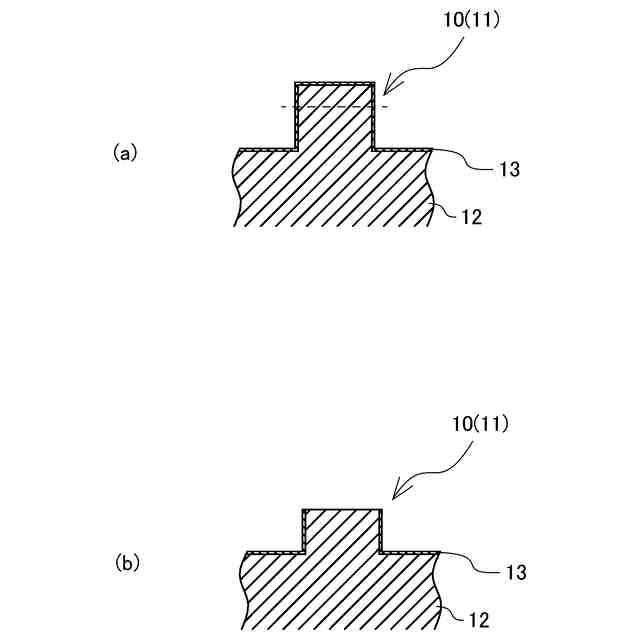
【解決手段】サイドウォール部2の外表面に複数の表示物10を備え、表示物10が描写する文字、図形、または記号の少なくとも輪郭部を構成する凸部11の頂面の少なくとも一部がサイドウォール部2の一部に埋設された異色ゴムを露出させることでサイドウォール部2の外表面と異なる色を有するタイヤにおいて、タイヤ周方向に隣り合う一連の表示物10の群を文字列20と定義したとき、タイヤ周方向に隣り合う表示物10の間をサイドウォール部2の外表面よりも隆起した第一突出面21で構成し、第一突出面21の隆起高さh1を表示物10の隆起高さHの0.1倍~0.3倍にする。
【選択図】図4
特許請求の範囲
【請求項1】
タイヤ周方向に延在して環状をなすトレッド部と、該トレッド部の両側に配置された一対のサイドウォール部とを備え、前記サイドウォール部の外表面に、前記サイドウォール部の外表面から隆起した凸部の頂面の形状によって文字、図形、または記号の少なくとも輪郭部を描写する複数の表示物が形成され、前記複数の表示物のそれぞれを構成する前記凸部の頂面の少なくとも一部が前記サイドウォール部の一部に埋設された異色ゴムを露出させることで前記サイドウォール部の外表面と異なる色を有するタイヤにおいて、
前記複数の表示物のうち互いに隣り合う表示物どうしの周方向の間隔が20mm未満の一連の表示物の群を文字列と定義したとき、
タイヤ周方向に隣り合う前記表示物の間が、前記サイドウォール部の前記表示物を備えない部分の外表面よりも隆起した第一突出面で構成され、
前記第一突出面の隆起高さh1が前記表示物の隆起高さHの0.1倍~0.3倍であることを特徴とするタイヤ。
続きを表示(約 660 文字)
【請求項2】
前記表示物が前記凸部に囲まれた凹部を含むことで前記凸部が前記輪郭部を構成し、前記凹部は前記サイドウォール部の前記表示物を備えない部分の外表面よりも隆起した第二突出面で構成され、
前記第二突出面の隆起高さh2が前記表示物の隆起高さHの0.1倍~0.3倍であることを特徴とする請求項1に記載のタイヤ。
【請求項3】
前記第一突出面の隆起高さh1と前記第二突出面の隆起高さh2とがh1≦h2の関係を満たすことを特徴とする請求項2に記載のタイヤ。
【請求項4】
前記凸部のうち前記第一突出面側に隣接する部分を隣接部と定義し、前記表示物のタイヤ径方向に沿った長さをLとしたとき、前記表示物のタイヤ径方向中心位置からタイヤ径方向両側に前記長さLの60%以上の範囲において、前記隣接部の壁面が前記隣接部の頂面の法線方向に対して成す傾斜角度Y1が10°~30°の範囲であることを特徴とする請求項1~3のいずれかに記載のタイヤ。
【請求項5】
前記凸部のうち前記第一突出面側に隣接する部分を隣接部と定義し、前記表示物のタイヤ径方向に沿った長さをLとしたとき、前記表示物のタイヤ径方向中心位置からタイヤ径方向両側に前記長さLの60%以上の範囲において、前記隣接部の壁面は前記第一突出面と断面円弧状の接続部を介して滑らかに接続しており、前記隣接部の前記接続部の曲率半径R1が2mm~4mmの範囲であることを特徴とする請求項1~3のいずれかに記載のタイヤ。
発明の詳細な説明
【技術分野】
【0001】
本発明は、サイドウォール部の外表面に文字、図形、または記号を描写する表示物を備えたタイヤに関する。
続きを表示(約 2,400 文字)
【背景技術】
【0002】
タイヤのサイドウォール部の外表面には、メーカー名やブランド名などを表示するための表示物が形成される場合がある。特に、この表示物の視認性や装飾性を向上する目的で、サイドウォール部の色(一般的に黒色)と異なる色の異色ゴム(例えば白色ゴム)で表示物を形成することが行われている(所謂「ホワイトレター」)。このようなタイヤを製造する際には、グリーンタイヤのサイドウォール部に対応する部分の少なくとも一部(表示物に対応する部分)を異色ゴム層(白色ゴム層)とその異色ゴム層を覆うカバーゴム層(黒色ゴム層)とが積層した構造にし、そのグリーンタイヤを加硫し、表示物をサイドウォール部の表面から隆起した凸部として形成した後に、凸部の表面(カバーゴム層)を研磨して除去することにより白色ゴム層を露出させて、異色ゴムからなる表示物を形成する(例えば特許文献1を参照)。
【0003】
このようなタイヤにおいて、表示物(凸部)の表面を研磨する工程は、専用の研磨機(バフマシーン)等により行われる。この装置は、架台に装着されて回転するタイヤのサイド部に研磨体(砥石など)を回転させながら当てて、予めタイヤの種類毎に設定された間隔だけ、タイヤのサイドウォール部(表示物)を肉厚方向(凸部の隆起高さ方向)に研磨し、埋設された異色ゴムをタイヤ表面に露出させるように研磨する(例えば特許文献2を参照)。このような装置で研磨工程(バフ工程)を行う場合、特に複数の表示物からなる文字列が研磨(バフ)の対象であると、文字列に含まれる個々の表示物の研磨量(表示物の隆起高さ)を均一にすることが難しく、それに起因して研磨後の表示物(文字列)の外観が悪化する虞があった。
【先行技術文献】
【特許文献】
【0004】
特開2018‐114732号公報
特開平05‐277925号公報
【発明の概要】
【発明が解決しようとする課題】
【0005】
本発明の目的は、サイドウォール部の外表面に文字、図形、または記号を描写する複数の表示物を備え、これら表示物の表面を研磨する工程を経て製造されるタイヤにおいて、複数の表示物の研磨後の隆起高さを均一にし、その外観を良好にすることを可能にしたタイヤを提供することにある。
【課題を解決するための手段】
【0006】
上記目的を達成するための本発明のタイヤは、タイヤ周方向に延在して環状をなすトレッド部と、該トレッド部の両側に配置された一対のサイドウォール部とを備え、前記サイドウォール部の外表面に、前記サイドウォール部の外表面から隆起した凸部の頂面の形状によって文字、図形、または記号の少なくとも輪郭部を描写する複数の表示物が形成され、前記複数の表示物のそれぞれを構成する前記凸部の頂面の少なくとも一部が前記サイドウォール部の一部に埋設された異色ゴムを露出させることで前記サイドウォール部の外表面と異なる色を有するタイヤにおいて、前記複数の表示物のうち互いに隣り合う表示物どうしの周方向の間隔が20mm未満の一連の表示物の群を文字列と定義したとき、タイヤ周方向に隣り合う前記表示物の間が、前記サイドウォール部の前記表示物を備えない部分の外表面よりも隆起した第一突出面で構成され、前記第一突出面の隆起高さh1が前記表示物の隆起高さHの0.1倍~0.3倍であることを特徴とする。
【発明の効果】
【0007】
本発明者は、表示物を構成する凸部の表面を研磨する工程を経て製造されるタイヤにおける表示物の外観不良について鋭意研究した結果、凸部の剛性が低いことによりバフ時に凸部が倒れ込み、その表面(文字、図形、または記号を描写する表示物の頂面)が均一に研磨(バフ)されないことや、特に研磨対象が複数の表示物からなる文字列である場合に凸部どうしの剛性の差により凸部間で研磨後の隆起高さが均一にならない傾向があることを知見した。本発明は、この知見に基づくものであり、タイヤ周方向に隣り合う表示物の間を、サイドウォール部の表示物を備えない部分の外表面よりも隆起した第一突出面で構成し、第一突出面の隆起高さh1を表示物の隆起高さHの0.1倍~0.3倍にすることで、個々の凸部の剛性を高め、且つ凸部間の剛性差を抑制し、研磨(バフ)の際の凸部の倒れ込みを防止でき、これにより複数の表示物の研磨後の隆起高さを均一にし、その外観を良好にすることができる。
【0008】
尚、本発明では、複数の表示物のうち互いに隣り合う表示物どうしの周方向の間隔が20mm未満の一連の表示物の群を便宜的に「文字列」と定義しているが、表示物は、文字、図形、または記号を描写するものであるので、文字の群、図形の群、記号の群、あるいはこれらを組み合わせた表示物の群のいずれも「文字列」に該当する。
【0009】
本発明においては、表示物が凸部に囲まれた凹部を含むことで凸部が輪郭部を構成し、この凹部はサイドウォール部の表示物を備えない部分の外表面よりも隆起した第二突出面で構成され、第二突出面の隆起高さh2が表示物の隆起高さHの0.1倍~0.3倍であることが好ましい。これにより個々の凸部の剛性を高めることができ、複数の表示物の研磨後の隆起高さを均一にし、その外観を良好にするには有利になる。
【0010】
本発明においては、第一突出面の隆起高さh1と第二突出面の隆起高さh2とがh1≦h2の関係を満たすことが好ましい。これにより凸部の剛性をバランスよく高めることができるので、複数の表示物の研磨後の隆起高さを均一にし、その外観を良好にするには有利になる。
(【0011】以降は省略されています)
この特許をJ-PlatPat(特許庁公式サイト)で参照する
関連特許
横浜ゴム株式会社
タイヤ
29日前
横浜ゴム株式会社
タイヤ
29日前
横浜ゴム株式会社
タイヤ
3日前
横浜ゴム株式会社
タイヤ
19日前
横浜ゴム株式会社
タイヤ
19日前
横浜ゴム株式会社
タイヤ
19日前
横浜ゴム株式会社
タイヤ
29日前
横浜ゴム株式会社
タイヤ
29日前
横浜ゴム株式会社
タイヤ
1か月前
横浜ゴム株式会社
タイヤ
1か月前
横浜ゴム株式会社
タイヤ
15日前
横浜ゴム株式会社
タイヤ
19日前
横浜ゴム株式会社
タイヤ
15日前
横浜ゴム株式会社
タイヤ
1か月前
横浜ゴム株式会社
タイヤ
9日前
横浜ゴム株式会社
タイヤ
1か月前
横浜ゴム株式会社
タイヤ
9日前
横浜ゴム株式会社
タイヤ
8日前
横浜ゴム株式会社
タイヤ
8日前
横浜ゴム株式会社
タイヤ
1か月前
横浜ゴム株式会社
タイヤ
29日前
横浜ゴム株式会社
重荷重タイヤ
15日前
横浜ゴム株式会社
空気入りタイヤ
16日前
横浜ゴム株式会社
空気入りタイヤ
19日前
横浜ゴム株式会社
タイヤの製造方法
8日前
横浜ゴム株式会社
熱可塑性樹脂組成物
8日前
横浜ゴム株式会社
更生タイヤ及びその製造方法
19日前
横浜ゴム株式会社
積層体、およびその製造方法
9日前
横浜ゴム株式会社
高分子微粒子集合体の製造法
1か月前
横浜ゴム株式会社
化学計算モデル分子の作成方法
23日前
横浜ゴム株式会社
ホース用ゴム組成物及びホース
3日前
横浜ゴム株式会社
センサユニットを備えるタイヤ
15日前
横浜ゴム株式会社
センサユニットを備えるタイヤ
15日前
横浜ゴム株式会社
架橋ゴム分子鎖の配向評価方法
10日前
横浜ゴム株式会社
センサユニットを備えるタイヤ
15日前
横浜ゴム株式会社
タイヤ用ゴム組成物およびタイヤ
1か月前
続きを見る
他の特許を見る