TOP
|
特許
|
意匠
|
商標
特許ウォッチ
Twitter
他の特許を見る
公開番号
2025143907
公報種別
公開特許公報(A)
公開日
2025-10-02
出願番号
2024043414
出願日
2024-03-19
発明の名称
空気入りタイヤ
出願人
横浜ゴム株式会社
代理人
清流国際弁理士法人
,
個人
,
個人
主分類
B60C
19/00 20060101AFI20250925BHJP(車両一般)
要約
【課題】トランスポンダの通信性を改善しながら、タイヤの耐クラック性を改善することを可能にした空気入りタイヤを提供する。
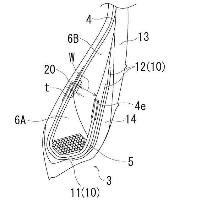
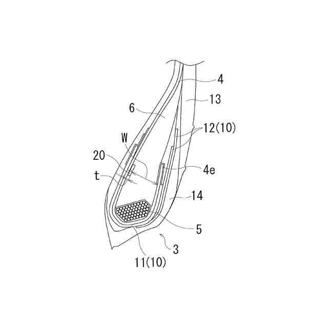
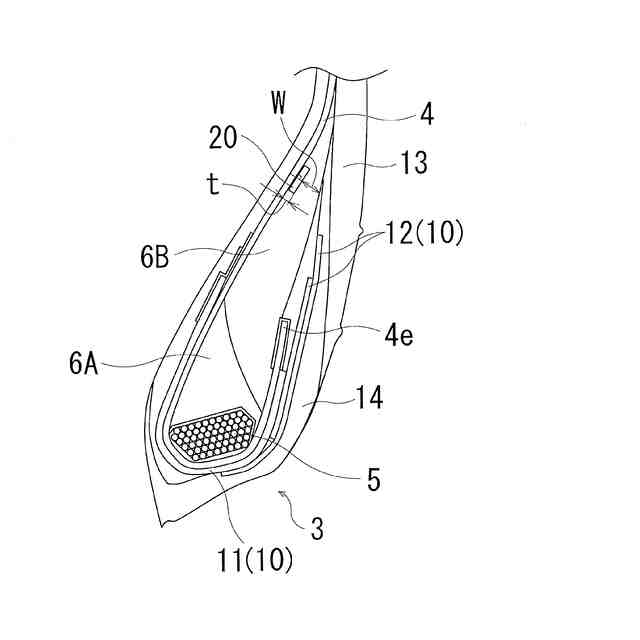
【解決手段】タイヤ周方向に延在して環状をなすトレッド部1と、トレッド部1の両側に配置された一対のサイドウォール部2と、これらサイドウォール部2のタイヤ径方向内側に配置された一対のビード部3とを備え、各ビード部3のビードコア5の外周上にビードフィラー6が配置され、一対のビード部3間にカーカス層4が装架され、カーカス層4がビードコア5の廻りにタイヤ内側から外側へ巻き上げられた構造を有する空気入りタイヤにおいて、ビードフィラー6とカーカス層4との間にトランスポンダ20が埋設され、トランスポンダ20の外側面からビードフィラー6の外側面までのカーカス層4の法線方向に測定される距離Wが2mm~20mmの範囲にある。
【選択図】図1
特許請求の範囲
【請求項1】
タイヤ周方向に延在して環状をなすトレッド部と、このトレッド部の両側に配置された一対のサイドウォール部と、これらサイドウォール部のタイヤ径方向内側に配置された一対のビード部とを備え、各ビード部のビードコアの外周上にビードフィラーが配置され、前記一対のビード部間にカーカス層が装架され、このカーカス層が前記ビードコアの廻りにタイヤ内側から外側へ巻き上げられた構造を有する空気入りタイヤにおいて、
前記ビードフィラーと前記カーカス層との間にトランスポンダが埋設され、前記トランスポンダの外側面から前記ビードフィラーの外側面までの前記カーカス層の法線方向に測定される距離Wが2mm~20mmの範囲にあることを特徴とする空気入りタイヤ。
続きを表示(約 860 文字)
【請求項2】
前記トランスポンダの最大厚さt[mm]と前記距離Wとが1≦W/t≦10の関係を満たすことを特徴とする請求項1に記載の空気入りタイヤ。
【請求項3】
前記ビードフィラーが、前記ビードコアのタイヤ径方向外側に隣接して配置された第1のビードフィラーと、この第1のビードフィラーのタイヤ径方向外側に隣接して配置された第2のビードフィラーから構成され、前記トランスポンダが前記第2のビードフィラーと前記カーカス層との間に配置されていることを特徴とする請求項1又は2に記載の空気入りタイヤ。
【請求項4】
前記第2のビードフィラーの硬度が前記第1のビードフィラーの硬度よりも低く、かつ55~65の範囲にあることを特徴とする請求項3に記載の空気入りタイヤ。
【請求項5】
前記カーカス層を構成するカーカスコードが金属コードであることを特徴とする請求項1又は2に記載の空気入りタイヤ。
【請求項6】
前記ビード部における前記カーカス層の外側に金属補強層が配置されていることを特徴とする請求項1又は2に記載の空気入りタイヤ。
【請求項7】
前記金属補強層が前記ビードコアの廻りにタイヤ内側から外側へ巻き上げられており、前記トランスポンダが前記金属補強層の巻き上げ端部よりタイヤ径方向外側に配置されていることを特徴とする請求項6に記載の空気入りタイヤ。
【請求項8】
前記トランスポンダが前記カーカス層の巻き上げ端部よりタイヤ径方向外側に配置されていることを特徴とする請求項1又は2に記載の空気入りタイヤ。
【請求項9】
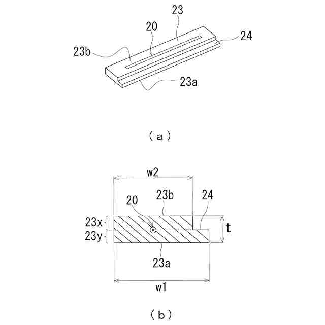
前記トランスポンダの全体がゴムからなる被覆層により被覆されており、前記被覆層における前記カーカス層に接する側の幅w1と前記被覆層における前記ビードフィラーに接する側の幅w2の差の絶対値|w1-w2|が0.2mm以上であることを特徴とする請求項1又は2に記載の空気入りタイヤ。
発明の詳細な説明
【技術分野】
【0001】
本発明は、トランスポンダが埋設された空気入りタイヤに関し、更に詳しくは、トランスポンダの通信性を改善しながら、タイヤの耐クラック性を改善することを可能にした空気入りタイヤに関する。
続きを表示(約 1,900 文字)
【背景技術】
【0002】
空気入りタイヤにおいて、RFIDタグ(トランスポンダ)をタイヤ内に埋設することが提案されている(例えば、特許文献1参照)。トランスポンダをグリーンタイヤの内部に埋設して加硫する際、そのトランスポンダの埋設位置によっては加硫時にゴム流れ不良が生じ、それにより、加硫後のタイヤ表面にクラックが生じ易くなるという問題がある。このようなクラックの発生は、タイヤのゴムゲージが過度に薄い箇所にトランスポンダを埋設した場合に顕著である。逆に、タイヤのゴムゲージが過度に厚い箇所にトランスポンダを埋設した場合には、トランスポンダの通信性が悪化するという問題がある。
【先行技術文献】
【特許文献】
【0003】
特開平7-137510号公報
【発明の概要】
【発明が解決しようとする課題】
【0004】
本発明の目的は、トランスポンダの通信性を改善しながら、タイヤの耐クラック性を改善することを可能にした空気入りタイヤを提供することにある。
【課題を解決するための手段】
【0005】
上記目的を達成するための本発明の空気入りタイヤは、タイヤ周方向に延在して環状をなすトレッド部と、このトレッド部の両側に配置された一対のサイドウォール部と、これらサイドウォール部のタイヤ径方向内側に配置された一対のビード部とを備え、各ビード部のビードコアの外周上にビードフィラーが配置され、前記一対のビード部間にカーカス層が装架され、このカーカス層が前記ビードコアの廻りにタイヤ内側から外側へ巻き上げられた構造を有する空気入りタイヤにおいて、前記ビードフィラーと前記カーカス層との間にトランスポンダが埋設され、前記トランスポンダの外側面から前記ビードフィラーの外側面までの前記カーカス層の法線方向に測定される距離Wが2mm~20mmの範囲にあることを特徴とするものである。
【発明の効果】
【0006】
本発明では、ビードフィラーとカーカス層との間にトランスポンダが埋設されている。一般的なトランスポンダの厚さは1mm~2mm程度であるが、ビードフィラーとカーカス層との間にトランスポンダが埋設するにあたって、上記程度のゴムゲージを確保できない位置にトランスポンダを配置すると、トランスポンダの厚さによりタイヤ加硫時にゴム流れ不良が生じてしまう。これに対して、本発明では、トランスポンダの外側面からビードフィラーの外側面までの距離Wを2mm~20mmの範囲に設定しているので、加硫時のゴム流れ不良が生じない程度にゴムゲージを確保しつつ、ゴムゲージが過度に厚くならないようにトランスポンダを配置することができる。これにより、トランスポンダの通信性を改善しながら、タイヤの耐クラック性を改善することができる。
【0007】
本発明の空気入りタイヤにおいて、トランスポンダの最大厚さtと距離Wとは1≦W/t≦10の関係を満たすことが好ましい。これにより、タイヤ加硫時におけるゴム流れ不良を抑制することができるため、耐クラック性を効果的に改善することができる。
【0008】
ビードフィラーは、ビードコアのタイヤ径方向外側に隣接して配置された第1のビードフィラーと、この第1のビードフィラーのタイヤ径方向外側に隣接して配置された第2のビードフィラーから構成され、トランスポンダは第2のビードフィラーとカーカス層との間に配置されていることが好ましい。これにより、トランスポンダを第1のビードフィラーに配置した場合よりもサイドウォール部の外表面に近づくので、トランスポンダの通信性を効果的に改善することができる。
【0009】
第2のビードフィラーの硬度は第1のビードフィラーの硬度よりも低く、かつ55~65の範囲にあることが好ましい。トランスポンダが埋設されている第2のビードフィラーが相対的に軟らかいゴムであることにより、第2のビードフィラーが衝撃を吸収し、トランスポンダに衝撃が伝わりにくくなる。これにより、トランスポンダの損傷を防止することができる。
【0010】
カーカス層を構成するカーカスコードは金属コードであることが好ましい。これにより、カーカスコードの曲げ剛性が高くなるので、加硫時においてグリーンタイヤが金型に接触する際にカーカスコードが屈曲しにくくなるため、耐クラック性を効果的に改善することができる。
(【0011】以降は省略されています)
この特許をJ-PlatPat(特許庁公式サイト)で参照する
関連特許
横浜ゴム株式会社
タイヤ
21日前
横浜ゴム株式会社
タイヤ
1か月前
横浜ゴム株式会社
タイヤ
11日前
横浜ゴム株式会社
タイヤ
1か月前
横浜ゴム株式会社
タイヤ
1か月前
横浜ゴム株式会社
タイヤ
1か月前
横浜ゴム株式会社
タイヤ
21日前
横浜ゴム株式会社
タイヤ
21日前
横浜ゴム株式会社
タイヤ
21日前
横浜ゴム株式会社
タイヤ
21日前
横浜ゴム株式会社
タイヤ
1か月前
横浜ゴム株式会社
タイヤ
11日前
横浜ゴム株式会社
タイヤ
1か月前
横浜ゴム株式会社
タイヤ
1か月前
横浜ゴム株式会社
タイヤ
1か月前
横浜ゴム株式会社
タイヤ
1か月前
横浜ゴム株式会社
タイヤ
1か月前
横浜ゴム株式会社
タイヤ
1か月前
横浜ゴム株式会社
タイヤ
1か月前
横浜ゴム株式会社
タイヤ
1か月前
横浜ゴム株式会社
タイヤ
11日前
横浜ゴム株式会社
タイヤ
11日前
横浜ゴム株式会社
タイヤ
1か月前
横浜ゴム株式会社
音響窓
2か月前
横浜ゴム株式会社
タイヤ
今日
横浜ゴム株式会社
タイヤ
今日
横浜ゴム株式会社
タイヤ
1日前
横浜ゴム株式会社
タイヤ
1日前
横浜ゴム株式会社
タイヤ
7日前
横浜ゴム株式会社
タイヤ
7日前
横浜ゴム株式会社
重荷重タイヤ
7日前
横浜ゴム株式会社
空気入りタイヤ
8日前
横浜ゴム株式会社
空気入りタイヤ
1か月前
横浜ゴム株式会社
空気入りタイヤ
1か月前
横浜ゴム株式会社
空気入りタイヤ
11日前
横浜ゴム株式会社
空気入りタイヤ
1か月前
続きを見る
他の特許を見る