TOP
|
特許
|
意匠
|
商標
特許ウォッチ
Twitter
他の特許を見る
10個以上の画像は省略されています。
公開番号
2025132538
公報種別
公開特許公報(A)
公開日
2025-09-10
出願番号
2024030178
出願日
2024-02-29
発明の名称
タイヤ
出願人
横浜ゴム株式会社
代理人
弁理士法人酒井国際特許事務所
主分類
B60C
13/00 20060101AFI20250903BHJP(車両一般)
要約
【課題】パターン部の視認性を向上すること。
【解決手段】タイヤ表面に、空間充填曲線に基づき配置されて1本に連続したリッジ7Aからなるパターン部4を備える。
【選択図】図10
特許請求の範囲
【請求項1】
タイヤ表面に、空間充填曲線に基づき配置されて1本に連続したリッジからなるパターン部を備える、
タイヤ。
続きを表示(約 370 文字)
【請求項2】
前記リッジは、ペアノ曲線またはヒルベルト曲線に基づき配置される、
請求項1に記載のタイヤ。
【請求項3】
前記パターン部は、
前記リッジの幅が0.03[mm]以上0.5[mm]以下であり、隣り合って並ぶ前記リッジのピッチが0.5[mm]以下である、
請求項1に記載のタイヤ。
【請求項4】
前記パターン部は、
凹んだ標章部の凹部の内底に設けられる、
請求項1に記載のタイヤ。
【請求項5】
前記パターン部は、
突出する標章部の凸部の周りに設けられる、
請求項1に記載のタイヤ。
【請求項6】
前記パターン部は、
突出する標章部の凸部の周りを縁取って設けられる、
請求項1に記載のタイヤ。
発明の詳細な説明
【技術分野】
【0001】
この発明は、タイヤに関し、さらに詳しくは、パターン部の視認性を向上できるタイヤに関する。
続きを表示(約 1,400 文字)
【背景技術】
【0002】
従来、例えば、特許文献1に記載のタイヤでは、サイドウォール部に設ける装飾部の走行中における視認性を向上させる技術が示されている。このタイヤは、サイドウォール部に、突条から形成される装飾帯が、繰り返し要素の繰り返しにより形成された装飾要素を有し、装飾要素は、途切れず連続して延び、繰り返し要素は、複数の直線部と、直線部を繋ぐ複数の連結部と、から構成され、複数の直線部は、2~6方向の異なった方向性を有する。
【先行技術文献】
【特許文献】
【0003】
特開2017-013619号公報
【発明の概要】
【発明が解決しようとする課題】
【0004】
標章部の視認性を向上するにあたり、当該標章部を際立たせるようなパターン部を設けることが考えられる。このような場合であっても、よりパターン部の視認性を向上することが望まれている。
【0005】
この発明は、パターン部の視認性を向上することのできるタイヤを提供することを目的とする。
【課題を解決するための手段】
【0006】
上記目的を達成するため、本発明の一態様に係るタイヤは、タイヤ表面に、空間充填曲線に基づき配置されて1本に連続したリッジからなるパターン部を備える。
【発明の効果】
【0007】
この発明は、パターン部の視認性を向上できる。
【図面の簡単な説明】
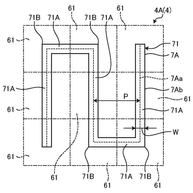
【0008】
図1は、実施形態に係る空気入りタイヤのタイヤ子午線方向の断面図である。
図2は、図1に記載したタイヤのタイヤサイド部を示す平面図である。
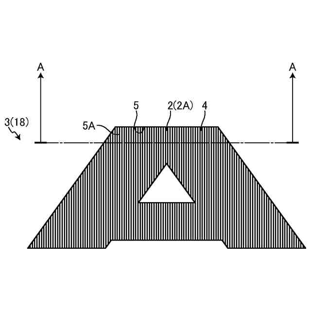
図3は、図2に記載したタイヤサイド部の標章部の一部の拡大図である。
図4は、図3に記載した標章部の一部の断面図である。
図5は、図2に記載したタイヤサイド部の標章部の一部の拡大図である。
図6は、図5に記載した標章部の一部の断面図である。
図7は、図2に記載したタイヤサイド部の標章部の一部の拡大図である。
図8は、図7に記載した標章部の一部の断面図である。
図9は、パターン部の説明図である。
図10は、パターン部の説明図である。
図11は、パターン部の説明図である。
図12は、パターン部の部分拡大断面図である。
図13は、パターン部の他の例の説明図である。
図14は、パターン部の他の例の説明図である。
図15は、パターン部の他の例の説明図である。
【発明を実施するための形態】
【0009】
以下に、本発明に係る実施形態を図面に基づいて詳細に説明する。なお、この実施形態によりこの発明が限定されるものではない。また、この実施形態の構成要素には、発明の同一性を維持しつつ置換可能かつ置換自明なものが含まれる。また、この実施形態に記載された複数の変形例は、当業者自明の範囲内にて任意に組み合わせが可能である。
【0010】
図1は、実施形態に係る空気入りタイヤのタイヤ子午線方向の断面図である。図1では、リム20に装着された空気入りタイヤ1のタイヤ径方向の片側領域の断面図を示している。実施形態では、タイヤの一例として、空気入りタイヤであって、乗用車用空気入りラジアルタイヤについて説明する。
(【0011】以降は省略されています)
この特許をJ-PlatPat(特許庁公式サイト)で参照する
関連特許
横浜ゴム株式会社
タイヤ
1か月前
横浜ゴム株式会社
タイヤ
1か月前
横浜ゴム株式会社
タイヤ
26日前
横浜ゴム株式会社
タイヤ
2か月前
横浜ゴム株式会社
タイヤ
27日前
横浜ゴム株式会社
タイヤ
27日前
横浜ゴム株式会社
タイヤ
1か月前
横浜ゴム株式会社
タイヤ
1か月前
横浜ゴム株式会社
タイヤ
1か月前
横浜ゴム株式会社
タイヤ
21日前
横浜ゴム株式会社
タイヤ
1か月前
横浜ゴム株式会社
タイヤ
1か月前
横浜ゴム株式会社
音響材
5日前
横浜ゴム株式会社
タイヤ
1か月前
横浜ゴム株式会社
タイヤ
1か月前
横浜ゴム株式会社
タイヤ
1か月前
横浜ゴム株式会社
タイヤ
1か月前
横浜ゴム株式会社
タイヤ
2か月前
横浜ゴム株式会社
タイヤ
2か月前
横浜ゴム株式会社
タイヤ
21日前
横浜ゴム株式会社
タイヤ
2か月前
横浜ゴム株式会社
タイヤ
20日前
横浜ゴム株式会社
タイヤ
12日前
横浜ゴム株式会社
タイヤ
2か月前
横浜ゴム株式会社
タイヤ
2か月前
横浜ゴム株式会社
タイヤ
21日前
横浜ゴム株式会社
タイヤ
12日前
横浜ゴム株式会社
タイヤ
2か月前
横浜ゴム株式会社
重荷重タイヤ
1か月前
横浜ゴム株式会社
空気入りタイヤ
12日前
横浜ゴム株式会社
空気入りタイヤ
12日前
横浜ゴム株式会社
空気入りタイヤ
1か月前
横浜ゴム株式会社
多層空洞音響材
12日前
横浜ゴム株式会社
空気入りタイヤ
22日前
横浜ゴム株式会社
空気入りタイヤ
1か月前
横浜ゴム株式会社
空気入りタイヤ
23日前
続きを見る
他の特許を見る