TOP
|
特許
|
意匠
|
商標
特許ウォッチ
Twitter
他の特許を見る
10個以上の画像は省略されています。
公開番号
2025163610
公報種別
公開特許公報(A)
公開日
2025-10-29
出願番号
2024067045
出願日
2024-04-17
発明の名称
タイヤ
出願人
横浜ゴム株式会社
代理人
弁理士法人酒井国際特許事務所
主分類
B60C
11/03 20060101AFI20251022BHJP(車両一般)
要約
【課題】耐発熱性能と耐摩耗性能および耐石咬み性能とを両立させること。
【解決手段】空気入りタイヤ1は、トレッド部に、タイヤ周方向に沿って連続して延びる2本以上の縦溝21,22と、タイヤ幅方向に沿って延びて各縦溝の間を連通するセンター横溝41と、タイヤ幅方向最外側の各縦溝のタイヤ幅方向外側に連通しタイヤ幅方向に沿って延びるショルダー横溝51と、縦溝およびセンター横溝41によって区画されるセンターブロック31Aと、縦溝およびショルダー横溝によって区画されるショルダーブロック32Aと、センターブロックにおいて踏面15Aに開口するディンプル61と、を含み、ディンプルは、開口が多角形状に形成されており、深さがショルダー横溝の溝深さの25[%]以上であり、タイヤ径方向に沿う断面形状が開口から溝底に向けて小さく形成され、ブロック踏面面積に対する開口面積が6[%]より大きく20[%]より小さい。
【選択図】図1
特許請求の範囲
【請求項1】
トレッド部に、
タイヤ周方向に沿って連続して延びる2本以上の縦溝と、
タイヤ幅方向に沿って延びて各前記縦溝の間を連通しタイヤ周方向に複数並ぶセンター横溝と、
タイヤ幅方向最外側の2本の前記縦溝のそれぞれのタイヤ幅方向外側に、タイヤ幅方向に沿って延びてそれぞれの前記縦溝に連通しタイヤ周方向に複数並ぶショルダー横溝と、
前記縦溝および前記センター横溝によって区画されるセンターブロックと、
前記縦溝および前記ショルダー横溝によって区画されるショルダーブロックと、
前記センターブロックにおいて踏面に開口するディンプルと、
を含み、
前記ディンプルは、開口が多角形状に形成されており、深さが前記ショルダー横溝の溝深さの25[%]以上であり、タイヤ径方向に沿う断面形状が開口から溝底に向けて小さく形成され、ブロック踏面面積に対する開口面積が6[%]より大きく20[%]より小さい、
タイヤ。
続きを表示(約 410 文字)
【請求項2】
前記ディンプルは、凹多角形状の開口に形成される、
請求項1に記載のタイヤ。
【請求項3】
前記ショルダーブロックにおいて踏面に開口する前記ディンプルを有する、
請求項1に記載のタイヤ。
【請求項4】
前記ディンプルは、内角が180[deg]より大きい角を2つ以上有する凹多角形状の開口に形成される、
請求項1に記載のタイヤ。
【請求項5】
前記ディンプルは、前記ブロックの中心部に1つ配置される、
請求項1に記載のタイヤ。
【請求項6】
新品時の前記ショルダー横溝の溝深さが30[mm]以上である、
請求項1に記載のタイヤ。
【請求項7】
前記トレッド部のタイヤ径方向内側に5枚以上のベルトプライが配置され、建設用または産業用の重荷重車両に用いられる、
請求項1に記載のタイヤ。
発明の詳細な説明
【技術分野】
【0001】
この発明は、タイヤに関する。
続きを表示(約 2,300 文字)
【背景技術】
【0002】
例えば、特許文献1には、トレッドブロックの地面接触表面に沿って開口している開口部を含むタイヤが記載されている。
【先行技術文献】
【特許文献】
【0003】
特許第6185388号公報
【発明の概要】
【発明が解決しようとする課題】
【0004】
例えば、OTR(Off The Road)などの重荷重用タイヤでは、荷重や走行速度の厳しい使用条件下におけるトレッド部の発熱によりヒートセパレーションが発生し易い。そのため、この種のタイヤでは、ブロック踏面に開口部を設け、タイヤ内部で発生した熱を放熱することで耐発熱性能を向上させる手法が知られている。しかしこの方法では、放熱のために開口を大きくする必要があるが、ブロック踏面面積が減少して耐摩耗性能が悪化する、さらに開口部に石咬みが起こりグルーブクラックが生じるおそれがある。
【0005】
この発明は、耐発熱性能と耐摩耗性能および耐石咬み性能とを両立させることのできるタイヤを提供することを目的とする。
【課題を解決するための手段】
【0006】
上記目的を達成するため、本発明の一態様に係るタイヤは、トレッド部に、タイヤ周方向に沿って連続して延びる2本以上の縦溝と、タイヤ幅方向に沿って延びて各前記縦溝の間を連通しタイヤ周方向に複数並ぶセンター横溝と、タイヤ幅方向最外側の2本の前記縦溝のそれぞれのタイヤ幅方向外側に、タイヤ幅方向に沿って延びてそれぞれの前記縦溝に連通しタイヤ周方向に複数並ぶショルダー横溝と、前記縦溝および前記センター横溝によって区画されるセンターブロックと、前記縦溝および前記ショルダー横溝によって区画されるショルダーブロックと、前記センターブロックにおいて踏面に開口するディンプルと、を含み、前記ディンプルは、開口が多角形状に形成されており、深さが前記ショルダー横溝の溝深さの25[%]以上であり、タイヤ径方向に沿う断面形状が開口から溝底に向けて小さく形成され、ブロック踏面面積に対する開口面積が6[%]より大きく20[%]より小さい。
【発明の効果】
【0007】
この発明によれば、耐発熱性能と耐摩耗性能および耐石咬み性能とを両立させることができる。
【図面の簡単な説明】
【0008】
図1は、実施形態に係る空気入りタイヤのトレッドの平面図である。
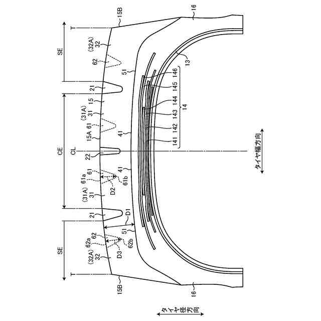
図2は、実施形態に係る空気入りタイヤの子午断面部分拡大図である。
図3は、実施形態に係る空気入りタイヤのディンプルの例を示す平面図である。
図4は、実施形態に係る空気入りタイヤのディンプルの例を示す平面図である。
図5は、実施形態に係る空気入りタイヤのディンプルの例を示す平面図である。
図6は、実施形態に係る空気入りタイヤのディンプルの例を示す平面図である。
図7は、実施形態に係る空気入りタイヤのディンプルの例を示す平面図である。
図8は、実施形態に係る空気入りタイヤのディンプルの例を示す平面図である。
図9は、実施形態に係る空気入りタイヤのディンプルの例を示す平面図である。
図10は、実施形態に係る空気入りタイヤのディンプルの例を示す平面図である。
図11は、ブロックの中心部(重心)を規定する説明図である。
図12は、実施形態に係る空気入りタイヤの性能試験の結果を示す図表である。
図13は、実施形態に係る空気入りタイヤの性能試験の結果を示す図表である。
図14は、実施形態に係る空気入りタイヤの性能試験の結果を示す図表である。
【発明を実施するための形態】
【0009】
以下に、本発明に係る実施形態を図面に基づいて詳細に説明する。なお、この実施形態によりこの発明が限定されるものではない。また、この実施形態の構成要素には、発明の同一性を維持しつつ置換可能かつ置換自明なものが含まれる。また、この実施形態に記載された複数の変形例は、当業者自明の範囲内にて任意に組み合わせが可能である。
【0010】
以下の説明において、タイヤ径方向とは、実施形態の空気入りタイヤ1の回転軸であるタイヤ回転軸(図示省略)と直交する方向をいい、タイヤ径方向内側とはタイヤ径方向においてタイヤ回転軸に向かう側、タイヤ径方向外側とはタイヤ径方向においてタイヤ回転軸から離れる側をいう。また、タイヤ周方向とは、タイヤ回転軸を中心軸とする周り方向をいう。また、タイヤ幅方向とは、タイヤ回転軸と平行な方向をいい、タイヤ幅方向内側とはタイヤ幅方向においてタイヤ赤道面(タイヤ赤道線)CLに向かう側、タイヤ幅方向外側とはタイヤ幅方向においてタイヤ赤道面CLから離れる側をいう。タイヤ赤道面CLとは、タイヤ回転軸に直交すると共に、空気入りタイヤ1のタイヤ幅の中心を通る平面であり、タイヤ赤道面CLは、空気入りタイヤ1のタイヤ幅方向における中心位置であるタイヤ幅方向中心線と、タイヤ幅方向における位置が一致する。タイヤ赤道線とは、タイヤ赤道面CL上にあって空気入りタイヤ1のタイヤ周方向に沿う線をいう。また、タイヤ子午線方向の断面(子午断面図)とは、タイヤ回転軸を含む平面でタイヤを切断したときの断面をいう。
(【0011】以降は省略されています)
この特許をJ-PlatPat(特許庁公式サイト)で参照する
関連特許
横浜ゴム株式会社
タイヤ
3か月前
横浜ゴム株式会社
タイヤ
2か月前
横浜ゴム株式会社
タイヤ
1か月前
横浜ゴム株式会社
タイヤ
1か月前
横浜ゴム株式会社
タイヤ
1か月前
横浜ゴム株式会社
タイヤ
1か月前
横浜ゴム株式会社
タイヤ
1か月前
横浜ゴム株式会社
タイヤ
1か月前
横浜ゴム株式会社
タイヤ
1か月前
横浜ゴム株式会社
タイヤ
1か月前
横浜ゴム株式会社
タイヤ
2か月前
横浜ゴム株式会社
タイヤ
2か月前
横浜ゴム株式会社
タイヤ
2か月前
横浜ゴム株式会社
タイヤ
2か月前
横浜ゴム株式会社
タイヤ
2か月前
横浜ゴム株式会社
タイヤ
2か月前
横浜ゴム株式会社
タイヤ
1か月前
横浜ゴム株式会社
タイヤ
2か月前
横浜ゴム株式会社
タイヤ
2か月前
横浜ゴム株式会社
タイヤ
2か月前
横浜ゴム株式会社
タイヤ
2か月前
横浜ゴム株式会社
タイヤ
2か月前
横浜ゴム株式会社
タイヤ
2か月前
横浜ゴム株式会社
タイヤ
2か月前
横浜ゴム株式会社
タイヤ
2か月前
横浜ゴム株式会社
タイヤ
3か月前
横浜ゴム株式会社
タイヤ
3か月前
横浜ゴム株式会社
タイヤ
3か月前
横浜ゴム株式会社
タイヤ
3か月前
横浜ゴム株式会社
タイヤ
3か月前
横浜ゴム株式会社
タイヤ
3か月前
横浜ゴム株式会社
タイヤ
1か月前
横浜ゴム株式会社
タイヤ
1か月前
横浜ゴム株式会社
タイヤ
1か月前
横浜ゴム株式会社
タイヤ
1か月前
横浜ゴム株式会社
タイヤ
1か月前
続きを見る
他の特許を見る