TOP
|
特許
|
意匠
|
商標
特許ウォッチ
Twitter
他の特許を見る
公開番号
2025135867
公報種別
公開特許公報(A)
公開日
2025-09-19
出願番号
2024033895
出願日
2024-03-06
発明の名称
タイヤ
出願人
横浜ゴム株式会社
代理人
弁理士法人酒井国際特許事務所
主分類
B60C
11/03 20060101AFI20250911BHJP(車両一般)
要約
【課題】低転がり抵抗性能とウェットトラクション性能を両立すること。
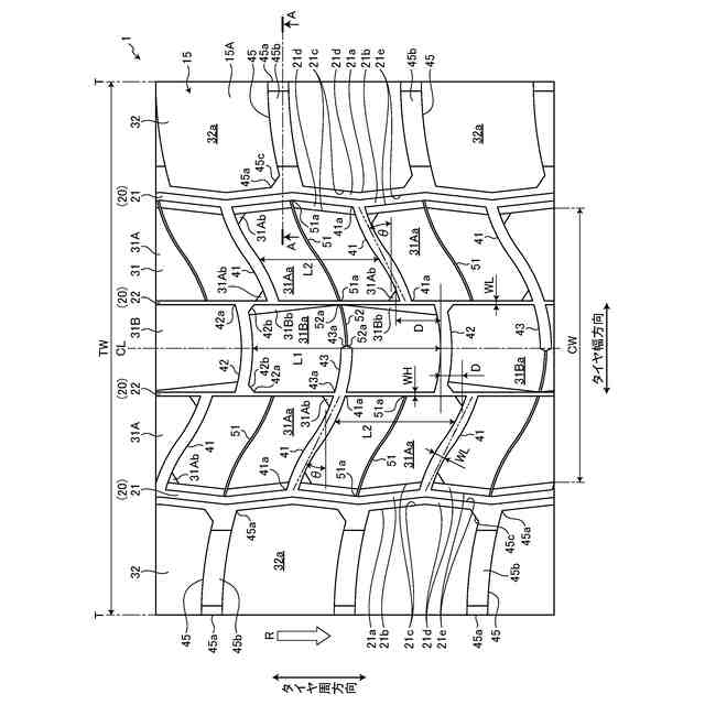
【解決手段】トレッド面15Aに、4本の周方向溝20のうちタイヤ幅方向最外側に配置されて間にセンター部31を区画する一対の周方向主溝21と、周方向溝のうちセンター部に配置されて周方向主溝の溝幅W1の30[%]以下の溝幅WHに形成される周方向細溝22と、センター部において周方向溝によって区画される3本の陸部31A,31Bにおいて、隣り合う周方向溝に両端が連通して各陸部を複数のブロック31Aa,31Baに区画するラグ溝41,42と、を含み、センター部は、トレッド面の展開幅TWに対して45[%]以上の範囲でタイヤ幅方向中央寄りに設けられ、ブロックは、タイヤ幅方向中央に近い陸部に区画されたものほどタイヤ周方向に長く形成され、ブロックは、各陸部においてタイヤ周方向の端がタイヤ周方向にずれて配置される。
【選択図】図2
特許請求の範囲
【請求項1】
トレッド面に、
タイヤ周方向に延びる少なくとも4本の周方向溝のうちタイヤ幅方向最外側に配置されて間にセンター部を区画する一対の周方向主溝と、
4本の前記周方向溝のうち前記センター部に配置されて前記周方向主溝の溝幅の30[%]以下の溝幅に形成される1本以上の周方向細溝と、
前記センター部において少なくとも2本の前記周方向溝によって区画される少なくとも3本の陸部において、タイヤ幅方向に延びてタイヤ周方向に複数配置されタイヤ幅方向で隣り合う前記周方向溝に両端が連通して各前記陸部を複数のブロックに区画するラグ溝と、
を含み、
前記センター部は、前記トレッド面の展開幅に対して45[%]以上の範囲でタイヤ幅方向中央寄りに設けられ、
前記ブロックは、タイヤ幅方向中央に近い前記陸部に区画されたものほどタイヤ周方向に長く形成され、
前記ブロックは、各前記陸部においてタイヤ周方向の端がタイヤ周方向にずれて配置される、
タイヤ。
続きを表示(約 900 文字)
【請求項2】
前記センター部において、
タイヤ幅方向中央に最も近いセンター陸部における前記ブロックのタイヤ周方向長さL1と、前記センター陸部にタイヤ幅方向で隣り合うミドル陸部における前記ブロックのタイヤ周方向長さL2とが、1.2≦L1/L2≦1.9の関係を満たす、
請求項1に記載のタイヤ。
【請求項3】
前記センター部において、
タイヤ幅方向中央に最も近いセンター陸部における前記ブロックのタイヤ周方向長さL1に対し、前記センター陸部のタイヤ周方向の端と当該センター陸部にタイヤ幅方向で隣り合うミドル陸部における前記ブロックの端とのタイヤ周方向のずれ量Dが、0.1≦D/L1≦0.5の関係を満たす、
請求項1に記載のタイヤ。
【請求項4】
前記周方向細溝の溝幅は、5[mm]以下である、
請求項1に記載のタイヤ。
【請求項5】
前記周方向主溝に連通する前記ラグ溝の溝幅は、1.5[mm]以上9[mm]以下である、
請求項1に記載のタイヤ。
【請求項6】
前記周方向主溝に連通する前記ラグ溝は、タイヤ幅方向に対して20[deg]以上の角度を有して延びる、
請求項1に記載のタイヤ。
【請求項7】
前記周方向主溝は、
その子午断面形状が、前記トレッド面から溝底側に延びる一対の第一溝壁と、
それぞれの前記第一溝壁の溝底側に繋がり前記トレッド面に沿う壇を形成する一対の壇部と、
それぞれの前記第一溝壁よりも溝中心側に位置し、それぞれの前記壇部から溝底側に延びる一対の第二溝壁と、
を有し、
前記周方向主溝のタイヤ幅方向外側に区画されたショルダー部において、タイヤ幅方向に延びてタイヤ周方向に複数配置され前記周方向主溝に一端が連通し、溝底に底上部が形成されるショルダーラグ溝が設けられ、
前記ショルダーラグ溝の底上部と、前記周方向主溝の前記壇部とが、円弧によって滑らかに繋がる、
請求項1に記載のタイヤ。
発明の詳細な説明
【技術分野】
【0001】
この発明は、タイヤに関する。
続きを表示(約 1,900 文字)
【背景技術】
【0002】
例えば、特許文献1には、タイヤ周方向に延在する一対のショルダー主溝と、一対のショルダー主溝を境界とする一対のショルダー領域および単一のセンター領域を備え、センター領域が、一方の端部にてショルダー主溝に開口すると共に他方の端部をセンター領域の接地面内に有するミドルラグ溝と、両端部をセンター領域の接地面内に有するセンターラグ溝と、を備える、タイヤが示されている。
【先行技術文献】
【特許文献】
【0003】
特開2022-057908号公報
【発明の概要】
【発明が解決しようとする課題】
【0004】
ここで、例えば、ドライブ軸用の重荷重タイヤでは、低転がり抵抗化のために、ブロック剛性の増加を目的として、センター部の主溝幅を細溝とし、センター部にブロック列を集中配置するパターンの採用が進んでいる。しかし、そのようなタイヤは、溝容積が減少して排水性能が悪化することからブロックパターン本来のウェットトラクション性能が低下する懸念がある。
【0005】
この発明は、低転がり抵抗性能とウェットトラクション性能を両立することのできるタイヤを提供することを目的とする。
【課題を解決するための手段】
【0006】
上記目的を達成するため、本発明の一態様に係るタイヤは、トレッド面に、タイヤ周方向に延びる少なくとも4本の周方向溝のうちタイヤ幅方向最外側に配置されて間にセンター部を区画する一対の周方向主溝と、4本の前記周方向溝のうち前記センター部に配置されて前記周方向主溝の溝幅の30[%]以下の溝幅に形成される1本以上の周方向細溝と、前記センター部において少なくとも2本の前記周方向溝によって区画される少なくとも3本の陸部において、タイヤ幅方向に延びてタイヤ周方向に複数配置されタイヤ幅方向で隣り合う前記周方向溝に両端が連通して各前記陸部を複数のブロックに区画するラグ溝と、を含み、前記センター部は、前記トレッド面の展開幅に対して45[%]以上の範囲でタイヤ幅方向中央寄りに設けられ、前記ブロックは、タイヤ幅方向中央に近い前記陸部に区画されたものほどタイヤ周方向に長く形成され、前記ブロックは、各前記陸部においてタイヤ周方向の端がタイヤ周方向にずれて配置される。
【発明の効果】
【0007】
この発明によれば、低転がり抵抗性能とウェットトラクション性能を両立できる。
【図面の簡単な説明】
【0008】
図1は、実施形態に係る空気入りタイヤの子午断面図である。
図2は、実施形態に係る空気入りタイヤのトレッド面の平面図である。
図3は、図2におけるA-A断面図である。
図4は、実施形態に係る空気入りタイヤの性能試験の結果を示す図表である。
図5は、実施形態に係る空気入りタイヤの性能試験の結果を示す図表である。
【発明を実施するための形態】
【0009】
以下に、本発明に係る実施形態を図面に基づいて詳細に説明する。なお、この実施形態によりこの発明が限定されるものではない。また、この実施形態の構成要素には、発明の同一性を維持しつつ置換可能かつ置換自明なものが含まれる。また、この実施形態に記載された複数の変形例は、当業者自明の範囲内にて任意に組み合わせが可能である。
【0010】
以下の説明において、タイヤ径方向とは、実施形態の空気入りタイヤ1の回転軸であるタイヤ回転軸(図示省略)と直交する方向をいい、タイヤ径方向内側とはタイヤ径方向においてタイヤ回転軸に向かう側、タイヤ径方向外側とはタイヤ径方向においてタイヤ回転軸から離れる側をいう。また、タイヤ周方向とは、タイヤ回転軸を中心軸とする周り方向をいう。また、タイヤ幅方向とは、タイヤ回転軸と平行な方向をいい、タイヤ幅方向内側とはタイヤ幅方向においてタイヤ赤道面(タイヤ赤道線)CLに向かう側、タイヤ幅方向外側とはタイヤ幅方向においてタイヤ赤道面CLから離れる側をいう。タイヤ赤道面CLとは、タイヤ回転軸に直交すると共に、空気入りタイヤ1のタイヤ幅の中心を通る平面であり、タイヤ赤道面CLは、空気入りタイヤ1のタイヤ幅方向における中心位置であるタイヤ幅方向中心線と、タイヤ幅方向における位置が一致する。タイヤ赤道線とは、タイヤ赤道面CL上にあって空気入りタイヤ1のタイヤ周方向に沿う線をいう。また、タイヤ子午線方向の断面(子午断面図)とは、タイヤ回転軸を含む平面でタイヤを切断したときの断面をいう。
(【0011】以降は省略されています)
この特許をJ-PlatPat(特許庁公式サイト)で参照する
関連特許
横浜ゴム株式会社
タイヤ
28日前
横浜ゴム株式会社
音響材
6日前
横浜ゴム株式会社
タイヤ
22日前
横浜ゴム株式会社
タイヤ
22日前
横浜ゴム株式会社
タイヤ
1か月前
横浜ゴム株式会社
タイヤ
1か月前
横浜ゴム株式会社
タイヤ
13日前
横浜ゴム株式会社
タイヤ
22日前
横浜ゴム株式会社
タイヤ
21日前
横浜ゴム株式会社
タイヤ
1か月前
横浜ゴム株式会社
タイヤ
27日前
横浜ゴム株式会社
タイヤ
1か月前
横浜ゴム株式会社
タイヤ
13日前
横浜ゴム株式会社
タイヤ
1か月前
横浜ゴム株式会社
タイヤ
28日前
横浜ゴム株式会社
空気入りタイヤ
23日前
横浜ゴム株式会社
空気入りタイヤ
24日前
横浜ゴム株式会社
空気入りタイヤ
24日前
横浜ゴム株式会社
空気入りタイヤ
28日前
横浜ゴム株式会社
空気入りタイヤ
13日前
横浜ゴム株式会社
空気入りタイヤ
13日前
横浜ゴム株式会社
多層空洞音響材
13日前
横浜ゴム株式会社
タイヤの製造方法
1か月前
横浜ゴム株式会社
熱可塑性樹脂組成物
1か月前
横浜ゴム株式会社
タイヤ用ゴム組成物
6日前
横浜ゴム株式会社
ゴム組成物の製造方法
16日前
横浜ゴム株式会社
タイヤ及びその製造方法
21日前
横浜ゴム株式会社
タイヤ及びその製造方法
21日前
横浜ゴム株式会社
積層体、およびその製造方法
1か月前
横浜ゴム株式会社
ホース用ゴム組成物及びホース
1か月前
横浜ゴム株式会社
架橋ゴム分子鎖の配向評価方法
1か月前
横浜ゴム株式会社
空気入りタイヤ及びその製造方法
14日前
横浜ゴム株式会社
ゴム組成物、及び、コンベヤベルト
1か月前
横浜ゴム株式会社
充填タイヤ用発泡体及び充填タイヤ
14日前
横浜ゴム株式会社
機能部品組立体及びそれを備えたタイヤ
28日前
横浜ゴム株式会社
混練ゴムの製造方法および製造システム
28日前
続きを見る
他の特許を見る