TOP
|
特許
|
意匠
|
商標
特許ウォッチ
Twitter
他の特許を見る
公開番号
2025153526
公報種別
公開特許公報(A)
公開日
2025-10-10
出願番号
2024056055
出願日
2024-03-29
発明の名称
タイヤ
出願人
横浜ゴム株式会社
代理人
清流国際弁理士法人
,
個人
,
個人
主分類
B60C
11/00 20060101AFI20251002BHJP(車両一般)
要約
【課題】操舵力を増大させることなくウェット性能の向上を可能にしたタイヤを提供する。
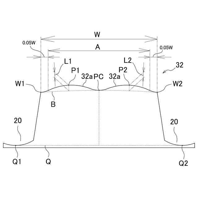
【解決手段】ショルダー陸部31を除く少なくとも1列の陸部30を、タイヤ周方向に沿って連続して延在し、タイヤ子午線断面における踏面の輪郭線がタイヤ径方向外側に膨出した2列の膨出部32aを含む凸リブ32とし、正規リムに装着し正規内圧を付与した無負荷状態におけるタイヤ子午断面視において、膨出部32aのタイヤ幅方向の端点W1,W2の間の距離を凸リブ幅Wとしたとき、点W1および点W2のそれぞれから凸リブ32のタイヤ幅方向中心側に凸リブ幅Wの5%の位置の間の領域Aにおいて、凸リブ32に隣接する一対の周方向主溝の最深点どうしを結んだ直線Qとの距離が最小になる凸リブ32の輪郭線上の点PCを、凸リブ32のタイヤ幅方向中心からタイヤ幅方向両側に凸リブ幅Wの15%以内の範囲に配置する。
【選択図】図2
特許請求の範囲
【請求項1】
タイヤ周方向に延在して環状をなすトレッド部を備えたタイヤにおいて、
前記トレッド部は、タイヤ周方向に沿って延在する少なくとも2本の周方向主溝と、前記周方向主溝により区画された複数列の陸部を備え、
前記複数の陸部のうちタイヤ幅方向最外側に位置する一対のショルダー陸部を除く少なくとも1列の陸部はタイヤ周方向に沿って連続して延在する凸リブであり、
前記凸リブは、タイヤ子午線断面における踏面の輪郭線がタイヤ径方向外側に膨出した膨出部をタイヤ幅方向に2列含み、
正規リムに装着し正規内圧を付与した無負荷状態におけるタイヤ子午断面視において、タイヤ幅方向一方側の前記膨出部のタイヤ幅方向一方側の端点を点W1とし、タイヤ幅方向他方側の前記膨出部のタイヤ幅方向他方側の端点を点W2とし、前記点W1および前記点W2の間の距離を凸リブ幅Wとしたとき、
前記点W1から前記凸リブのタイヤ幅方向中心側に前記凸リブ幅Wの5%の位置と、前記点W2から前記凸リブのタイヤ幅方向中心側に前記凸リブ幅Wの5%の位置との間の領域Aにおいて、前記凸リブに隣接する一対の周方向主溝の最深点どうしを結んだ直線Qとの距離が最小になる前記凸リブの輪郭線上の点PCが、前記凸リブのタイヤ幅方向中心からタイヤ幅方向両側に前記凸リブ幅Wの15%以内の範囲に配置されたことを特徴とするタイヤ。
続きを表示(約 1,500 文字)
【請求項2】
前記点W1と前記点W2と前記点PCとを結んだ円弧を基準プロファイルBと定義し、
前記点W1と前記点PCとの間の領域で前記基準プロファイルBとの垂直距離が最も大きくなる前記凸リブの輪郭線上の点を点P1とし、前記点W2と前記点PCとの間の領域で前記基準プロファイルBとの垂直距離が最も大きくなる前記凸リブの輪郭線上の点を点P2としたとき、
前記点P1と前記基準プロファイルBとの垂直距離L1と、前記点P2と前記基準プロファイルBとの垂直距離L2と、前記凸リブ幅Wとが、0<(L1/W)×100≦6かつ0<(L2/W)×100≦6の関係を満たすことを特徴とする請求項1に記載のタイヤ。
【請求項3】
前記垂直距離L1と前記垂直距離L2とが0.8≦L1/L2≦1.2の関係を満たすことを特徴とする請求項2に記載のタイヤ。
【請求項4】
前記凸リブ幅W、前記垂直距離L1、および前記垂直距離L2と、前記トレッド部を構成するトレッドゴムの硬度Hsとが、0<((L1/W)×100)/Hs≦0.06かつ0<((L2/W)×100)/Hs≦0.06の関係を満たし、前記トレッドゴムの硬度Hsが55以上78以下であることを特徴とする請求項2または3に記載のタイヤ。
【請求項5】
正規リムに装着し正規内圧を付与し正規荷重を負荷したときの接地幅TWに対して前記凸リブ幅Wが10≦(W/TW)×100≦50の関係を満たすことを特徴とする請求項1または2に記載のタイヤ。
【請求項6】
2列の前記膨出部の輪郭線がそれぞれタイヤ径方向内側に凸となる部分を含まずに常にタイヤ径方向外側に凸となるように湾曲していることを特徴とする請求項1または2に記載のタイヤ。
【請求項7】
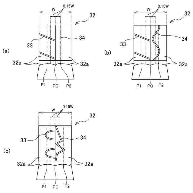
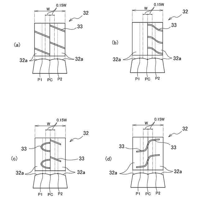
前記膨出部の一方または両方に一端または両端が前記凸リブ内で終端する横溝またはサイプが形成され、
前記点W1と前記点W2と前記点PCとを結んだ円弧を基準プロファイルBと定義し、
前記点W1と前記点PCとの間の領域で前記基準プロファイルBとの垂直距離が最も大きくなる前記凸リブの輪郭線上の点を点P1とし、前記点W2と前記点PCとの間の領域で前記基準プロファイルBとの垂直距離が最も大きくなる前記凸リブの輪郭線上の点を点P2としたとき、
前記横溝または前記サイプの少なくとも一方の端部が前記点PCの位置からタイヤ幅方向両側に前記凸リブ幅Wの15%以内の範囲に配置され、且つ前記横溝または前記サイプの少なくとも一部が前記点P1または前記点P2を通りタイヤ周方向に延在する延長線上に位置することを特徴とする請求項1または2に記載のタイヤ。
【請求項8】
前記膨出部の一方または両方にタイヤ周方向に沿って延在する周方向細溝が形成され、
前記点W1と前記点W2と前記点PCとを結んだ円弧を基準プロファイルBと定義し、
前記点W1と前記点PCとの間の領域で前記基準プロファイルBとの垂直距離が最も大きくなる前記凸リブの輪郭線上の点を点P1とし、前記点W2と前記点PCとの間の領域で前記基準プロファイルBとの垂直距離が最も大きくなる前記凸リブの輪郭線上の点を点P2としたとき、
前記周方向細溝が、前記点PCの位置からタイヤ幅方向両側に前記凸リブ幅Wの15%以内の範囲に配置された部分と、前記点P1または前記点P2を通りタイヤ周方向に延在する延長線上に位置する部分とを含むことを特徴とする請求項1または2に記載のタイヤ。
発明の詳細な説明
【技術分野】
【0001】
本発明は、タイヤ周方向に沿って連続的に延在するリブ状の陸部を備えたタイヤに関し、更に詳しくは、操舵力を増大させることなくウェット性能の向上を可能にしたタイヤに関する。
続きを表示(約 2,300 文字)
【背景技術】
【0002】
タイヤのウェット性能を向上させるために、トレッド部に形成された陸部の踏面を、トレッドプロファイルの基準輪郭線からタイヤ径方向外側に部分的に膨出させた形状にする技術が知られている(例えば特許文献1を参照)。このようなタイヤでは、陸部が膨出した踏面を有することにより、当該陸部の接地圧が増加し、ウェット路面走行時における当該陸部の踏面と路面との接地特性が向上してウェット性能を向上することができる。しかしながら、膨出した踏面を有することで接地長が増大し、それによりハンドルの操舵力(特に据え切り時の操舵力)が大きくなるという問題がある。
【先行技術文献】
【特許文献】
【0003】
特開2020‐100170号公報
【発明の概要】
【発明が解決しようとする課題】
【0004】
本発明の目的は、操舵力を増大させることなくウェット性能の向上を可能にしたタイヤを提供することにある。
【課題を解決するための手段】
【0005】
上記目的を達成するための本発明のタイヤは、タイヤ周方向に延在して環状をなすトレッド部を備えたタイヤにおいて、前記トレッド部は、タイヤ周方向に沿って延在する少なくとも2本の周方向主溝と、前記周方向主溝により区画された複数列の陸部を備え、前記複数の陸部のうちタイヤ幅方向最外側に位置する一対のショルダー陸部を除く少なくとも1列の陸部はタイヤ周方向に沿って連続して延在する凸リブであり、前記凸リブは、タイヤ子午線断面における踏面の輪郭線がタイヤ径方向外側に膨出した膨出部をタイヤ幅方向に2列含み、正規リムに装着し正規内圧を付与した無負荷状態におけるタイヤ子午断面視において、タイヤ幅方向一方側の前記膨出部のタイヤ幅方向一方側の端点を点W1とし、タイヤ幅方向他方側の前記膨出部のタイヤ幅方向他方側の端点を点W2とし、前記点W1および前記点W2の間の距離を凸リブ幅Wとしたとき、前記点W1から前記凸リブのタイヤ幅方向中心側に前記凸リブ幅Wの5%の位置と、前記点W2から前記凸リブのタイヤ幅方向中心側に前記凸リブ幅Wの5%の位置との間の領域Aにおいて、前記凸リブに隣接する一対の周方向主溝の最深点どうしを結んだ直線Qとの距離が最小になる前記凸リブの輪郭線上の点PCが、前記凸リブのタイヤ幅方向中心からタイヤ幅方向両側に前記凸リブ幅Wの15%以内の範囲に配置されたことを特徴とする。
【発明の効果】
【0006】
本発明のタイヤは、上記のように、一対のショルダー陸部を除く少なくとも1列の陸部が上述の特徴を備えた凸リブであるため、2列の膨出部のそれぞれにおいて接地圧が増加し、ウェット路面走行時における路面との接地特性が向上してウェット性能を向上することができる。また、2列の膨出部を有することで走行中に水膜を切りやすくなり、この点でもウェット性能の向上が見込める。その一方で、2列の膨出部に挟まれた凸リブの幅方向中心近傍(点PCの近傍)は相対的に周囲より窪むため、凸リブの幅方向中心近傍(点PCの近傍)の接地長を短くすることができ、据え切り時の操舵力を低く抑えることが可能になる。これらの協働により、操舵力を低減させながらウェット性能を向上することができ、これら性能をバランスよく両立することができる。
【0007】
本発明においては、点W1と点W2と点PCとを結んだ円弧を基準プロファイルBと定義し、点W1と点PCとの間の領域で基準プロファイルBとの垂直距離が最も大きくなる凸リブの輪郭線上の点を点P1とし、点W2と点PCとの間の領域で基準プロファイルBとの垂直距離が最も大きくなる凸リブの輪郭線上の点を点P2としたとき、点P1と基準プロファイルBとの垂直距離L1と、点P2と基準プロファイルBとの垂直距離L2と、凸リブ幅Wとが、0<(L1/W)×100≦6かつ0<(L2/W)×100≦6の関係を満たすことが好ましい。このように凸リブ幅Wに対する膨出量を適度な範囲に設定することで、2列の膨出部の形状を良好に維持することができ、水膜を切りやすくしてウェット性能を向上する効果を高めることができる。
【0008】
本発明においては、垂直距離L1と垂直距離L2とが0.8≦L1/L2≦1.2の関係を満たすことが好ましい。このように2列の膨出部の膨出量を同程度に設定することで、接地圧が均一になり、据え切り時の操舵力を低減するには有利になる。
【0009】
本発明においては、凸リブ幅W、垂直距離L1、および垂直距離L2と、トレッド部を構成するトレッドゴムの硬度Hsとが、0<((L1/W)×100)/Hs≦0.06かつ0<((L2/W)×100)/Hs≦0.06の関係を満たし、前記トレッドゴムの硬度Hsが55以上78以下であることが好ましい。このように凸リブ幅Wと膨出量(垂直距離L1,L2)に対し、更にトレッドゴムの硬度Hsを考慮することで、膨出部の走行時の膨出形状が良好に維持され、ウェット性能を向上するには有利になる。
【0010】
本発明においては、正規リムに装着し正規内圧を付与し正規荷重を負荷したときの接地幅TWに対して凸リブ幅Wが10≦(W/TW)×100≦50の関係を満たすことが好ましい。上記のように2列の膨出部を設けるにあたって、凸リブの幅を十分に確保することで、凸リブの剛性を確保することが可能になり、膨出部によって水膜を切りやすくしてウェット性能を向上する効果を高めることができる。
(【0011】以降は省略されています)
この特許をJ-PlatPat(特許庁公式サイト)で参照する
関連特許
横浜ゴム株式会社
タイヤ
1か月前
横浜ゴム株式会社
タイヤ
8日前
横浜ゴム株式会社
タイヤ
22日前
横浜ゴム株式会社
タイヤ
22日前
横浜ゴム株式会社
タイヤ
12日前
横浜ゴム株式会社
タイヤ
12日前
横浜ゴム株式会社
タイヤ
12日前
横浜ゴム株式会社
タイヤ
12日前
横浜ゴム株式会社
タイヤ
22日前
横浜ゴム株式会社
タイヤ
22日前
横浜ゴム株式会社
タイヤ
1か月前
横浜ゴム株式会社
タイヤ
22日前
横浜ゴム株式会社
タイヤ
8日前
横浜ゴム株式会社
タイヤ
1か月前
横浜ゴム株式会社
タイヤ
1日前
横浜ゴム株式会社
タイヤ
1日前
横浜ゴム株式会社
タイヤ
2日前
横浜ゴム株式会社
タイヤ
2日前
横浜ゴム株式会社
重荷重タイヤ
8日前
横浜ゴム株式会社
空気入りタイヤ
9日前
横浜ゴム株式会社
空気入りタイヤ
12日前
横浜ゴム株式会社
タイヤの製造方法
1日前
横浜ゴム株式会社
熱可塑性樹脂組成物
1日前
横浜ゴム株式会社
積層体、およびその製造方法
2日前
横浜ゴム株式会社
更生タイヤ及びその製造方法
12日前
横浜ゴム株式会社
高分子微粒子集合体の製造法
1か月前
横浜ゴム株式会社
センサユニットを備えるタイヤ
8日前
横浜ゴム株式会社
架橋ゴム分子鎖の配向評価方法
3日前
横浜ゴム株式会社
センサユニットを備えるタイヤ
8日前
横浜ゴム株式会社
センサユニットを備えるタイヤ
8日前
横浜ゴム株式会社
化学計算モデル分子の作成方法
16日前
横浜ゴム株式会社
タイヤ用ゴム組成物およびタイヤ
8日前
横浜ゴム株式会社
環状体の管理方法およびシステム
1か月前
横浜ゴム株式会社
タイヤ用ゴム組成物およびタイヤ
24日前
横浜ゴム株式会社
ゴム組成物、及び、コンベヤベルト
1日前
横浜ゴム株式会社
金属製品、および金属製品の製造方法
15日前
続きを見る
他の特許を見る