TOP
|
特許
|
意匠
|
商標
特許ウォッチ
Twitter
他の特許を見る
公開番号
2025172580
公報種別
公開特許公報(A)
公開日
2025-11-26
出願番号
2024078166
出願日
2024-05-13
発明の名称
タイヤ
出願人
横浜ゴム株式会社
代理人
個人
,
個人
,
個人
,
個人
,
個人
主分類
B60C
9/18 20060101AFI20251118BHJP(車両一般)
要約
【課題】雪上旋回性能及び耐摩耗性能を向上させるとともに、加硫故障を低減し、さらに良好なプランジャー試験結果を得ることのできるタイヤを提供すること。
【解決手段】カーカス(12)と、カーカスのタイヤ径方向外側に形成された傾斜ベルト(14)と、傾斜ベルトのタイヤ径方向外側に形成されたキャップトレッド(22)と、を備え、タイヤ子午断面視で、トレッド幅の中央領域をセンター領域とするとともに、残りの領域をショルダー領域とした場合に、ショルダー領域におけるキャップトレッドゴム(22a)の硬度が、センター領域におけるキャップトレッドゴム(22b)の硬度よりも高く、傾斜ベルトとキャップトレッドとの間に、タイヤ周方向に対して略90度に延びるコードを含む幅方向ベルト(26)が形成されている。
【選択図】図1
特許請求の範囲
【請求項1】
カーカスと、前記カーカスのタイヤ径方向外側に形成された傾斜ベルトと、前記傾斜ベルトのタイヤ径方向外側に形成されたキャップトレッドと、を備えるタイヤであって、
タイヤ子午断面視で、トレッド幅の中央領域をセンター領域とするとともに、残りの領域をショルダー領域とした場合に、前記ショルダー領域における前記キャップトレッドゴムの硬度が、前記センター領域における前記キャップトレッドゴムの硬度よりも高く、前記傾斜ベルトと前記キャップトレッドとの間に、タイヤ周方向に対して略90度に延びるコードを含む幅方向ベルトが形成されていることを特徴とするタイヤ。
続きを表示(約 540 文字)
【請求項2】
前記ショルダー領域における前記キャップトレッドゴムのJIS硬度は52以上58以下であり、前記センター領域における前記キャップトレッドゴムのJIS硬度は42以上48以下である、請求項1に記載のタイヤ。
【請求項3】
前記センター領域における前記キャップトレッドは、トレッド幅の40%以上80%以下の範囲に形成されている、請求項1又は2に記載のタイヤ。
【請求項4】
前記幅方向ベルトのタイヤ幅方向寸法は、タイヤ径方向最外側の前記傾斜ベルト層のタイヤ幅方向寸法の40%以上80%以下である、請求項1又は2に記載のタイヤ。
【請求項5】
前記傾斜ベルトのタイヤ径方向外側にベルトカバーをさらに含み、前記幅方向ベルトは、前記傾斜ベルトのタイヤ径方向外側で、かつ、前記ベルトカバーのタイヤ径方向内側に形成されている、請求項1又は2に記載のタイヤ。
【請求項6】
前記幅方向ベルトのコードは、スチール製である、請求項1又は2に記載のタイヤ。
【請求項7】
タイヤ表面に複数のサイプが形成され、スノートラクションインデックス(STI)が180以上である、請求項1又は2に記載のタイヤ。
発明の詳細な説明
【技術分野】
【0001】
本発明は、雪上旋回性能及び耐摩耗性能を向上させるとともに、加硫故障を低減したタイヤに関する。
続きを表示(約 2,000 文字)
【背景技術】
【0002】
従来、車両装着時外側(OUT側)のネガティブ率が低い非対称パターンを採用した場合でも、大入力旋回時の接地圧抜けを効果的に抑制し、旋回性能を向上させることを目的として、交錯ベルトとトレッドとの間に、タイヤ幅方向及びタイヤ径方向に沿って延び、所定の距離を隔てて配置された複数の補強コードを被覆した車両装着時外側から車両装着時内側に亘って設けられる補強ベルトを備えるタイヤが知られている(特許文献1参照)。
【先行技術文献】
【特許文献】
【0003】
特開2023-001588号公報
【発明の概要】
【発明が解決しようとする課題】
【0004】
しかしながら、特許文献1に開示されたタイヤでは、タイヤ幅方向にわたって硬度が均一のキャップトレッドゴムが使用されている可能性があるため、トレッド幅にわたるキャップトレッドの領域のうちタイヤ幅方向外側に位置するショルダー領域のゴム硬度が効率的に高められておらず、優れた旋回性能及び/又は耐摩耗性能が得られないおそれがある。
【0005】
また、トレッド剛性を低く設定して氷雪直進性能等を向上させるために、トレッド表面にサイプを形成した冬用タイヤでは、加硫時にタイヤが金型に貼り付き易く、タイヤを金型から取り出す際にビード部及び/又はサイドウォール部が変形する、いわゆる加硫故障が発生するおそれがある。
【0006】
本発明は、上記事情に鑑みてなされたものであって、雪上旋回性能及び耐摩耗性能を向上させるとともに、加硫故障を低減できるタイヤを提供することを目的とする。
【課題を解決するための手段】
【0007】
本発明のタイヤは、カーカスと、前記カーカスのタイヤ径方向外側に形成された傾斜ベルトと、前記傾斜ベルトのタイヤ径方向外側に形成されたキャップトレッドと、を備え、タイヤ子午断面視で、トレッド幅の中央領域をセンター領域とするとともに、残りの領域をショルダー領域とした場合に、前記ショルダー領域における前記キャップトレッドゴムの硬度が、前記センター領域における前記キャップトレッドゴムの硬度よりも高く、前記傾斜ベルトと前記キャップトレッドとの間に、タイヤ周方向に対して略90度に延びるコードを含む幅方向ベルトが(少なくとも前記センター領域の一部に)形成されていることを特徴とする。
【発明の効果】
【0008】
本発明に係るタイヤでは、ショルダー領域におけるキャップトレッドゴムの硬度が、センター領域におけるキャップトレッドゴムの硬度よりも高く設定されているだけでなく、傾斜ベルトとキャップトレッドとの間に、タイヤ周方向に対して略90度に延びるコードを含む幅方向ベルトが形成されている。キャップトレッドに関してタイヤ幅方向において異なるゴム硬度を設定することで、トレッド表面のうち、センター領域よりもショルダー領域の剛性を高めて、雪上旋回性能及び耐摩耗性能を向上させることができる。また、傾斜ベルトとキャップトレッドとの間に、タイヤ周方向に対して略90度に延びるコードを含む幅方向ベルトを形成することで、ショルダー領域と比較してゴム硬度が低く加硫時に金型に貼り付き易いセンター領域のタイヤ剛性を高めて加硫故障を低減することができる。従って、本発明によれば、雪上旋回性能及び耐摩耗性能を向上させるとともに、加硫故障を低減することができる。なお、幅方向ベルトの形成により、良好なプランジャー試験結果を得ることもできる。
【図面の簡単な説明】
【0009】
図1は、本実施形態のタイヤ(トレッド部及びショルダー部)を示すタイヤ子午断面図である。
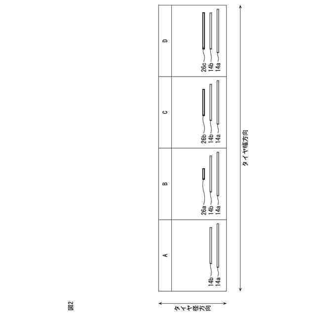
図2は、図1に示す幅方向ベルトのタイヤ幅方向寸法についての、好適例と不適例とを示す模式図である。
図3は、図1に示すタイヤの変形例を示すタイヤ子午断面図である。
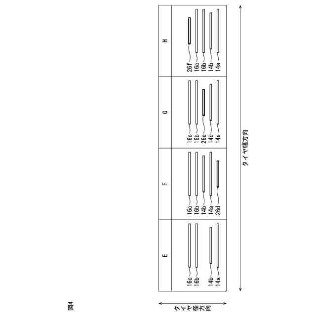
図4は、図3に示す幅方向ベルトのタイヤ径方向位置についての、好適例と不適例とを示す模式図である。
【発明を実施するための形態】
【0010】
以下の説明において、タイヤ径方向とは、タイヤの回転軸と直交する方向をいい、タイヤ径方向内側とはタイヤ径方向において回転軸に向かう側、タイヤ径方向外側とはタイヤ径方向において回転軸から離れる側をいう。また、タイヤ周方向とは、上記回転軸を中心軸とする周り方向をいう。さらに、タイヤ幅方向とは、上記回転軸と平行な方向をいい、タイヤ幅方向内側とはタイヤ幅方向においてタイヤ赤道面(タイヤ赤道線)に向かう側、タイヤ幅方向外側とはタイヤ幅方向においてタイヤ赤道面から離れる側をいう。なお、タイヤ赤道面とは、タイヤの回転軸に直交するとともに、タイヤ幅の中心を通る平面である。
(【0011】以降は省略されています)
この特許をJ-PlatPat(特許庁公式サイト)で参照する
関連特許
横浜ゴム株式会社
タイヤ
1か月前
横浜ゴム株式会社
タイヤ
1か月前
横浜ゴム株式会社
タイヤ
1か月前
横浜ゴム株式会社
タイヤ
2か月前
横浜ゴム株式会社
タイヤ
2か月前
横浜ゴム株式会社
タイヤ
1か月前
横浜ゴム株式会社
タイヤ
2か月前
横浜ゴム株式会社
タイヤ
2か月前
横浜ゴム株式会社
タイヤ
2か月前
横浜ゴム株式会社
タイヤ
1か月前
横浜ゴム株式会社
タイヤ
1か月前
横浜ゴム株式会社
タイヤ
1か月前
横浜ゴム株式会社
タイヤ
1か月前
横浜ゴム株式会社
タイヤ
2か月前
横浜ゴム株式会社
タイヤ
2か月前
横浜ゴム株式会社
タイヤ
1か月前
横浜ゴム株式会社
タイヤ
1か月前
横浜ゴム株式会社
タイヤ
2か月前
横浜ゴム株式会社
タイヤ
2か月前
横浜ゴム株式会社
タイヤ
2か月前
横浜ゴム株式会社
タイヤ
1か月前
横浜ゴム株式会社
タイヤ
1か月前
横浜ゴム株式会社
タイヤ
1か月前
横浜ゴム株式会社
タイヤ
2か月前
横浜ゴム株式会社
タイヤ
1か月前
横浜ゴム株式会社
タイヤ
3か月前
横浜ゴム株式会社
タイヤ
3か月前
横浜ゴム株式会社
タイヤ
今日
横浜ゴム株式会社
タイヤ
3か月前
横浜ゴム株式会社
音響材
12日前
横浜ゴム株式会社
タイヤ
19日前
横浜ゴム株式会社
タイヤ
3か月前
横浜ゴム株式会社
タイヤ
3か月前
横浜ゴム株式会社
タイヤ
3か月前
横浜ゴム株式会社
タイヤ
3か月前
横浜ゴム株式会社
タイヤ
19日前
続きを見る
他の特許を見る