TOP
|
特許
|
意匠
|
商標
特許ウォッチ
Twitter
他の特許を見る
公開番号
2025161596
公報種別
公開特許公報(A)
公開日
2025-10-24
出願番号
2024064917
出願日
2024-04-12
発明の名称
タイヤ
出願人
横浜ゴム株式会社
代理人
個人
,
個人
,
個人
,
個人
,
個人
主分類
B60C
11/12 20060101AFI20251017BHJP(車両一般)
要約
【課題】陸部全体の剛性を高めることで、ウェット性能を可能な限り低減させずに、各種氷上性能を向上させること。
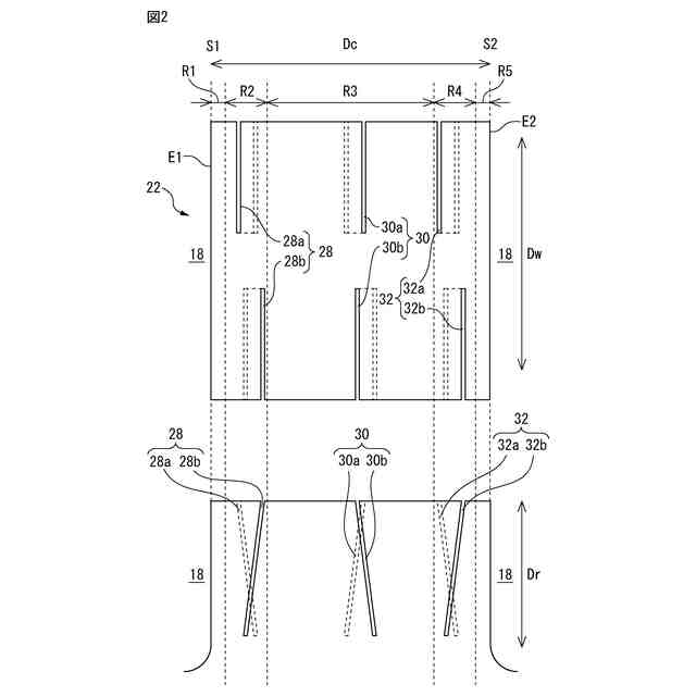
【解決手段】陸部(22)の少なくとも1つに、タイヤ径方向(Dr)に対して互いにタイヤ周方向(Dc)の反対側に傾斜する2つのサイプからなるサイプユニット(28、30、32)が形成され、5%の位置から20%未満の位置までを第2の領域(R2)、20%の位置から80%未満の位置までを第3の領域(R3)、80%の位置から95%未満の位置までを第4の領域(R4)とした場合に、第2の領域、第3の領域、及び第4の領域、のそれぞれに、少なくとも1つのサイプユニットが形成されており、タイヤ幅方向に沿って延在する陸部のエッジ(E1、E2)が切れ目なく連続的に存在する。
【選択図】図2
特許請求の範囲
【請求項1】
複数の溝によって区画形成された陸部の少なくとも1つに、タイヤ径方向に対して互いにタイヤ周方向の反対側に傾斜する2つのサイプからなるサイプユニットが形成され、
前記陸部のタイヤ周方向における踏み込み側端部を0%の位置とするとともに、蹴り出し側端部を100%の位置とし、
0%の位置から5%未満の位置までを第1の領域、5%の位置から20%未満の位置までを第2の領域、20%の位置から80%未満の位置までを第3の領域、80%の位置から95%未満の位置までを第4の領域、及び95%の位置から100%の位置までを第5の領域とした場合に、
前記第2の領域、前記第3の領域、及び前記第4の領域、のそれぞれに、少なくとも1つの前記サイプユニットが形成されており、
タイヤ幅方向に沿って延在する陸部のエッジが切れ目なく連続的に存在する、ことを特徴とするタイヤ。
続きを表示(約 1,100 文字)
【請求項2】
前記サイプのタイヤ径方向におけるトレッド表面位置を0%の深さ位置とするとともに、前記サイプのタイヤ径方向における底位置を100%の深さ位置とし、
前記サイプユニットのそれぞれを、タイヤ幅方向一方側から透視した場合に、前記第2の領域及び前記第4の領域において、各サイプユニットを構成する2つのサイプの交差位置が、50%超の深さ位置から100%以下の深さ位置である、請求項1に記載のタイヤ。
【請求項3】
前記サイプのタイヤ径方向におけるトレッド表面位置を0%の深さ位置とするとともに、前記サイプのタイヤ径方向における底位置を100%の深さ位置とし、
前記サイプユニットのそれぞれを、タイヤ幅方向一方側から透視した場合に、前記第3の領域において、各サイプユニットを構成する2つのサイプの交差位置が、0%超の深さ位置から50%以下の深さ位置である、請求項1又は2に記載のタイヤ。
【請求項4】
前記サイプユニットのそれぞれを、タイヤ幅方向一方側から透視した場合において、前記サイプのタイヤ径方向に対するタイヤ周方向のそれぞれの側への傾斜角度の絶対値は、1°以上10°以下である、請求項1又は2に記載のタイヤ。
【請求項5】
前記サイプユニットを構成する2つのサイプにおいて、前記傾斜角度の絶対値が等しい、請求項4に記載のタイヤ。
【請求項6】
前記サイプユニットのそれぞれを、タイヤ幅方向一方側から透視した場合において、隣り合うサイプユニット間におけるサイプ同士のタイヤ周方向最短距離、前記第2の領域の前記サイプから前記タイヤ幅方向に沿って延在する陸部の踏み込み側のエッジまでのタイヤ周方向最短距離、及び前記第4の領域の前記サイプから前記タイヤ幅方向に沿って延在する陸部の蹴り出し側エッジまでのタイヤ周方向最短距離が、2.0mm以上である、請求項1又は2に記載のタイヤ。
【請求項7】
前記サイプの深さは、深さが最大の溝の深さの90%以下である、請求項1又は2に記載のタイヤ。
【請求項8】
前記サイプは、平板サイプ、2次元サイプ、及び3次元サイプのいずれかである、請求項1又は2に記載のタイヤ。
【請求項9】
前記サイプのタイヤ幅方向一端は前記溝に連通し、タイヤ幅方向他端は陸部内で終端している、請求項1又は2に記載のタイヤ。
【請求項10】
前記サイプのタイヤ幅方向一端が、タイヤ径方向外側部分のみで前記溝に連通している、請求項9に記載のタイヤ。
発明の詳細な説明
【技術分野】
【0001】
本発明は、サイプを含むタイヤに関する。
続きを表示(約 1,800 文字)
【背景技術】
【0002】
従来、陸部形状、パターン形状等に実質的に影響を与えることなく、残留応力を低減して直進安定を向上すべく、トレッドに区画形成された複数の陸部のそれぞれに、4つのサイプを設けたタイヤであって、当該サイプの一端が陸部の各側面で溝に開口するとともに他端が陸部内で終端する、タイヤが開示されている。
【先行技術文献】
【特許文献】
【0003】
特開平10-138715号公報
【発明の概要】
【発明が解決しようとする課題】
【0004】
特許文献1に開示されたタイヤにおいては、タイヤ平面視で、サイプの一端がタイヤ幅方向成分の大きい陸部のエッジを分断して溝に連通していることから、陸部の当該溝付近における剛性が十分に得られないおそれがある。また、このようなタイヤにおいては、タイヤ平面視で、同じ方向に延在するサイプ同士の配置関係について特に規定がなされていないことから、陸部剛性が局所的に高すぎたり、低すぎたりするおそれがある。
【0005】
近年では、このように局所的に異なる陸部剛性を改善することにより、ウェット性能を低減させずに、各種氷上性能を向上させ、さらに耐摩耗性も向上させた、タイヤの開発が望まれている。
【0006】
本発明は、上記事情に鑑みてなされたものであって、サイプが形成された陸部全体の剛性を高めることで、ウェット性能を低減させずに、各種氷上性能を向上させ、さらに耐摩耗性も向上させたタイヤを提供することを目的とする。
【課題を解決するための手段】
【0007】
本発明のタイヤは、複数の溝によって区画形成された陸部の少なくとも1つに、タイヤ径方向に対して互いにタイヤ周方向の反対側に傾斜する2つのサイプからなるサイプユニットが形成され、
前記陸部のタイヤ周方向における踏み込み側端部を0%の位置とするとともに、蹴り出し側端部を100%の位置とし、
0%の位置から5%未満の位置までを第1の領域、5%の位置から20%未満の位置までを第2の領域、20%の位置から80%未満の位置までを第3の領域、80%の位置から95%未満の位置までを第4の領域、及び95%の位置から100%の位置までを第5の領域とした場合に、
前記第2の領域、前記第3の領域、及び前記第4の領域、のそれぞれに、少なくとも1つの前記サイプユニットが形成されており、
タイヤ幅方向に沿って延在する陸部のエッジが切れ目なく連続的に存在する、ことを特徴とする。
【発明の効果】
【0008】
本発明に係るタイヤでは、サイプユニットが形成された陸部のタイヤ周方向において区分された、第2の領域と、第3の領域と、第4の領域と、のそれぞれに、少なくとも1つのサイプユニットが形成されるとともに、タイヤ幅方向に沿って延在する陸部のエッジが切れ目なく連続的に存在している。これにより、サイプが形成された陸部の剛性を局所的に高めたり、低くしたりするだけでなく、特に陸部のタイヤ周方向端部の剛性を高めて、サイプが形成された陸部全体の剛性をバランス良く高めている。その結果、ウェット性能を低減させずに、各種氷上性能を向上させ、さらに耐摩耗性も向上させることができる。
【図面の簡単な説明】
【0009】
図1は、本実施形態に係るタイヤをタイヤ径方向外側からみた平面視での、タイヤ赤道面を基準としたタイヤ幅方向両側の部分を示す図である。
図2は、図1の丸が込み部分Xを示す拡大図である。
図3は、図2に示す陸部を示す斜視図である。
図4は、図3の丸が込み部分Yを示すタイヤ周方向断面図である。
図5は、図2に示す陸部において、タイヤ周方向に隣り合う2つのサイプユニット間の距離(サイプ間の距離)を示す透視図である。
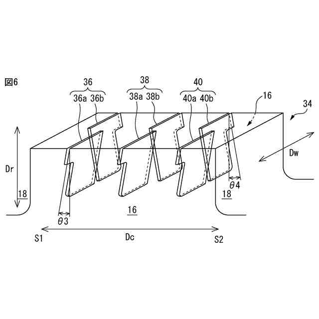
図6は、図3に示すサイプユニットの変形例を示す斜視図である。
図7は、従来のタイヤをタイヤ径方向外側からみた平面視での、タイヤ赤道面を基準としたタイヤ幅方向両側の部分を示す図である。
【発明を実施するための形態】
【0010】
<本発明の態様>
本発明の実施形態は、以下の態様に関する。
(【0011】以降は省略されています)
この特許をJ-PlatPat(特許庁公式サイト)で参照する
関連特許
横浜ゴム株式会社
タイヤ
2か月前
横浜ゴム株式会社
タイヤ
2か月前
横浜ゴム株式会社
タイヤ
1か月前
横浜ゴム株式会社
タイヤ
1か月前
横浜ゴム株式会社
タイヤ
1か月前
横浜ゴム株式会社
タイヤ
1か月前
横浜ゴム株式会社
タイヤ
1か月前
横浜ゴム株式会社
タイヤ
2か月前
横浜ゴム株式会社
タイヤ
1か月前
横浜ゴム株式会社
タイヤ
1か月前
横浜ゴム株式会社
タイヤ
1か月前
横浜ゴム株式会社
タイヤ
1か月前
横浜ゴム株式会社
タイヤ
1か月前
横浜ゴム株式会社
タイヤ
2か月前
横浜ゴム株式会社
タイヤ
1か月前
横浜ゴム株式会社
タイヤ
2か月前
横浜ゴム株式会社
タイヤ
2か月前
横浜ゴム株式会社
タイヤ
2か月前
横浜ゴム株式会社
タイヤ
2か月前
横浜ゴム株式会社
タイヤ
2か月前
横浜ゴム株式会社
タイヤ
2か月前
横浜ゴム株式会社
タイヤ
2か月前
横浜ゴム株式会社
タイヤ
2か月前
横浜ゴム株式会社
タイヤ
2か月前
横浜ゴム株式会社
タイヤ
2か月前
横浜ゴム株式会社
タイヤ
2か月前
横浜ゴム株式会社
タイヤ
1か月前
横浜ゴム株式会社
タイヤ
1か月前
横浜ゴム株式会社
タイヤ
3か月前
横浜ゴム株式会社
タイヤ
29日前
横浜ゴム株式会社
音響材
8日前
横浜ゴム株式会社
タイヤ
2か月前
横浜ゴム株式会社
タイヤ
15日前
横浜ゴム株式会社
タイヤ
24日前
横浜ゴム株式会社
タイヤ
24日前
横浜ゴム株式会社
タイヤ
15日前
続きを見る
他の特許を見る