TOP
|
特許
|
意匠
|
商標
特許ウォッチ
Twitter
他の特許を見る
10個以上の画像は省略されています。
公開番号
2025140910
公報種別
公開特許公報(A)
公開日
2025-09-29
出願番号
2024040558
出願日
2024-03-14
発明の名称
タイヤ
出願人
横浜ゴム株式会社
代理人
弁理士法人酒井国際特許事務所
主分類
B60C
11/13 20060101AFI20250919BHJP(車両一般)
要約
【課題】タイヤ新品時および摩耗中期におけるウェット制動性能を両立できるタイヤを提供すること。
【解決手段】このタイヤ1では、陸部が、ブロック322の踏面に開口することなくタイヤ幅方向に延在して、一方の端部43にてブロック322のタイヤ幅方向外側の側面に開口すると共に他方の端部44にてブロック322の内部で終端する隠し溝4を備える。また、ブロック322の踏面側における隠し溝4の溝幅W41が、溝底42側における隠し溝4の溝幅W42に対してW41<W42の範囲にある。
【選択図】図3
特許請求の範囲
【請求項1】
主溝と、前記主溝に区画された陸部とを備えるタイヤであって、
前記陸部が、前記陸部の踏面に開口することなくタイヤ幅方向に延在して、一方の端部にて前記陸部のタイヤ幅方向外側の側面に開口すると共に他方の端部にて前記陸部の内部で終端する隠し溝を備え、且つ、
前記陸部の踏面側における前記隠し溝の溝幅W41が、溝底側における前記隠し溝の溝幅W42に対してW41<W42の範囲にあることを特徴とするタイヤ。
続きを表示(約 840 文字)
【請求項2】
前記溝底側における前記隠し溝の溝幅W42が、前記陸部のピッチ長PLに対して0.05≦W42/PL≦0.50の範囲にある請求項1に記載のタイヤ。
【請求項3】
前記陸部の踏面側における前記隠し溝の溝幅W41が、溝底側における前記隠し溝の溝幅W42に対して0.10≦W41/W42≦0.80の範囲にある請求項1に記載のタイヤ。
【請求項4】
前記一方の端部における前記隠し溝の高さH43が、前記主溝の有効溝深さH2’に対して0.55≦H43/H2’≦0.95の範囲にある請求項1に記載のタイヤ。
【請求項5】
前記他方の端部における前記隠し溝の高さH44が、前記一方の端部における前記隠し溝の高さH43に対して0.10≦H44/H43≦0.90の範囲にある請求項1に記載のタイヤ。
【請求項6】
前記溝底側における前記隠し溝の延在長さL42が、前記陸部の最大接地幅WLに対して0.30≦L42/WL≦0.90の範囲にある請求項1に記載のタイヤ。
【請求項7】
前記陸部の踏面側における前記隠し溝の延在長さL41が、前記溝底側における前記隠し溝の延在長さL42に対して0.10≦L41/L42≦0.90の範囲にある請求項1に記載のタイヤ。
【請求項8】
前記陸部の踏面側における前記隠し溝の溝幅W41が、1.0[mm]≦W41≦6.0[mm]の範囲にある請求項1に記載のタイヤ。
【請求項9】
前記陸部の踏面から前記隠し溝の頂部までの距離H41が、前記主溝の有効溝深さH2’に対して0.10≦H41/H2’≦0.45の範囲にある請求項1に記載のタイヤ。
【請求項10】
前記溝底側における前記隠し溝の溝幅W42が、前記一方の端部から前記他方の端部に向かって単調減少する請求項1に記載のタイヤ。
(【請求項11】以降は省略されています)
発明の詳細な説明
【技術分野】
【0001】
この発明は、タイヤに関し、さらに詳しくは、タイヤ新品時および摩耗中期におけるウェット制動性能を両立できるタイヤに関する。
続きを表示(約 2,400 文字)
【背景技術】
【0002】
近年のタイヤでは、摩耗中期以降におけるタイヤのウェット制動性能を向上すべき課題がある。このような課題に関する従来のタイヤとして、特許文献1に記載される技術が知られている。
【先行技術文献】
【特許文献】
【0003】
特開2019-112039号公報
【発明の概要】
【発明が解決しようとする課題】
【0004】
この発明は、タイヤ新品時および摩耗中期におけるウェット制動性能を両立できるタイヤを提供することを目的とする。
【課題を解決するための手段】
【0005】
上記目的を達成するため、この発明にかかるタイヤは、主溝と、前記主溝に区画された陸部とを備えるタイヤであって、前記陸部が、前記陸部の踏面に開口することなくタイヤ幅方向に延在して、一方の端部にて前記陸部のタイヤ幅方向外側の側面に開口すると共に他方の端部にて前記陸部の内部で終端する隠し溝を備え、且つ、前記陸部の踏面側における前記隠し溝の溝幅W41が、溝底側における前記隠し溝の溝幅W42に対してW41<W42の範囲にあることを特徴とする。
【発明の効果】
【0006】
この発明にかかるタイヤでは、(1)タイヤ新品時にて隠し溝が陸部の踏面に開口しないので、踏面に開口する追加の細溝を備える構成と比較して、タイヤ新品時における陸部の剛性が確保されてタイヤのウェット制動性能が確保される。また、(2)主溝の溝深さが浅くなる摩耗中期にて隠し溝が陸部の踏面に現れることにより、摩耗中期以降のタイヤのウェット制動性能が確保される。また、(3)隠し溝の一方の端部、すなわちタイヤ幅方向外側の端部が、陸部のタイヤ幅方向外側の側面に開口するので、隠し溝の排水性が確保され、また、隠し溝の他方の端部、すなわちタイヤ幅方向内側の端部が、陸部の内部で終端するので、陸部の剛性が確保される。さらに、(4)陸部の踏面側、すなわち隠し溝の頂部側における隠し溝の溝幅W41が、溝底側における隠し溝の溝幅W42に対してW41<W42の範囲にあることにより、摩耗中期から摩耗末期における隠し溝の排水性の確保と陸部の剛性の確保とが両立する。これらにより、タイヤ新品時から摩耗末期までのタイヤのウェット制動性能が確保される利点がある。
【図面の簡単な説明】
【0007】
図1は、この発明の実施の形態にかかるタイヤ1を示すタイヤ子午線方向の断面図である。
図2は、図1に記載したタイヤのトレッド面を示す平面図である。
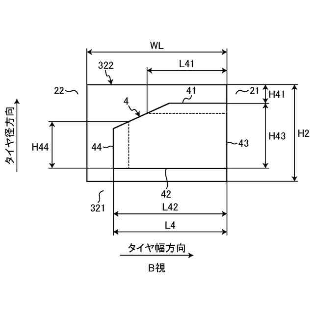
図3は、図2に記載したタイヤの隠し溝を示す説明図である。
図4は、図3に記載したブロックのA視断面図である。
図5は、図3に記載したブロックのB視断面図である。
図6は、図3に記載したブロックのC視図である。
図7は、図3に記載した隠し溝の変形例を示す説明図である。
図8は、図3に記載した隠し溝の変形例を示す説明図である。
図9は、図3に記載した隠し溝の変形例を示す説明図である。
図10は、図3に記載した隠し溝の変形例を示す説明図である。
図11は、図3に記載した隠し溝の変形例を示す説明図である。
図12は、図3に記載した隠し溝の変形例を示す説明図である。
図13は、図3に記載した隠し溝の変形例を示す説明図である。
図14は、図3に記載した隠し溝の変形例を示す説明図である。
図15は、図3に記載した隠し溝の変形例を示す説明図である。
図16は、図3に記載した隠し溝の変形例を示す説明図である。
図17は、図3に記載した隠し溝の変形例を示す説明図である。
図18は、図3に記載した隠し溝の変形例を示す説明図である。
図19は、図3に記載した隠し溝の変形例を示す説明図である。
図20は、図3に記載した隠し溝の変形例を示す説明図である。
図21は、図3に記載した隠し溝の変形例を示す説明図である。
図22は、図3に記載した隠し溝の変形例を示す説明図である。
図23は、この発明の実施の形態にかかるタイヤの性能試験の結果を示す図表である。
図24は、この発明の実施の形態にかかるタイヤの性能試験の結果を示す図表である。
図25は、図23に記載した比較例の試験タイヤを示す説明図である。
【発明を実施するための形態】
【0008】
以下、この発明につき図面を参照しつつ詳細に説明する。なお、この実施の形態によりこの発明が限定されるものではない。また、この実施の形態の構成要素には、発明の同一性を維持しつつ置換可能かつ置換自明なものが含まれる。また、この実施の形態に記載された複数の変形例は、当業者自明の範囲内にて任意に組み合わせが可能である。
【0009】
[タイヤ]
図1は、この発明の実施の形態にかかるタイヤ1を示すタイヤ子午線方向の断面図である。同図は、タイヤ径方向の片側領域の断面図を示している。この実施の形態では、タイヤの一例として、ライトトラック用の空気入りラジアルタイヤについて説明する。
【0010】
同図において、タイヤ子午線方向の断面は、タイヤ回転軸(図示省略)を含む平面でタイヤを切断したときの断面として定義される。また、タイヤ赤道面CLは、JATMAに規定されたタイヤ断面幅の中点を通りタイヤ回転軸に垂直な平面として定義される。また、タイヤ幅方向は、タイヤ回転軸に平行な方向として定義され、タイヤ径方向は、タイヤ回転軸に垂直な方向として定義される。
(【0011】以降は省略されています)
この特許をJ-PlatPat(特許庁公式サイト)で参照する
関連特許
横浜ゴム株式会社
タイヤ
24日前
横浜ゴム株式会社
音響材
8日前
横浜ゴム株式会社
タイヤ
24日前
横浜ゴム株式会社
タイヤ
23日前
横浜ゴム株式会社
タイヤ
15日前
横浜ゴム株式会社
タイヤ
15日前
横浜ゴム株式会社
空気入りタイヤ
15日前
横浜ゴム株式会社
空気入りタイヤ
15日前
横浜ゴム株式会社
多層空洞音響材
15日前
横浜ゴム株式会社
タイヤ用ゴム組成物
8日前
横浜ゴム株式会社
ゴム組成物の製造方法
18日前
横浜ゴム株式会社
タイヤ及びその製造方法
23日前
横浜ゴム株式会社
タイヤ及びその製造方法
23日前
横浜ゴム株式会社
空気入りタイヤ及びその製造方法
16日前
横浜ゴム株式会社
充填タイヤ用発泡体及び充填タイヤ
16日前
横浜ゴム株式会社
ホウ素含有シランカップリング剤及びゴム組成物
15日前
横浜ゴム株式会社
タイヤ成形装置の検査方法およびタイヤの成形方法
8日前
横浜ゴム株式会社
水中音響材の被取り付け面への取り付け構造および水中音響材
15日前
横浜ゴム株式会社
スタッドレスタイヤ用ゴム組成物およびそれを用いたスタッドレスタイヤ
15日前
横浜ゴム株式会社
学習済モデルの生成方法、学習装置、学習プログラム、推定方法、推定装置及び推定プログラム
2日前
横浜ゴム株式会社
水中音響材の被取り付け面への取り付け構造および水中構造体の被取り付け面を水中音響材で覆う構造ならびに水中音響材
15日前
個人
上部一体型自動車
1か月前
個人
空間形成装置
23日前
個人
マスタシリンダ
1か月前
日本精機株式会社
照明装置
18日前
個人
常設収納型サンバイザー
29日前
日本精機株式会社
画像投映装置
1か月前
個人
回転窓ワイパー装置
23日前
株式会社豊田自動織機
産業車両
18日前
日本精機株式会社
車載表示装置
24日前
日本精機株式会社
車載表示装置
26日前
日本精機株式会社
車載表示装置
1か月前
日本精機株式会社
車両用投射装置
1か月前
日本精機株式会社
車両用報知装置
1か月前
株式会社SUBARU
車両
1か月前
日本精機株式会社
車両用表示装置
1か月前
続きを見る
他の特許を見る