TOP
|
特許
|
意匠
|
商標
特許ウォッチ
Twitter
他の特許を見る
公開番号
2025146508
公報種別
公開特許公報(A)
公開日
2025-10-03
出願番号
2024047333
出願日
2024-03-22
発明の名称
タイヤ
出願人
横浜ゴム株式会社
代理人
個人
,
個人
,
個人
,
個人
,
個人
,
個人
主分類
B60C
11/13 20060101AFI20250926BHJP(車両一般)
要約
【課題】スノー性能により優れるタイヤを提供する。
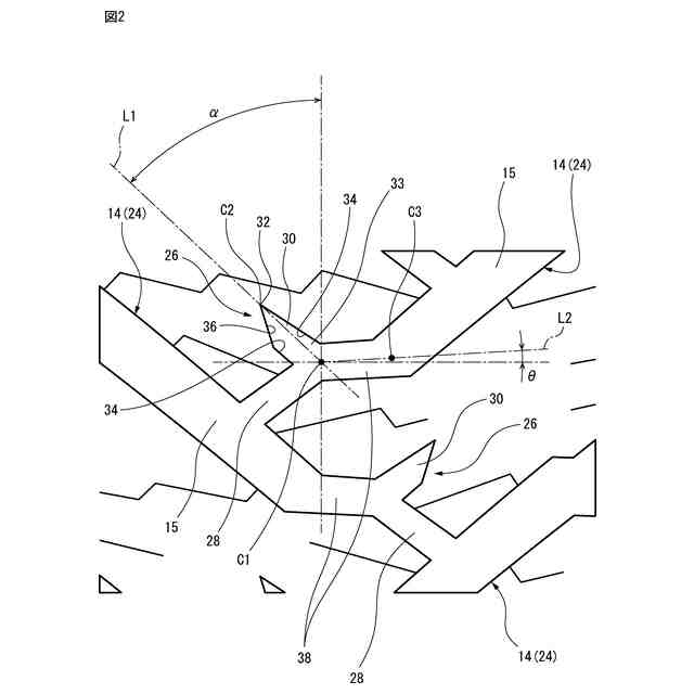
【解決手段】タイヤ10はトレッド面12を有する。トレッド面12は、接地端Eからタイヤ赤道面CPに向かってタイヤ周方向の一側へ傾斜し、タイヤ周方向に複数配置された傾斜溝14と、タイヤ赤道面CPに対しタイヤ幅方向の両側にそれぞれ配置され、傾斜溝14同士を連通するタイヤ周方向に沿って延在する周方向溝16と、を備える。傾斜溝14は、周方向溝16の間に区画形成されたセンター陸部54に形成された分岐溝部26を有する。分岐溝部26は、第1分岐溝28と、第2分岐溝30と、を含む。第1分岐溝28は、タイヤ周方向の一側へ傾斜し、先端がタイヤ周方向の一側に隣接する他の傾斜溝14に連通している。第2分岐溝30は、タイヤ周方向に対し第1分岐溝28と逆側へ傾斜し、先端がセンター陸部54内で終端している。
【選択図】図1
特許請求の範囲
【請求項1】
トレッド面を有するタイヤであって、
前記トレッド面は、
接地端からタイヤ赤道面に向かってタイヤ周方向の一側へ傾斜し、タイヤ周方向に複数配置された傾斜溝と、
タイヤ赤道面に対しタイヤ幅方向の両側にそれぞれ配置され、前記傾斜溝同士を連通するタイヤ周方向に沿って延在する周方向溝と、を備え、
前記傾斜溝は、前記周方向溝同士の間に区画形成されたセンター陸部に形成された分岐溝部を有し、
前記分岐溝部は、第1分岐溝と、第2分岐溝と、を含み、
前記第1分岐溝は、タイヤ周方向の一側へ傾斜し、先端がタイヤ周方向の一側に隣接する他の前記傾斜溝に連通しており、
前記第2分岐溝は、タイヤ周方向に対し前記第1分岐溝と逆側へ傾斜し、先端が前記センター陸部内で終端している、タイヤ。
続きを表示(約 610 文字)
【請求項2】
前記第2分岐溝は、タイヤ赤道面を中心とする第1センター領域に配置され、前記第1センター領域のタイヤ幅方向の長さは接地幅の20%以下であり、前記第2分岐溝の延在方向とタイヤ周方向とのなす角度αが45°以上60°以下である、請求項1に記載のタイヤ。
【請求項3】
前記第2分岐溝は、先細形状である、請求項1に記載のタイヤ。
【請求項4】
前記傾斜溝は、前記分岐溝部の基端にタイヤ幅方向に沿って延在する幅方向溝部を有し、
前記幅方向溝部は、タイヤ赤道面を中心とする第2センター領域に配置され、前記第2センター領域のタイヤ幅方向の長さは接地幅の5%以上10%以下である、請求項1に記載のタイヤ。
【請求項5】
前記傾斜溝は、複数の凸部を有し、
前記複数の凸部は、前記周方向溝よりタイヤ幅方向外側に配置されている、請求項1に記載のタイヤ。
【請求項6】
前記周方向溝の延在方向とタイヤ周方向とのなす角度βが5°以上20°以下である請求項1に記載のタイヤ。
【請求項7】
前記タイヤ周方向の一側が踏み込み側である、請求項1に記載のタイヤ。
【請求項8】
前記凸部は、踏み込み側に形成されている、請求項5に記載のタイヤ。
【請求項9】
スタッドタイヤである、請求項1に記載のタイヤ。
発明の詳細な説明
【技術分野】
【0001】
本発明は、タイヤに関する。
続きを表示(約 1,400 文字)
【背景技術】
【0002】
冬用タイヤとして、例えば特許文献1は、トレッド部に、タイヤ軸方向の一方側の第1トレッド端からタイヤ赤道側に向かって斜めに延びる複数の第1傾斜溝が設けられ、第1傾斜溝は、第1トレッド端から延びかつタイヤ赤道の手前まで延びる本体部と、本体部から分岐してタイヤ赤道を横切る分岐部とを含み、分岐部は、第1傾斜溝以外の他の溝に連なることなく途切れているタイヤを開示している。
【先行技術文献】
【特許文献】
【0003】
特開2018-193056号公報
【発明の概要】
【発明が解決しようとする課題】
【0004】
冬用タイヤは、氷雪路面において、さらなる制動性能の向上が望まれている。
【0005】
本発明は、スノー性能により優れるタイヤを提供することを目的とする。
【課題を解決するための手段】
【0006】
本発明のタイヤは、トレッド面を有するタイヤであって、
前記トレッド面は、
接地端からタイヤ赤道面に向かってタイヤ周方向の一側へ傾斜し、タイヤ周方向に複数配置された傾斜溝と、
タイヤ赤道面に対しタイヤ幅方向の両側にそれぞれ配置され、前記傾斜溝同士を連通するタイヤ周方向に沿って延在する周方向溝と、を備え、
前記傾斜溝は、前記周方向溝同士の間に区画形成されたセンター陸部に形成された分岐溝部を有し、
前記分岐溝部は、第1分岐溝と、第2分岐溝と、を含み、
前記第1分岐溝は、タイヤ周方向の一側へ傾斜し、先端がタイヤ周方向の一側に隣接する他の前記傾斜溝に連通しており、
前記第2分岐溝は、タイヤ周方向に対し前記第1分岐溝と逆側へ傾斜し、先端が前記センター陸部内で終端している。
【発明の効果】
【0007】
本発明によれば、スノー性能により優れる。
【図面の簡単な説明】
【0008】
本実施形態に係るタイヤのトレッド面の一例を示す平面図である。
図1におけるII-II部分の拡大図である。
図1におけるIII-III部分の拡大図である。
【発明を実施するための形態】
【0009】
本発明のタイヤは以下の態様に関する。
【0010】
[態様1]
トレッド面を有するタイヤであって、
前記トレッド面は、
接地端からタイヤ赤道面に向かってタイヤ周方向の一側へ傾斜し、タイヤ周方向に複数配置された傾斜溝と、
タイヤ赤道面に対しタイヤ幅方向の両側にそれぞれ配置され、前記傾斜溝同士を連通するタイヤ周方向に沿って延在する周方向溝と、を備え、
前記傾斜溝は、前記周方向溝同士の間に区画形成されたセンター陸部に形成された分岐溝部を有し、
前記分岐溝部は、第1分岐溝と、第2分岐溝と、を含み、
前記第1分岐溝は、タイヤ周方向の一側へ傾斜し、先端がタイヤ周方向の一側に隣接する他の前記傾斜溝に連通しており、
前記第2分岐溝は、タイヤ周方向に対し前記第1分岐溝と逆側へ傾斜し、先端が前記センター陸部内で終端している、タイヤ。
(【0011】以降は省略されています)
この特許をJ-PlatPat(特許庁公式サイト)で参照する
関連特許
横浜ゴム株式会社
タイヤ
2か月前
横浜ゴム株式会社
タイヤ
2か月前
横浜ゴム株式会社
タイヤ
28日前
横浜ゴム株式会社
タイヤ
28日前
横浜ゴム株式会社
タイヤ
1か月前
横浜ゴム株式会社
タイヤ
2か月前
横浜ゴム株式会社
タイヤ
1か月前
横浜ゴム株式会社
タイヤ
1か月前
横浜ゴム株式会社
タイヤ
1か月前
横浜ゴム株式会社
タイヤ
1か月前
横浜ゴム株式会社
タイヤ
2か月前
横浜ゴム株式会社
タイヤ
27日前
横浜ゴム株式会社
タイヤ
1か月前
横浜ゴム株式会社
タイヤ
1か月前
横浜ゴム株式会社
タイヤ
2か月前
横浜ゴム株式会社
タイヤ
2か月前
横浜ゴム株式会社
タイヤ
1か月前
横浜ゴム株式会社
タイヤ
1か月前
横浜ゴム株式会社
タイヤ
1か月前
横浜ゴム株式会社
タイヤ
1か月前
横浜ゴム株式会社
タイヤ
2か月前
横浜ゴム株式会社
タイヤ
2か月前
横浜ゴム株式会社
タイヤ
2か月前
横浜ゴム株式会社
タイヤ
21日前
横浜ゴム株式会社
音響材
6日前
横浜ゴム株式会社
タイヤ
13日前
横浜ゴム株式会社
タイヤ
2か月前
横浜ゴム株式会社
タイヤ
13日前
横浜ゴム株式会社
タイヤ
2か月前
横浜ゴム株式会社
タイヤ
22日前
横浜ゴム株式会社
タイヤ
22日前
横浜ゴム株式会社
タイヤ
22日前
横浜ゴム株式会社
重荷重タイヤ
1か月前
横浜ゴム株式会社
空気入りタイヤ
23日前
横浜ゴム株式会社
空気入りタイヤ
24日前
横浜ゴム株式会社
多層空洞音響材
13日前
続きを見る
他の特許を見る