TOP
|
特許
|
意匠
|
商標
特許ウォッチ
Twitter
他の特許を見る
公開番号
2025160711
公報種別
公開特許公報(A)
公開日
2025-10-23
出願番号
2024063451
出願日
2024-04-10
発明の名称
タイヤ
出願人
横浜ゴム株式会社
代理人
個人
,
個人
,
個人
,
個人
,
個人
,
個人
主分類
B60C
11/03 20060101AFI20251016BHJP(車両一般)
要約
【課題】スノー性能、ウエット性能及びドライ性能に優れたタイヤを提供する。
【解決手段】外側陸部20に、傾斜溝50と、傾斜細溝52と、逆傾斜溝54と、周方向細溝88が配置されている。傾斜溝50は、周方向主溝16からタイヤ幅方向外側に向かって延在し、踏み込み側から蹴り出し側へ傾斜しており、トレッド端Tに接続された先端を有する。傾斜細溝52は、周方向主溝16からタイヤ幅方向外側に向かって延在し、踏み込み側から蹴り出し側へ傾斜し、外側陸部20内に配置された先端を有する。逆傾斜溝54は、蹴り出し側から踏み込み側に向かって延在し、タイヤ幅方向内側から外側へ傾斜している。周方向細溝88は、接地端からタイヤ幅方向内側へ、タイヤ赤道面CPから接地端までのタイヤ幅方向長さWhの5%以上15%以下の範囲に配置されている。
【選択図】図1
特許請求の範囲
【請求項1】
周方向主溝と、
少なくとも2本の前記周方向主溝によって区画形成された内側陸部と、
前記周方向主溝を挟んで前記内側陸部に対しタイヤ幅方向外側にそれぞれ配置された外側陸部と、を備え、
前記外側陸部に配置された、傾斜溝と、傾斜細溝と、逆傾斜溝と、周方向細溝と、を有し、
前記傾斜溝は、前記周方向主溝からタイヤ幅方向外側に向かって延在し、タイヤ周方向の踏み込み側から蹴り出し側へ傾斜しており、トレッド端に接続された先端を有し、
前記傾斜細溝は、前記周方向主溝からタイヤ幅方向外側に向かって延在し、タイヤ周方向の踏み込み側から蹴り出し側へ傾斜し、前記外側陸部内に配置された先端を有し、
前記逆傾斜溝は、タイヤ周方向の蹴り出し側から踏み込み側に向かって延在し、タイヤ幅方向内側から外側へ傾斜しており、
前記周方向細溝は、接地端からタイヤ幅方向内側へ、タイヤ赤道面から接地端までのタイヤ幅方向長さの5%以上15%以下の範囲に配置されている、タイヤ。
続きを表示(約 1,200 文字)
【請求項2】
前記逆傾斜溝の延在方向と、タイヤ周方向と、のなす角度は、5°以上50°以下である、請求項1に記載のタイヤ。
【請求項3】
前記傾斜溝は、
第1溝深さを有する主傾斜部と、
主傾斜部のタイヤ幅方向内側の端部と前記周方向主溝との間に、前記第1溝深さより浅い第2溝深さを有する底上げ部と、
を有する、請求項1に記載のタイヤ。
【請求項4】
前記周方向細溝の溝幅は、前記周方向主溝の溝幅の15%以上75%以下である、請求項1に記載のタイヤ。
【請求項5】
前記周方向細溝は、タイヤ幅方向の各側にそれぞれ2本設けられており、2本の前記周方向細溝の内、タイヤ幅方向外側の前記周方向細溝の溝幅をWout、タイヤ幅方向内側の前記周方向細溝の溝幅をWinとした場合、下記式(1)を満たす、請求項1に記載のタイヤ。
0.3≦Wout/Win≦0.7・・・式(1)
【請求項6】
前記周方向細溝は、タイヤ幅方向の各側に2本設けられており、2本の前記周方向細溝の内、タイヤ幅方向外側の前記周方向細溝の溝深さをDout、タイヤ幅方向内側の前記周方向細溝の溝深さをDinとした場合、下記式(2)を満たす、請求項1に記載のタイヤ。
0.4≦Dout/Din≦0.8・・・式(2)
【請求項7】
前記内側陸部は、タイヤ周方向に配置された複数の内側傾斜サイプを有し、
前記内側傾斜サイプは、前記周方向主溝からタイヤ幅方向内側へ向かって延在し、タイヤ周方向の蹴り出し側から踏み込み側へ傾斜しており、深さが2.0mm以上の面取り部を有する、請求項1に記載のタイヤ。
【請求項8】
前記内側陸部は、タイヤ赤道面を含む位置に配置され、
前記内側傾斜サイプは、溝長さが互いに異なる第1内側傾斜サイプと、第2内側傾斜サイプとをそれぞれ複数有し、
前記第1内側傾斜サイプは、タイヤ赤道面と交差し、かつ前記内側陸部内に配置された先端と、タイヤ赤道面と交差した面取り部と、を有し、
前記第2内側傾斜サイプは、タイヤ赤道面と交差せず、かつ前記内側陸部内に配置された先端を有する、
請求項7に記載のタイヤ。
【請求項9】
前記面取り部は、第1面取り部と第2面取り部とを有し、
前記第1面取り部は、前記内側傾斜サイプの蹴り出し側に設けられており、
前記第2面取り部は、前記内側傾斜サイプの踏み込み側に設けられており、
前記内側傾斜サイプは、前記面取り部に隣接した、前記面取り部を有さない非面取り部を有する、請求項7に記載のタイヤ。
【請求項10】
前記内側傾斜サイプの深さをDcs、前記面取り部の深さをDc、とした場合、下記式(3)を満たす、請求項7に記載のタイヤ。
0.4≦Dc/Dcs≦0.8・・・式(3)
(【請求項11】以降は省略されています)
発明の詳細な説明
【技術分野】
【0001】
本発明は、タイヤに関する。
続きを表示(約 1,900 文字)
【背景技術】
【0002】
冬用タイヤとしては、雪上路面における制動性を向上したものが知られている。例えば、特許文献1は、トレッド面に、周方向に延びる少なくとも2本の周方向主溝と、両トレッド端からタイヤ中心線に向かって径方向に傾斜して延びる複数の横方向溝とによって、複数のブロック列を形成すると共に、各ブロックに、複数本のサイプを形成したタイヤを開示している。
【先行技術文献】
【特許文献】
【0003】
特開平5-301508号公報
【発明の概要】
【発明が解決しようとする課題】
【0004】
近年、冬用タイヤとしては、雪上路面における性能に加え、高いレベルのウエット性能及びドライ性能を兼ね備えることが求められている。
【0005】
本発明は、スノー性能、ウエット性能及びドライ性能に優れたタイヤを提供することを目的とする。
【課題を解決するための手段】
【0006】
本発明の一態様に係るタイヤは、
周方向主溝と、
少なくとも2本の前記周方向主溝によって区画形成された内側陸部と、
前記周方向主溝を挟んで前記内側陸部に対しタイヤ幅方向外側にそれぞれ配置された外側陸部と、を備え、
前記外側陸部に配置された、傾斜溝と、傾斜細溝と、逆傾斜溝と、周方向細溝と、を有し、
前記傾斜溝は、前記周方向主溝からタイヤ幅方向外側に向かって延在し、タイヤ周方向の踏み込み側から蹴り出し側へ傾斜しており、トレッド端に接続された先端を有し、
前記傾斜細溝は、前記周方向主溝からタイヤ幅方向外側に向かって延在し、タイヤ周方向の踏み込み側から蹴り出し側へ傾斜し、前記外側陸部内に配置された先端を有し、
前記逆傾斜溝は、タイヤ周方向の蹴り出し側から踏み込み側に向かって延在し、タイヤ幅方向内側から外側へ傾斜しており、
前記周方向細溝は、接地端からタイヤ幅方向内側へ、タイヤ赤道面から接地端までのタイヤ幅方向長さの5%以上15%以下の範囲に配置されている。
【発明の効果】
【0007】
本発明のタイヤは、スノー性能、ウエット性能及びドライ性能に優れる。
【図面の簡単な説明】
【0008】
本実施形態に係るタイヤの部分平面図である。
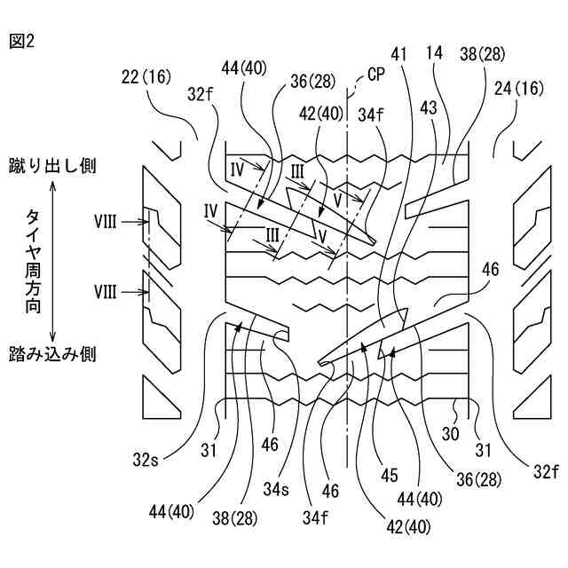
本実施形態に係るタイヤのタイヤ赤道面を中心とする部分拡大平面図である。
図2におけるIII-III線に沿った部分拡大断面図である。
図2におけるIV-IV線に沿った部分j拡大断面図である。
図2におけるV-V線に沿った部分拡大断面図である。
本実施形態に係るタイヤのタイヤ赤道面からタイヤ幅方向の一側の部分拡大平面図である。
図6におけるVII-VII線に沿った部分拡大断面図である。
図2におけるVIII-VIII線に沿った部分拡大断面図である。
図6におけるIX-IX線に沿った部分拡大断面図である。
本実施形態に係るタイヤのトレッド端を中心とする部分拡大平面図である。
図10におけるXI-XI線に沿った部分拡大断面図である。
変形例に係るタイヤの図2におけるVII-VII線に沿った部分拡大断面図である。
【発明を実施するための形態】
【0009】
本発明の実施形態は、以下の態様に関する。
【0010】
[態様1]
周方向主溝と、
少なくとも2本の前記周方向主溝によって区画形成された内側陸部と、
前記周方向主溝を挟んで前記内側陸部に対しタイヤ幅方向外側にそれぞれ配置された外側陸部と、を備え、
前記外側陸部に配置された、傾斜溝と、傾斜細溝と、逆傾斜溝と、周方向細溝と、を有し、
前記傾斜溝は、前記周方向主溝からタイヤ幅方向外側に向かって延在し、タイヤ周方向の踏み込み側から蹴り出し側へ傾斜しており、トレッド端に接続された先端を有し、
前記傾斜細溝は、前記周方向主溝からタイヤ幅方向外側に向かって延在し、タイヤ周方向の踏み込み側から蹴り出し側へ傾斜し、前記外側陸部内に配置された先端を有し、
前記逆傾斜溝は、タイヤ周方向の蹴り出し側から踏み込み側に向かって延在し、タイヤ幅方向内側から外側へ傾斜しており、
前記周方向細溝は、接地端からタイヤ幅方向内側へ、タイヤ赤道面から接地端までのタイヤ幅方向長さの5%以上15%以下の範囲に配置されている、タイヤ。
(【0011】以降は省略されています)
この特許をJ-PlatPat(特許庁公式サイト)で参照する
関連特許
横浜ゴム株式会社
タイヤ
1か月前
横浜ゴム株式会社
タイヤ
2か月前
横浜ゴム株式会社
タイヤ
1か月前
横浜ゴム株式会社
タイヤ
2か月前
横浜ゴム株式会社
タイヤ
28日前
横浜ゴム株式会社
タイヤ
3か月前
横浜ゴム株式会社
タイヤ
29日前
横浜ゴム株式会社
タイヤ
29日前
横浜ゴム株式会社
タイヤ
2か月前
横浜ゴム株式会社
タイヤ
3か月前
横浜ゴム株式会社
タイヤ
2か月前
横浜ゴム株式会社
タイヤ
2か月前
横浜ゴム株式会社
タイヤ
1か月前
横浜ゴム株式会社
タイヤ
2か月前
横浜ゴム株式会社
タイヤ
2か月前
横浜ゴム株式会社
タイヤ
2か月前
横浜ゴム株式会社
タイヤ
1か月前
横浜ゴム株式会社
タイヤ
2か月前
横浜ゴム株式会社
タイヤ
1か月前
横浜ゴム株式会社
タイヤ
1か月前
横浜ゴム株式会社
タイヤ
23日前
横浜ゴム株式会社
タイヤ
1か月前
横浜ゴム株式会社
タイヤ
23日前
横浜ゴム株式会社
音響材
7日前
横浜ゴム株式会社
タイヤ
1か月前
横浜ゴム株式会社
タイヤ
14日前
横浜ゴム株式会社
タイヤ
2か月前
横浜ゴム株式会社
タイヤ
1か月前
横浜ゴム株式会社
タイヤ
2か月前
横浜ゴム株式会社
タイヤ
1か月前
横浜ゴム株式会社
タイヤ
3か月前
横浜ゴム株式会社
タイヤ
14日前
横浜ゴム株式会社
タイヤ
2か月前
横浜ゴム株式会社
タイヤ
2か月前
横浜ゴム株式会社
タイヤ
2か月前
横浜ゴム株式会社
タイヤ
1か月前
続きを見る
他の特許を見る