TOP
|
特許
|
意匠
|
商標
特許ウォッチ
Twitter
他の特許を見る
10個以上の画像は省略されています。
公開番号
2025173806
公報種別
公開特許公報(A)
公開日
2025-11-28
出願番号
2024079583
出願日
2024-05-15
発明の名称
タイヤ
出願人
横浜ゴム株式会社
代理人
弁理士法人酒井国際特許事務所
主分類
B60C
11/03 20060101AFI20251120BHJP(車両一般)
要約
【課題】パターン構成の最適化により氷雪性能やウェット性能を確保しつつ耐摩耗性能を向上させることのできるタイヤを提供すること。
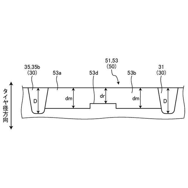
【解決手段】ショルダー主溝35とセンター主溝31との間にはタイヤ周方向に延びるストレート溝40が配置され、ショルダー主溝35とセンター主溝31との間にはストレート溝40に交差するセカンド幅方向溝51が配置され、セカンド幅方向溝51は幅広部52aと幅狭部52bとを有し、ショルダー主溝35に連通する幅狭部52bの溝深さがショルダー主溝35と同じ深さで、ストレート溝40に連通する幅狭部52bの溝深さがストレート溝40と同じ深さになっており、ショルダー主溝35とストレート溝40との間には、タイヤ周方向に隣り合うセカンド幅方向溝51同士の間に亘ってタイヤ周方向に延びると共に溝深さがショルダー主溝35及びストレート溝40の溝深さよりも浅い周方向細溝60が配置される。
【選択図】図3
特許請求の範囲
【請求項1】
トレッド部に配置されタイヤ周方向に延びる複数の周方向主溝と、
前記トレッド部に配置されタイヤ幅方向に延びる複数の幅方向溝と、
前記周方向主溝と前記幅方向溝とにより区画される陸部と、
を備え、
複数の前記周方向主溝は、
タイヤ幅方向における最も外側に配置されるショルダー主溝と、
前記ショルダー主溝に隣り合うセンター主溝と、
を有し、
前記ショルダー主溝と前記センター主溝との間には、タイヤ周方向に延びると共に溝深さが前記ショルダー主溝の溝深さよりも浅いストレート溝が配置され、
前記陸部は、
タイヤ幅方向における両側が前記センター主溝と前記ストレート溝とにより区画されるセンター陸部と、
タイヤ幅方向における両側が前記ショルダー主溝と前記ストレート溝とにより区画されるセカンド陸部と、
を有し、
前記ショルダー主溝と前記センター主溝との間には、前記ショルダー主溝に一端が連通し、前記ストレート溝に交差して他端が前記センター陸部内で終端する前記幅方向溝であるセカンド幅方向溝が配置され、
前記セカンド幅方向溝における前記ショルダー主溝と前記ストレート溝との間の部分は、幅広部と、前記セカンド幅方向溝の延在方向における前記幅広部の両側に位置して前記ショルダー主溝または前記ストレート溝に連通すると共に溝幅が前記幅広部の溝幅よりも狭い幅狭部とを有し、
前記セカンド幅方向溝は、前記ショルダー主溝に連通する前記幅狭部の溝深さが前記ショルダー主溝の溝深さと同じ深さで、前記ストレート溝に連通する前記幅狭部の溝深さが前記ストレート溝の溝深さと同じ深さになっており、
前記ショルダー主溝と前記ストレート溝との間には、タイヤ周方向に隣り合う前記セカンド幅方向溝同士の間に亘ってタイヤ周方向に延びて一端が一方の前記セカンド幅方向溝に連通し、他端が他方の前記セカンド幅方向溝を分割すると共に溝深さが前記ショルダー主溝及び前記ストレート溝の溝深さよりも浅い周方向細溝が配置されることを特徴とするタイヤ。
続きを表示(約 1,200 文字)
【請求項2】
前記ストレート溝は、溝幅W2が前記ショルダー主溝の溝幅W1に対してW2≦0.75W1の関係を満たし、
前記セカンド幅方向溝は、前記ストレート溝に連通する前記幅狭部の溝幅W4aと、前記ショルダー主溝に連通する前記幅狭部の溝幅W4bとが、前記幅広部の溝幅W3に対してそれぞれW4a≦0.6W3、W4b≦0.6W3の関係を満たし、
前記周方向細溝は、溝幅W5が前記セカンド幅方向溝の前記幅広部の溝幅W3に対してW5≦0.6W3の関係を満たす請求項1に記載のタイヤ。
【請求項3】
前記ストレート溝は、溝深さD2が前記ショルダー主溝の溝深さD1に対してD2≦0.8D1の関係を満たし、
前記周方向細溝は、溝深さD5が前記ストレート溝の溝深さD2に対してD5≦0.75D2の関係を満たす請求項1に記載のタイヤ。
【請求項4】
前記ショルダー主溝のタイヤ幅方向外側には、前記ショルダー主溝に連通する前記幅方向溝であるショルダー幅方向溝が配置され、
前記ショルダー幅方向溝は、溝深さが前記ショルダー主溝の溝深さと同じ深さである請求項1に記載のタイヤ。
【請求項5】
前記セカンド幅方向溝と前記ショルダー幅方向溝とは、タイヤ周方向において互いに異なる位置でそれぞれ前記ショルダー主溝に連通する請求項4に記載のタイヤ。
【請求項6】
前記セカンド幅方向溝と前記周方向細溝とは、タイヤ周方向に対するタイヤ幅方向への傾斜の向きが同じ向きに傾斜し、
タイヤ周方向に対するタイヤ幅方向への前記周方向細溝の傾斜の角度θαは、15゜≦θα≦30゜の範囲内であり、
タイヤ周方向に対するタイヤ幅方向への前記セカンド幅方向溝の傾斜の角度θβは、65°≦θβ≦80°の範囲内である請求項1に記載のタイヤ。
【請求項7】
前記セカンド陸部は、タイヤ周方向に隣り合う2本の前記セカンド幅方向溝と前記ストレート溝と前記周方向細溝とにより区画される第1ブロック部と、タイヤ周方向に隣り合う2本の前記セカンド幅方向溝と前記ショルダー主溝と前記周方向細溝とにより区画される第2ブロック部とを有し、
前記第1ブロック部と前記第2ブロック部とは、前記第1ブロック部の面積AAと前記第2ブロック部の面積ABとが、0.9AB≦AA≦1.1ABの関係を満たす請求項1に記載のタイヤ。
【請求項8】
前記タイヤは、前記陸部にタイヤ幅方向に延びる複数のサイプが配置される冬用タイヤまたはオールシーズンタイヤである請求項1に記載のタイヤ。
【請求項9】
前記サイプは、タイヤ幅方向における位置が同じ位置となる前記幅方向溝とタイヤ幅方向に対するタイヤ周方向への傾斜方向が同じ方向に傾斜する請求項8に記載のタイヤ。
発明の詳細な説明
【技術分野】
【0001】
本発明は、タイヤに関する。
続きを表示(約 2,200 文字)
【背景技術】
【0002】
車両に装着されるタイヤには、タイヤの使用態様に応じた様々な性能の確保等を目的としてトレッド部に溝が形成されており、溝の形状を工夫することにより、性能の向上を図っている。例えば、特許文献1に記載された空気入りタイヤは、タイヤ赤道よりも車両外側に長片部と短片部とから形成されるジグザグ状のセンター外側主溝が設けられ、センター外側主溝の長片部と短片部との交差部には、センター横溝とミドル外側横溝の端部が連なっている。
【先行技術文献】
【特許文献】
【0003】
特許第5320427号公報
【発明の概要】
【発明が解決しようとする課題】
【0004】
従来、スタッドレスタイヤは、氷上性能が重要視されてきたが、雪上性能の向上も求められている。一般的に、氷上性能を向上させるには凝着摩擦力の向上が必要であるが、そのためには溝面積比減などによる実接地面積向上の手法が行われており、その手法では雪上性能やウェット性能が悪化してしまう欠点がある。また、近年のスタッドレスタイヤでは、耐摩耗性の向上も求められている。
【0005】
本発明は、上記に鑑みてなされたものであって、パターン構成の最適化により氷雪性能やウェット性能を確保しつつ耐摩耗性能を向上させることのできるタイヤを提供することを目的とする。
【課題を解決するための手段】
【0006】
上述した課題を解決し、目的を達成するために、本発明に係るタイヤは、トレッド部に配置されタイヤ周方向に延びる複数の周方向主溝と、前記トレッド部に配置されタイヤ幅方向に延びる複数の幅方向溝と、前記周方向主溝と前記幅方向溝とにより区画される陸部と、を備え、複数の前記周方向主溝は、タイヤ幅方向における最も外側に配置されるショルダー主溝と、前記ショルダー主溝に隣り合うセンター主溝と、を有し、前記ショルダー主溝と前記センター主溝との間には、タイヤ周方向に延びると共に溝深さが前記ショルダー主溝の溝深さよりも浅いストレート溝が配置され、前記陸部は、タイヤ幅方向における両側が前記センター主溝と前記ストレート溝とにより区画されるセンター陸部と、タイヤ幅方向における両側が前記ショルダー主溝と前記ストレート溝とにより区画されるセカンド陸部と、を有し、前記ショルダー主溝と前記センター主溝との間には、前記ショルダー主溝に一端が連通し、前記ストレート溝に交差して他端が前記センター陸部内で終端する前記幅方向溝であるセカンド幅方向溝が配置され、前記セカンド幅方向溝における前記ショルダー主溝と前記ストレート溝との間の部分は、幅広部と、前記セカンド幅方向溝の延在方向における前記幅広部の両側に位置して前記ショルダー主溝または前記ストレート溝に連通すると共に溝幅が前記幅広部の溝幅よりも狭い幅狭部とを有し、前記セカンド幅方向溝は、前記ショルダー主溝に連通する前記幅狭部の溝深さが前記ショルダー主溝の溝深さと同じ深さで、前記ストレート溝に連通する前記幅狭部の溝深さが前記ストレート溝の溝深さと同じ深さになっており、前記ショルダー主溝と前記ストレート溝との間には、タイヤ周方向に隣り合う前記セカンド幅方向溝同士の間に亘ってタイヤ周方向に延びて一端が一方の前記セカンド幅方向溝に連通し、他端が他方の前記セカンド幅方向溝を分割すると共に溝深さが前記ショルダー主溝及び前記ストレート溝の溝深さよりも浅い周方向細溝が配置される。
【発明の効果】
【0007】
本発明に係るタイヤは、氷雪性能やウェット性能を確保しつつ耐摩耗性能を向上させることができる、という効果を奏する。
【図面の簡単な説明】
【0008】
図1は、実施形態に係る空気入りタイヤの要部を示すタイヤ子午断面図である。
図2は、図1のA-A矢視図である。
図3は、図2のB部詳細図である。
図4は、図2のB部詳細図であり、溝の角度についての説明図である。
図5は、図3のC-C断面図であり、溝深さを比較するための模式図である。
図6は、図2のB部詳細図であり、内側セカンド陸部の説明図である。
図7は、図2のE部詳細図である。
図8は、図2のE部詳細図であり、屈曲部と溝幅について説明図である。
図9は、図8のF-F断面図であり、溝深さを比較するための模式図である。
図10は、図8のG-G断面図である。
図11は、図2のE部詳細図であり、外側セカンド陸部の説明図である。
図12は、空気入りタイヤの性能評価試験の結果を示す図表である。
【発明を実施するための形態】
【0009】
以下に、本発明に係るタイヤの実施形態を図面に基づいて詳細に説明する。なお、この実施形態によりこの発明が限定されるものではない。また、下記実施形態における構成要素には、当業者が置換可能、且つ、容易に想到できるもの、或いは実質的に同一のものが含まれる。
【0010】
[実施形態]
以下の説明では、本発明に係るタイヤの一例として、空気入りタイヤ1を用いて説明する。タイヤの一例である空気入りタイヤ1は、空気、窒素等の不活性ガス及びその他の気体を充填することができる。
(【0011】以降は省略されています)
この特許をJ-PlatPat(特許庁公式サイト)で参照する
関連特許
横浜ゴム株式会社
タイヤ
3か月前
横浜ゴム株式会社
タイヤ
2か月前
横浜ゴム株式会社
タイヤ
1か月前
横浜ゴム株式会社
タイヤ
1か月前
横浜ゴム株式会社
タイヤ
1か月前
横浜ゴム株式会社
タイヤ
1か月前
横浜ゴム株式会社
タイヤ
1か月前
横浜ゴム株式会社
タイヤ
1か月前
横浜ゴム株式会社
タイヤ
1か月前
横浜ゴム株式会社
タイヤ
1か月前
横浜ゴム株式会社
タイヤ
1か月前
横浜ゴム株式会社
タイヤ
1か月前
横浜ゴム株式会社
タイヤ
2か月前
横浜ゴム株式会社
タイヤ
2か月前
横浜ゴム株式会社
タイヤ
2か月前
横浜ゴム株式会社
タイヤ
1か月前
横浜ゴム株式会社
タイヤ
2か月前
横浜ゴム株式会社
タイヤ
2か月前
横浜ゴム株式会社
タイヤ
2か月前
横浜ゴム株式会社
タイヤ
2か月前
横浜ゴム株式会社
タイヤ
2か月前
横浜ゴム株式会社
タイヤ
2か月前
横浜ゴム株式会社
タイヤ
2か月前
横浜ゴム株式会社
タイヤ
2か月前
横浜ゴム株式会社
タイヤ
2か月前
横浜ゴム株式会社
タイヤ
2か月前
横浜ゴム株式会社
タイヤ
2か月前
横浜ゴム株式会社
タイヤ
3か月前
横浜ゴム株式会社
タイヤ
3か月前
横浜ゴム株式会社
タイヤ
1か月前
横浜ゴム株式会社
タイヤ
1か月前
横浜ゴム株式会社
タイヤ
1か月前
横浜ゴム株式会社
音響材
15日前
横浜ゴム株式会社
タイヤ
22日前
横浜ゴム株式会社
タイヤ
22日前
横浜ゴム株式会社
タイヤ
3日前
続きを見る
他の特許を見る