TOP
|
特許
|
意匠
|
商標
特許ウォッチ
Twitter
他の特許を見る
10個以上の画像は省略されています。
公開番号
2025162292
公報種別
公開特許公報(A)
公開日
2025-10-27
出願番号
2024065486
出願日
2024-04-15
発明の名称
空気入りタイヤ
出願人
横浜ゴム株式会社
代理人
清流国際弁理士法人
,
個人
,
個人
主分類
B60C
11/13 20060101AFI20251020BHJP(車両一般)
要約
【課題】石噛みに対する排石性を改善することを可能にした空気入りタイヤを提供する。
【解決手段】タイヤ周方向に延在して環状をなすトレッド部1を備え、トレッド部1にタイヤ周方向に延びる少なくとも1本の主溝11が形成された空気入りタイヤにおいて、主溝11内に溝底から突出する少なくとも1つの突部20が配設され、突部20は平面視において内側に位置する内側領域Ainと外側に位置する外側領域Aoutとを有し、外側領域Aoutに少なくとも1本のスリット21が形成される一方で内側領域Ainにはスリット21が存在しない。
【選択図】図4
特許請求の範囲
【請求項1】
タイヤ周方向に延在して環状をなすトレッド部を備え、前記トレッド部にタイヤ周方向に延びる少なくとも1本の主溝が形成された空気入りタイヤにおいて、
前記主溝内に溝底から突出する少なくとも1つの突部が配設され、前記突部は平面視において内側に位置する内側領域と外側に位置する外側領域とを有し、前記外側領域に少なくとも1本のスリットが形成される一方で前記内側領域にはスリットが存在しないことを特徴とする空気入りタイヤ。
続きを表示(約 670 文字)
【請求項2】
前記主溝内に複数の前記突部が前記主溝の長手方向に沿って並ぶように配設されることを特徴とする請求項1に記載の空気入りタイヤ。
【請求項3】
前記突部は前記主溝の少なくとも片側の側壁から離間し、前記少なくとも片側の側壁と前記突部との間にシースルー部が形成されていることを特徴とする請求項1又は2に記載の空気入りタイヤ。
【請求項4】
前記スリットの深さhは前記突部の高さHに対して0.2≦h/H≦1.0の関係を満足することを特徴とする請求項1又は2に記載の空気入りタイヤ。
【請求項5】
前記スリットは前記突部の外側輪郭と相似の形状を有する仮想線に沿って前記突部内で閉口するように設置されていることを特徴とする請求項1又は2に記載の空気入りタイヤ。
【請求項6】
前記スリットは前記突部の中心点の廻りの90°以上の角度範囲に設置されていることを特徴とする請求項5に記載の空気入りタイヤ。
【請求項7】
前記スリットが環状をなし、前記スリットの外側輪郭線よりも内側となる部分の面積Sと、前記スリットの内側輪郭線よりも内側となる部分の面積Aとが0.25≦A/S≦0.9の関係を満足することを特徴とする請求項5に記載の空気入りタイヤ。
【請求項8】
前記トレッド部にタイヤ幅方向に延びる複数本のラグ溝が形成され、前記突部は前記主溝内に加えて前記ラグ溝内にも配設されていることを特徴とする請求項1又は2に記載の空気入りタイヤ。
発明の詳細な説明
【技術分野】
【0001】
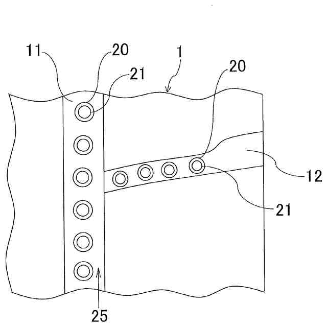
本発明は、リトレッドが行われる場合に好適な空気入りタイヤに関し、更に詳しくは、石噛みに対する排石性を改善することを可能にした空気入りタイヤに関する。
続きを表示(約 1,600 文字)
【背景技術】
【0002】
空気入りタイヤのトレッド部が摩耗した場合、トレッドゴム層を貼り換えることが行われている。このようなリトレッドによる再利用が行われる空気入りタイヤでは、石噛み対策が重要である。つまり、トレッド部に形成された溝に石噛みが発生すると、溝内に挟まった石が徐々に溝底側へ移動し、やがて溝底に到達する。このような現象はストーンドリリングと呼ばれている。そして、石が溝底に到達すると、これが溝底にクラックを生じさせる要因となる。また、溝底のクラックがベルト層に到達してベルト層が損傷すると、空気入りタイヤの耐久性を低下させたり、空気入りタイヤのリトレッドによる再利用を不可能にしたりすることがある。
【0003】
このような石噛みによる溝底のクラックを抑制するために、溝内に溝底から突出する突部を設けることが行われている(例えば、特許文献1~3参照)。溝内に突部を設けることにより、石が溝底に到達することを防ぐと共に、溝内から石を排出する効果を得ることができる。
【0004】
しかしながら、近年では小形トラックのように小さいサイズの空気入りタイヤについてもリトレッドが行われるようになっており、小さいサイズの空気入りタイヤでは溝幅も小さくなるため溝内に形成される石噛み防止用の突部の形状や配置に制約があり、必ずしも十分な排石性が得られていないのが現状である。
【先行技術文献】
【特許文献】
【0005】
特開2006-264480号公報
特開2013-43619号公報
特許第7104573号公報
【発明の概要】
【発明が解決しようとする課題】
【0006】
本発明の目的は、石噛みに対する排石性を改善することを可能にした空気入りタイヤを提供することにある。
【課題を解決するための手段】
【0007】
上記目的を達成するための本発明の空気入りタイヤは、タイヤ周方向に延在して環状をなすトレッド部を備え、前記トレッド部にタイヤ周方向に延びる少なくとも1本の主溝が形成された空気入りタイヤにおいて、
前記主溝内に溝底から突出する少なくとも1つの突部が配設され、前記突部は平面視において内側に位置する内側領域と外側に位置する外側領域とを有し、前記外側領域に少なくとも1本のスリットが形成される一方で前記内側領域にはスリットが存在しないことを特徴とするものである。
【発明の効果】
【0008】
本発明者は、トレッド部の溝内に形成される石噛み防止用の突部について鋭意研究した結果、突部の外側領域だけにスリットが形成される構造を採用した場合、外側領域と内側領域との間に剛性差が生じ、石噛みに対する排石性が良化することを知見し、本発明に至ったのである。
【0009】
即ち、本発明では、主溝内に溝底から突出する少なくとも1つの突部が配設され、突部は平面視において内側に位置する内側領域と外側に位置する外側領域とを有し、その外側領域に少なくとも1本のスリットが形成される一方で内側領域にはスリットが存在しないことにより、外側領域と内側領域との間に剛性差が生じ、主溝内に噛み込んだ石の変位を許容するので、石噛みに対する排石性を改善することができる。その結果として、石噛みによる溝底のクラックを効果的に抑制し、延いては、溝底のクラックに起因するベルト層の損傷を防止することができる。
【0010】
本発明において、主溝内に複数の突部が主溝の長手方向に沿って並ぶように配設されることが好ましい。これにより、石噛みに対する排石性を効果的に改善することができる。
(【0011】以降は省略されています)
この特許をJ-PlatPat(特許庁公式サイト)で参照する
関連特許
横浜ゴム株式会社
タイヤ
2か月前
横浜ゴム株式会社
タイヤ
1か月前
横浜ゴム株式会社
タイヤ
28日前
横浜ゴム株式会社
タイヤ
28日前
横浜ゴム株式会社
タイヤ
28日前
横浜ゴム株式会社
タイヤ
1か月前
横浜ゴム株式会社
タイヤ
1か月前
横浜ゴム株式会社
タイヤ
1か月前
横浜ゴム株式会社
タイヤ
1か月前
横浜ゴム株式会社
タイヤ
1か月前
横浜ゴム株式会社
タイヤ
1か月前
横浜ゴム株式会社
タイヤ
1か月前
横浜ゴム株式会社
タイヤ
24日前
横浜ゴム株式会社
タイヤ
1か月前
横浜ゴム株式会社
タイヤ
1か月前
横浜ゴム株式会社
タイヤ
1か月前
横浜ゴム株式会社
タイヤ
2か月前
横浜ゴム株式会社
タイヤ
2か月前
横浜ゴム株式会社
タイヤ
2か月前
横浜ゴム株式会社
タイヤ
2か月前
横浜ゴム株式会社
タイヤ
2か月前
横浜ゴム株式会社
タイヤ
2か月前
横浜ゴム株式会社
タイヤ
24日前
横浜ゴム株式会社
タイヤ
28日前
横浜ゴム株式会社
タイヤ
3日前
横浜ゴム株式会社
タイヤ
4日前
横浜ゴム株式会社
タイヤ
4日前
横浜ゴム株式会社
タイヤ
12日前
横浜ゴム株式会社
タイヤ
17日前
横浜ゴム株式会社
タイヤ
17日前
横浜ゴム株式会社
タイヤ
18日前
横浜ゴム株式会社
タイヤ
18日前
横浜ゴム株式会社
重荷重タイヤ
24日前
横浜ゴム株式会社
空気入りタイヤ
今日
横浜ゴム株式会社
空気入りタイヤ
今日
横浜ゴム株式会社
空気入りタイヤ
2か月前
続きを見る
他の特許を見る