TOP
|
特許
|
意匠
|
商標
特許ウォッチ
Twitter
他の特許を見る
10個以上の画像は省略されています。
公開番号
2025167032
公報種別
公開特許公報(A)
公開日
2025-11-07
出願番号
2024071300
出願日
2024-04-25
発明の名称
空気入りタイヤ
出願人
横浜ゴム株式会社
代理人
清流国際弁理士法人
,
個人
,
個人
主分類
B60C
19/12 20060101AFI20251030BHJP(車両一般)
要約
【課題】 シーラント層のタイヤ内面に対する接着性を改善することを可能にした空気入りタイヤを提供する。
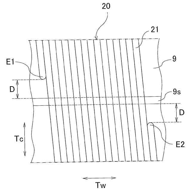
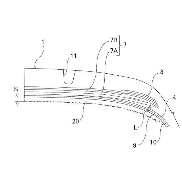
【解決手段】 タイヤ周方向に延在して環状をなすトレッド部1と、トレッド部1の両側に配置された一対のサイドウォール部2と、これらサイドウォール部2のタイヤ径方向内側に配置された一対のビード部3とを備え、タイヤ内面10にタイヤ幅方向に延びる複数本の突条9gを含むブラダー転写模様が形成されると共に、タイヤ内面10に離型剤が塗布された空気入りタイヤにおいて、トレッド部1におけるタイヤ内面10にシーラントの帯材21がタイヤ周方向に沿って螺旋状に配置された構造を有するシーラント層20が形成され、シーラントがシリコーン系組成物から構成され、帯材21の幅L1が突条9gのタイヤ幅方向の間隔L2に対してL1≦L2の関係を満足する。
【選択図】 図5
特許請求の範囲
【請求項1】
タイヤ周方向に延在して環状をなすトレッド部と、前記トレッド部の両側に配置された一対のサイドウォール部と、これらサイドウォール部のタイヤ径方向内側に配置された一対のビード部とを備え、タイヤ内面にタイヤ幅方向に延びる複数本の突条を含むブラダー転写模様が形成されると共に、前記タイヤ内面に離型剤が塗布された空気入りタイヤにおいて、
前記トレッド部における前記タイヤ内面にシーラントの帯材がタイヤ周方向に沿って螺旋状に配置された構造を有するシーラント層が形成され、前記シーラントがシリコーン系組成物から構成され、前記帯材の幅L1が前記突条のタイヤ幅方向の間隔L2に対してL1≦L2の関係を満足することを特徴とする空気入りタイヤ。
続きを表示(約 710 文字)
【請求項2】
前記帯材の幅L1が前記突条のタイヤ幅方向の間隔L2に対して0.2≦L1/L2≦0.7の関係を満足することを特徴とする請求項1に記載の空気入りタイヤ。
【請求項3】
前記帯材の両端部がいずれも前記突条と重複しない位置に配置されていることを特徴とする請求項1又は2に記載の空気入りタイヤ。
【請求項4】
タイヤ構成部材のスプライスに起因する凸部がタイヤ内面に形成された空気入りタイヤにおいて、前記帯材の両端部がいずれも前記凸部と重複しない位置に配置されていることを特徴とする請求項1に記載の空気入りタイヤ。
【請求項5】
前記帯材の両端部がいずれも前記凸部から5mm以上離れた位置に配置されていることを特徴とする請求項4に記載の空気入りタイヤ。
【請求項6】
前記タイヤ構成部材がインナーライナー層であることを特徴とする請求項4又は5に記載の空気入りタイヤ。
【請求項7】
前記シーラントの100℃における貯蔵弾性率G'が20kPa以下であることを特徴とする請求項1又は2に記載の空気入りタイヤ。
【請求項8】
前記シーラントの100℃における損失弾性率G"が5kPa以下であることを特徴とする請求項1又は2に記載の空気入りタイヤ。
【請求項9】
前記シーラント層の厚さが2.0mm~5.0mmの範囲にあることを特徴とする請求項1又は2に記載の空気入りタイヤ。
【請求項10】
前記シリコーン系組成物は2液硬化型シリコーンであることを特徴とする請求項1又は2に記載の空気入りタイヤ。
発明の詳細な説明
【技術分野】
【0001】
本発明は、トレッド部におけるタイヤ内面にシーラント層を備えた空気入りタイヤに関し、更に詳しくは、シーラント層のタイヤ内面に対する接着性を改善することを可能にした空気入りタイヤに関する。
続きを表示(約 2,300 文字)
【背景技術】
【0002】
空気入りタイヤにおいて、トレッド部におけるインナーライナー層のタイヤ径方向内側にシーラント層を設けることが提案されている。このような空気入りタイヤでは、釘等の異物がトレッド部に突き刺さった際に、その貫通孔にシーラントが流入することにより、空気圧の減少を抑制し、走行を維持することが可能になる。
【0003】
従来、シーラント層を構成するシーラントは、ブチル系ゴムを主体とするゴム組成物が一般的である(例えば、特許文献1~3参照)。ブチル系ゴムとしては、例えば、ブチルゴム(IIR)の他、臭素化ブチルゴム(Br-IIR)、塩素化ブチルゴム(Cl-IIR)等のハロゲン化ブチルゴムが挙げられる。このようなシーラントは高温に加熱されて軟化させた状態でタイヤ内面に塗布される(例えば、特許文献4参照)。より具体的には、高温に加熱されて軟化させた状態にあるシーラントの帯材をタイヤ内面上にタイヤ周方向に沿って螺旋状に配置することでシーラント層が形成される。
【0004】
しかしながら、シーラントの帯材の端部に剥離が生じると、そこを起点としてシーラント層の剥離が広がるという問題がある。そして、シーラント層の剥離が広がるとパンク時のシール性が低下する要因となる。
【先行技術文献】
【特許文献】
【0005】
特許第6583456号公報
特許第6620851号公報
特許第7319533号公報
特許第6124967号公報
【発明の概要】
【発明が解決しようとする課題】
【0006】
本発明の目的は、シーラント層のタイヤ内面に対する接着性を改善することを可能にした空気入りタイヤを提供することにある。
【課題を解決するための手段】
【0007】
上記目的を達成するための本発明の空気入りタイヤは、タイヤ周方向に延在して環状をなすトレッド部と、前記トレッド部の両側に配置された一対のサイドウォール部と、これらサイドウォール部のタイヤ径方向内側に配置された一対のビード部とを備え、タイヤ内面にタイヤ幅方向に延びる複数本の突条を含むブラダー転写模様が形成されると共に、前記タイヤ内面に離型剤が塗布された空気入りタイヤにおいて、
前記トレッド部における前記タイヤ内面にシーラントの帯材がタイヤ周方向に沿って螺旋状に配置された構造を有するシーラント層が形成され、前記シーラントがシリコーン系組成物から構成され、前記帯材の幅L1が前記突条のタイヤ幅方向の間隔L2に対してL1≦L2の関係を満足することを特徴とするものである。
【発明の効果】
【0008】
本発明者は、シーラント層のタイヤ内面に対する接着性について鋭意研究を行った結果、シーラント帯材の端部がブラダー転写模様に含まれる突条と重複する位置に配置されていると、悪路走行等においてシーラント帯材の端部が剥離し易くなることを知見し、本発明に至ったのである。
【0009】
即ち、本発明では、タイヤ内面にタイヤ幅方向に延びる複数本の突条を含むブラダー転写模様が形成された空気入りタイヤにおいて、トレッド部におけるタイヤ内面にシーラントの帯材がタイヤ周方向に沿って螺旋状に配置された構造を有するシーラント層が形成され、その帯材の幅L1が突条のタイヤ幅方向の間隔L2に対してL1≦L2の関係を満足することにより、シーラントの帯材の端部がブラダー転写模様に含まれる突条と重複する頻度を低下させることができる。これにより、帯材の両端部を起点とする剥離を抑制し、シーラント層のタイヤ内面に対する接着性を改善することができる。また、タイヤ内面に離型剤が塗布された空気入りタイヤでは、一般的に離型剤がシリコーン系組成物を含んでいるため、ブチル系ゴムを主体とするゴム組成物から構成されるシーラント層はタイヤ内面に対する接着性が阻害される。これに対して、シリコーン系組成物から構成されるシーラントを含むシーラント層は離型剤に対する相溶性が良好であるため、離型剤が塗布されたタイヤ内面に対する接着性が良好である。
【0010】
シーラントがブチル系ゴムを主体とするゴム組成物から構成される場合、シーラント帯材の周回部分同士が馴染む前にシーラントが冷えてしまうため、シーラント帯材の周回部分同士の一体性が良好ではなく、その結果、シーラント層によるシール性が不十分になる。また、シーラント帯材の周回部分同士の一体性が不十分であると、タイヤ回転時に生じる遠心力によってシーラント層がトレッド部の中心側に流れ易くなり、このこともシール性を低下させる要因となる。これに対して、シーラントがシリコーン系組成物から構成される場合、シリコーン系組成物の硬化反応工程においてシーラント帯材の周回部分同士が馴染み易くなり、シーラント帯材の周回部分同士の一体性が良好になるので、シーラント層によるシール性を改善することができる。また、シーラント帯材の周回部分同士の一体性が良好であるため、タイヤ回転時に生じる遠心力によってシーラント層がタイヤ幅方向中央側に流れ難くなり、このこともシール性の改善に寄与する。更に、シリコーン系組成物からなるシーラントは低温での塗布が可能であり、例えば、タイヤ内面に塗布されるシーラントの温度は70℃よりも低くすることが可能であるため、タイヤに対する熱の影響を低減し、タイヤ性能の悪化を回避することができるという利点もある。
(【0011】以降は省略されています)
この特許をJ-PlatPat(特許庁公式サイト)で参照する
関連特許
横浜ゴム株式会社
タイヤ
1か月前
横浜ゴム株式会社
タイヤ
1か月前
横浜ゴム株式会社
タイヤ
2か月前
横浜ゴム株式会社
タイヤ
1か月前
横浜ゴム株式会社
タイヤ
1か月前
横浜ゴム株式会社
タイヤ
23日前
横浜ゴム株式会社
タイヤ
2か月前
横浜ゴム株式会社
タイヤ
2か月前
横浜ゴム株式会社
タイヤ
1か月前
横浜ゴム株式会社
タイヤ
2か月前
横浜ゴム株式会社
タイヤ
2か月前
横浜ゴム株式会社
タイヤ
1か月前
横浜ゴム株式会社
タイヤ
1か月前
横浜ゴム株式会社
タイヤ
2か月前
横浜ゴム株式会社
タイヤ
1か月前
横浜ゴム株式会社
タイヤ
1か月前
横浜ゴム株式会社
タイヤ
2か月前
横浜ゴム株式会社
タイヤ
2か月前
横浜ゴム株式会社
タイヤ
23日前
横浜ゴム株式会社
タイヤ
1か月前
横浜ゴム株式会社
タイヤ
2日前
横浜ゴム株式会社
タイヤ
2日前
横浜ゴム株式会社
タイヤ
2か月前
横浜ゴム株式会社
タイヤ
2か月前
横浜ゴム株式会社
タイヤ
1か月前
横浜ゴム株式会社
タイヤ
1か月前
横浜ゴム株式会社
タイヤ
1か月前
横浜ゴム株式会社
タイヤ
2か月前
横浜ゴム株式会社
タイヤ
4日前
横浜ゴム株式会社
音響材
16日前
横浜ゴム株式会社
タイヤ
1か月前
横浜ゴム株式会社
ゴム組成物
4日前
横浜ゴム株式会社
ゴム組成物
4日前
横浜ゴム株式会社
ゴム組成物
3日前
横浜ゴム株式会社
ゴム組成物
3日前
横浜ゴム株式会社
重荷重タイヤ
1か月前
続きを見る
他の特許を見る