TOP
|
特許
|
意匠
|
商標
特許ウォッチ
Twitter
他の特許を見る
公開番号
2025172625
公報種別
公開特許公報(A)
公開日
2025-11-26
出願番号
2024078237
出願日
2024-05-13
発明の名称
ゴム組成物
出願人
横浜ゴム株式会社
,
愛知タイヤ工業株式会社
代理人
個人
,
個人
,
個人
主分類
C08L
9/00 20060101AFI20251118BHJP(有機高分子化合物;その製造または化学的加工;それに基づく組成物)
要約
【課題】ベースゴムへの接着性が維持されつつ、油面での耐摩耗性がより優れたゴム組成物を提供する。
【解決手段】ジエン系ゴムと、カーボンブラックと、プロセスオイルと、セルロース繊維と、を含み、上記ジエン系ゴム100質量部に対して、上記プロセスオイルを含めたオイル成分を合計量として10質量部以上、および上記セルロース繊維を2~20質量部含有するゴム組成物とすることにより、上記課題を解決する。
【選択図】なし
特許請求の範囲
【請求項1】
ジエン系ゴムと、カーボンブラックと、プロセスオイルと、セルロース繊維と、を含み、
前記ジエン系ゴム100質量部に対して、前記プロセスオイルを含めたオイル成分を合計量として10質量部以上、および前記セルロース繊維を2~20質量部含有する、ゴム組成物。
続きを表示(約 720 文字)
【請求項2】
前記セルロース繊維が、平均繊維径が1~1000nmおよび平均繊維長さが5μm以下のナノセルロース、および/または、平均繊維径が5~50μmおよび平均繊維長さが500μm以下の粉末セルロースである、請求項1に記載のゴム組成物。
【請求項3】
さらに、脂肪酸、樹脂酸、脂肪酸と樹脂酸との混合物、および粗トール油からなる群から選ばれる少なくとも1つを含む、請求項1または2に記載のゴム組成物。
【請求項4】
前記セルロース繊維が、脂肪酸、樹脂酸、脂肪酸と樹脂酸との混合物、粗トール油、ならびに、レゾール型および/またはノボラック型レゾルシン・ホルムアルデヒド初期縮合物からなる群から選ばれる少なくとも1つにより表面処理されたセルロース繊維である、請求項1または2に記載のゴム組成物。
【請求項5】
前記ジエン系ゴムが、アクリルニトリル-ブタジエン共重合体ゴム(NBR)の含有割合が10質量%以下のジエン系ゴムである、請求項1または2に記載のゴム組成物。
【請求項6】
前記カーボンブラックの含有量に対する前記オイル成分の合計含有量の比率(オイル成分の合計含有量/カーボンブラック含有量)が0.2以上である、請求項1または2に記載のゴム組成物。
【請求項7】
前記ジエン系ゴム100質量部に対して、前記カーボンブラックを30~70質量部、および前記オイル成分を合計量として10~20質量部含有する、請求項1または2に記載のゴム組成物。
【請求項8】
請求項1または2に記載のゴム組成物をトレッドゴム層に用いた、クッションタイヤ。
発明の詳細な説明
【技術分野】
【0001】
本発明は、ゴム組成物、およびそのゴム組成物をトレッドゴム層に用いたクッションタイヤに関する。
続きを表示(約 2,500 文字)
【背景技術】
【0002】
クッションタイヤは、ソリッドタイヤあるいは中実タイヤとも称され、空気が入らずその内部までゴム組成物により構成されているタイヤであって、主にフォークリフトなどの荷役運搬等の産業用車両に使用されているタイヤである。
クッションタイヤは、JATMAイヤーブックのF章に規定される産業車両用ニューマチック形クッションタイヤは勿論のこと、上記F章に規定される産業車両用ソリッドタイヤ(プレスオン式)にも適用され、さらに、JIS D6405:1990に規定されるキュアオン式ソリッドタイヤを含む種々のソリッドタイヤにも適用されている。
【0003】
そして、例えば特許文献1には、その表面が内周面及び一対の側面を備えるクッションタイヤであって、路面と接触するトレッド面を有するトレッドと、このトレッドの半径方向内側に位置するベースと、このベース内に埋設され周方向に延びるビードと、並列された複数のコードを含み周方向に延びる1又は2以上の補強層とを備え、上記ベースの硬さが、上記トレッドの硬さと同じであるか、又は上記トレッドの硬さより大きく、それぞれの補強層が、少なくとも一方の側面と上記内周面とに沿って延びている、優れた耐久性が実現されたクッションタイヤが開示されている。
【先行技術文献】
【特許文献】
【0004】
特開2022-185647号公報
【発明の概要】
【発明が解決しようとする課題】
【0005】
ここで、スクラップ工場などにおいては、油面での作業の必要性などから、フォークリフト等に使用するクッションタイヤのトレッドゴム層に耐油性(油面での耐摩耗性)が要求される場合がある。しかしながら、クッションタイヤのトレッドゴム層に耐油性の高いゴム成分(アクリルニトリル-ブタジエン共重合体ゴム(NBR)など)により構成されたゴム組成物を用いると、ベースゴム層(主に天然ゴム(NR)などにより構成されたゴム組成物が使用される)との接着性が低下し、クッションタイヤの耐久性などが低下し易くなるため、サイドウォールゴムでドレッドゴムおよびベースゴムの両方を抱え込む構造などの特殊構造のクッションタイヤとする必要が生じるという課題がある。つまり、クッションタイヤのトレッドゴム(トレッドゴム層に用いるゴム組成物)におけるベースゴムへの接着性と油面での耐摩耗性とは概ねトレードオフの関係にあり、これらの両立という点で改善の余地がある。
【0006】
そこで本発明は、ベースゴムへの接着性が維持されつつ、油面での耐摩耗性がより優れたゴム組成物を提供することを目的とする。
【課題を解決するための手段】
【0007】
上記課題を解決するために本発明者は鋭意検討し、ジエン系ゴムと、カーボンブラックと、プロセスオイルと、セルロース繊維と、を含み、上記ジエン系ゴム100質量部に対して、上記プロセスオイルを含めたオイル成分を合計量として10質量部以上、および上記セルロース繊維を2~20質量部含有するゴム組成物が、ベースゴムへの接着性が維持されつつ、油面での耐摩耗性がより優れたものとなることを見出し、本発明を完成させた。
【0008】
すなわち、本発明は次の<1>~<8>の実施形態を含む。
<1>ジエン系ゴムと、カーボンブラックと、プロセスオイルと、セルロース繊維と、を含み、
前記ジエン系ゴム100質量部に対して、前記プロセスオイルを含めたオイル成分を合計量として10質量部以上、および前記セルロース繊維を2~20質量部含有する、ゴム組成物。
<2>前記セルロース繊維が、平均繊維径が1~1000nmおよび平均繊維長さが5μm以下のナノセルロース、および/または、平均繊維径が5~50μmおよび平均繊維長さが500μm以下の粉末セルロースである、<1>に記載のゴム組成物。
<3>さらに、脂肪酸、樹脂酸、脂肪酸と樹脂酸との混合物、および粗トール油からなる群から選ばれる少なくとも1つを含む、<1>または<2>に記載のゴム組成物。
<4>前記セルロース繊維が、脂肪酸、樹脂酸、脂肪酸と樹脂酸との混合物、粗トール油、ならびに、レゾール型および/またはノボラック型レゾルシン・ホルムアルデヒド初期縮合物からなる群から選ばれる少なくとも1つにより表面処理されたセルロース繊維である、<1>~<3>のいずれか1つに記載のゴム組成物。
<5>前記ジエン系ゴムが、アクリルニトリル-ブタジエン共重合体ゴム(NBR)の含有割合が10質量%以下のジエン系ゴムである、<1>~<4>のいずれか1つに記載のゴム組成物。
<6>前記カーボンブラックの含有量に対する前記オイル成分の合計含有量の比率(オイル成分の合計含有量/カーボンブラック含有量)が0.2以上である、<1>~<5>のいずれか1つに記載のゴム組成物。
<7>前記ジエン系ゴム100質量部に対して、前記カーボンブラックを30~70質量部、および前記オイル成分を合計量として10~20質量部含有する、<1>~<6>のいずれか1つに記載のゴム組成物。
<8><1>~<7>のいずれか1つに記載のゴム組成物をトレッドゴム層に用いた、クッションタイヤ。
【発明の効果】
【0009】
本発明によれば、ベースゴムへの接着性が維持されつつ、油面での耐摩耗性がより優れたゴム組成物を得ることができる。そして、このゴム組成物をトレッドゴム層に用いることで、油面での耐摩耗性が優れたクッションタイヤを得ることができる。
【図面の簡単な説明】
【0010】
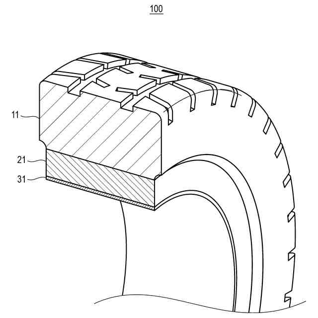
クッションタイヤの実施形態の一例を表すタイヤ部分断面概略図である。
【発明を実施するための形態】
(【0011】以降は省略されています)
この特許をJ-PlatPat(特許庁公式サイト)で参照する
関連特許
横浜ゴム株式会社
タイヤ
3か月前
横浜ゴム株式会社
タイヤ
1か月前
横浜ゴム株式会社
タイヤ
1か月前
横浜ゴム株式会社
タイヤ
1か月前
横浜ゴム株式会社
タイヤ
1か月前
横浜ゴム株式会社
タイヤ
1か月前
横浜ゴム株式会社
タイヤ
1か月前
横浜ゴム株式会社
タイヤ
1か月前
横浜ゴム株式会社
タイヤ
1か月前
横浜ゴム株式会社
タイヤ
1か月前
横浜ゴム株式会社
タイヤ
28日前
横浜ゴム株式会社
タイヤ
28日前
横浜ゴム株式会社
タイヤ
28日前
横浜ゴム株式会社
タイヤ
27日前
横浜ゴム株式会社
タイヤ
1か月前
横浜ゴム株式会社
タイヤ
1か月前
横浜ゴム株式会社
タイヤ
1か月前
横浜ゴム株式会社
タイヤ
1か月前
横浜ゴム株式会社
タイヤ
2か月前
横浜ゴム株式会社
タイヤ
今日
横浜ゴム株式会社
タイヤ
2か月前
横浜ゴム株式会社
タイヤ
2か月前
横浜ゴム株式会社
音響材
12日前
横浜ゴム株式会社
タイヤ
2か月前
横浜ゴム株式会社
タイヤ
2か月前
横浜ゴム株式会社
タイヤ
19日前
横浜ゴム株式会社
タイヤ
2か月前
横浜ゴム株式会社
タイヤ
2か月前
横浜ゴム株式会社
タイヤ
2か月前
横浜ゴム株式会社
タイヤ
2か月前
横浜ゴム株式会社
タイヤ
2か月前
横浜ゴム株式会社
タイヤ
19日前
横浜ゴム株式会社
タイヤ
2か月前
横浜ゴム株式会社
タイヤ
1か月前
横浜ゴム株式会社
ゴム組成物
今日
横浜ゴム株式会社
ゴム組成物
今日
続きを見る
他の特許を見る