TOP
|
特許
|
意匠
|
商標
特許ウォッチ
Twitter
他の特許を見る
公開番号
2025139836
公報種別
公開特許公報(A)
公開日
2025-09-29
出願番号
2024038887
出願日
2024-03-13
発明の名称
更生タイヤ及びその製造方法
出願人
横浜ゴム株式会社
代理人
清流国際弁理士法人
,
個人
,
個人
主分類
B60C
11/02 20060101AFI20250919BHJP(車両一般)
要約
【課題】トランスポンダの通信性を改善することを可能にした更生タイヤ及びその製造方法を提供する。
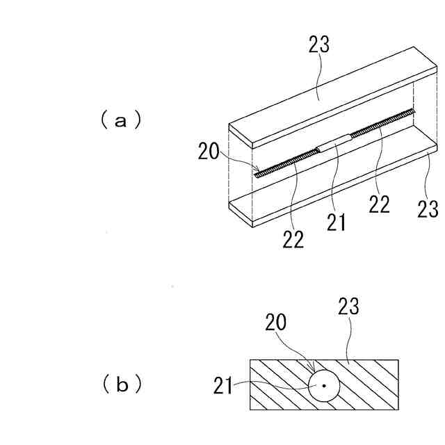
【解決手段】一対のビード部3間に装架されたカーカス層4及びトレッド部1におけるカーカス層4の外周側に配置された複数層の補強ベルト層7からなる骨格を有する台タイヤ10と、この台タイヤ10のタイヤ径方向外側に配置されたトレッドゴム層30とを備えた更生タイヤにおいて、台タイヤ10の骨格の外側にトランスポンダ20が配置されている。
【選択図】図1
特許請求の範囲
【請求項1】
一対のビード部間に装架されたカーカス層及びトレッド部における前記カーカス層の外周側に配置された複数層の補強ベルト層からなる骨格を有する台タイヤと、この台タイヤのタイヤ径方向外側に配置されたトレッドゴム層とを備えた更生タイヤにおいて、前記台タイヤの骨格の外側にトランスポンダが配置されていることを特徴とする更生タイヤ。
続きを表示(約 810 文字)
【請求項2】
前記トランスポンダが前記台タイヤと前記トレッドゴム層との間に配置されていることを特徴とする請求項1に記載の更生タイヤ。
【請求項3】
前記トランスポンダが前記複数層の補強ベルト層のうち最も幅広の補強ベルト層のタイヤ幅方向の端部よりタイヤ幅方向外側に配置されていることを特徴とする請求項1又は2に記載の更生タイヤ。
【請求項4】
前記トランスポンダは、前記複数層の補強ベルト層のうち最も幅広の補強ベルト層のタイヤ幅方向の端部から5mm以上離間して配置されると共に、前記トレッドゴム層のタイヤ幅方向の端部から5mm以上離間して配置されていることを特徴とする請求項1又は2に記載の更生タイヤ。
【請求項5】
前記トランスポンダが前記台タイヤにおける前記トレッドゴム層に覆われていない側面領域に配置されていることを特徴とする請求項1に記載の更生タイヤ。
【請求項6】
前記トランスポンダが前記カーカス層のタイヤ幅方向外側に配置されたサイドウォールゴム層の内部に埋設されていることを特徴とする請求項1又は5に記載の更生タイヤ。
【請求項7】
前記トランスポンダが被覆層により被覆されていることを特徴とする請求項1又は2に記載の更生タイヤ。
【請求項8】
前記被覆層の比誘電率が前記被覆層と隣接するゴム部材の比誘電率よりも低いことを特徴とする請求項7に記載の更生タイヤ。
【請求項9】
前記台タイヤのタイヤ幅方向の中央部における前記補強ベルト層上のゴム厚さが1mm以上であることを特徴とする請求項1又は2に記載の更生タイヤ。
【請求項10】
前記トランスポンダが前記トレッドゴム層の内部に埋設されていることを特徴とする請求項1に記載の更生タイヤ。
(【請求項11】以降は省略されています)
発明の詳細な説明
【技術分野】
【0001】
本発明は、トランスポンダが埋設された更生タイヤ及びその製造方法に関し、更に詳しくは、トランスポンダの通信性を改善することを可能にした更生タイヤ及びその製造方法に関する。
続きを表示(約 1,500 文字)
【背景技術】
【0002】
使用済みタイヤのトレッドを研削し、新たにトレッドゴム層を貼り付けて再加工を施し、更生タイヤとして再使用することが行われている(例えば、特許文献1参照)。
【0003】
また、空気入りタイヤにおいて、RFIDタグ(トランスポンダ)をタイヤ内に埋設することが提案されている(例えば、特許文献2参照)。しかしながら、トランスポンダをグリーンタイヤの内部に埋設する位置によっては、トランスポンダの通信性が悪化するという問題がある。
【先行技術文献】
【特許文献】
【0004】
特開2007-76269号公報
特開平7-137510号公報
【発明の概要】
【発明が解決しようとする課題】
【0005】
本発明の目的は、トランスポンダの通信性を改善することを可能にした更生タイヤ及びその製造方法を提供することにある。
【課題を解決するための手段】
【0006】
上記目的を達成するための本発明の更生タイヤは、一対のビード部間に装架されたカーカス層及びトレッド部における前記カーカス層の外周側に配置された複数層の補強ベルト層からなる骨格を有する台タイヤと、この台タイヤのタイヤ径方向外側に配置されたトレッドゴム層とを備えた更生タイヤにおいて、前記台タイヤの骨格の外側にトランスポンダが配置されていることを特徴とするものである。
【0007】
また、本発明の更生タイヤの製造方法は、使用済みタイヤのトレッド部を研削して、一対のビード部間に装架されたカーカス層及びトレッド部における前記カーカス層の外周側に配置された複数層の補強ベルト層からなる骨格を有する台タイヤを成形し、この台タイヤの骨格の外側にトランスポンダを配置した後、前記台タイヤとこの台タイヤのタイヤ径方向外側に配置されたトレッドゴム層との組立体を加硫することを特徴とするものである。
【発明の効果】
【0008】
本発明では、一対のビード部間に装架されたカーカス層及びトレッド部におけるカーカス層の外周側に配置された複数層の補強ベルト層からなる骨格を有する台タイヤと、この台タイヤのタイヤ径方向外側に配置されたトレッドゴム層とを備えた更生タイヤにおいて、台タイヤの骨格の外側にトランスポンダが配置されているので、トランスポンダがタイヤ外表面に近い部位に配置されるため、トランスポンダの通信性を改善することができる。また、既にトランスポンダが配置されたタイヤにおいて1次走行でトランスポンダが故障した場合であっても、トランスポンダを交換することが可能であり、2次走行でのトレーサビリティ管理を容易に行うことができる。
【0009】
本発明の更生タイヤにおいて、トランスポンダは台タイヤとトレッドゴム層との間に配置されていることが好ましい。これにより、更生タイヤの製造工程の中でトランスポンダを容易に配置することができ、それによって歩留まりが悪化することもないため好適である。
【0010】
トランスポンダは複数層の補強ベルト層のうち最も幅広の補強ベルト層のタイヤ幅方向の端部よりタイヤ幅方向外側に配置されていることが好ましい。トレッド部には金属部材が存在することが多く、トランスポンダの通信性を悪化させる要因となることや、接地圧によりトランスポンダが損傷することがあるため、トランスポンダを補強ベルト層から離間して配置することにより、トランスポンダの通信性を効果的に改善することができる。
(【0011】以降は省略されています)
この特許をJ-PlatPat(特許庁公式サイト)で参照する
関連特許
横浜ゴム株式会社
タイヤ
2日前
横浜ゴム株式会社
タイヤ
1か月前
横浜ゴム株式会社
タイヤ
16日前
横浜ゴム株式会社
タイヤ
16日前
横浜ゴム株式会社
タイヤ
16日前
横浜ゴム株式会社
タイヤ
2日前
横浜ゴム株式会社
タイヤ
25日前
横浜ゴム株式会社
タイヤ
26日前
横浜ゴム株式会社
タイヤ
26日前
横浜ゴム株式会社
タイヤ
27日前
横浜ゴム株式会社
タイヤ
1か月前
横浜ゴム株式会社
タイヤ
16日前
横浜ゴム株式会社
タイヤ
1か月前
横浜ゴム株式会社
タイヤ
1か月前
横浜ゴム株式会社
タイヤ
1か月前
横浜ゴム株式会社
タイヤ
1か月前
横浜ゴム株式会社
タイヤ
1か月前
横浜ゴム株式会社
タイヤ
1か月前
横浜ゴム株式会社
タイヤ
1か月前
横浜ゴム株式会社
音響窓
2か月前
横浜ゴム株式会社
タイヤ
16日前
横浜ゴム株式会社
タイヤ
25日前
横浜ゴム株式会社
タイヤ
6日前
横浜ゴム株式会社
タイヤ
6日前
横浜ゴム株式会社
タイヤ
6日前
横浜ゴム株式会社
タイヤ
6日前
横浜ゴム株式会社
重荷重タイヤ
2日前
横浜ゴム株式会社
空気入りタイヤ
6日前
横浜ゴム株式会社
空気入りタイヤ
3日前
横浜ゴム株式会社
空気入りタイヤ
1か月前
横浜ゴム株式会社
空気入りタイヤ
1か月前
横浜ゴム株式会社
空気入りタイヤ
1か月前
横浜ゴム株式会社
タイヤ及びその製造方法
1か月前
横浜ゴム株式会社
高分子微粒子集合体の製造法
24日前
横浜ゴム株式会社
更生タイヤ及びその製造方法
6日前
横浜ゴム株式会社
タイヤおよびタイヤの検査方法
1か月前
続きを見る
他の特許を見る