TOP
|
特許
|
意匠
|
商標
特許ウォッチ
Twitter
他の特許を見る
10個以上の画像は省略されています。
公開番号
2025153146
公報種別
公開特許公報(A)
公開日
2025-10-10
出願番号
2024055462
出願日
2024-03-29
発明の名称
ウエスコポンプ
出願人
三浦工業株式会社
代理人
弁理士法人酒井国際特許事務所
主分類
F04D
29/66 20060101AFI20251002BHJP(液体用容積形機械;液体または圧縮性流体用ポンプ)
要約
【課題】ウエスコポンプの性能の低下を抑制すること。
【解決手段】ウエスコポンプ1は、吸込流路11と吐出流路12とを有するケーシング3と、ケーシング3の内側に配置され、吸込流路11に接続される流入流路7Dと、吐出流路12に接続される流出流路7Eと、流入流路7Dと流出流路7Eとを仕切る仕切壁部7Fとを有するケーシングライナ7と、ケーシングライナ7の内側に配置され、ケーシングライナ7との間において流入流路7D及び流出流路7Eのそれぞれに繋がる環状の流体流路10を形成するインペラ6と、を備える。流入流路7Dに面する仕切壁部7Fの流路形成面7Gの曲率半径Rは、15mm以上25mm以下である。
【選択図】図4
特許請求の範囲
【請求項1】
吸込流路と吐出流路とを有するケーシングと、
前記ケーシングの内側に配置され、前記吸込流路に接続される流入流路と、前記吐出流路に接続される流出流路と、前記流入流路と前記流出流路とを仕切る仕切壁部とを有するケーシングライナと、
前記ケーシングライナの内側に配置され、前記ケーシングライナとの間において前記流入流路及び前記流出流路のそれぞれに繋がる環状の流体流路を形成するインペラと、を備え、
前記流入流路に面する前記仕切壁部の流路形成面の曲率半径は、15mm以上25mm以下である、
ウエスコポンプ。
続きを表示(約 530 文字)
【請求項2】
前記流路形成面の曲率半径は、20mmである、
請求項1に記載のウエスコポンプ。
【請求項3】
前記ケーシングは、筒状部を有し、
前記ケーシングライナは、前記筒状部の内周面に接触する外側筒部と、前記外側筒部よりも径方向内側に配置される内側筒部とを有し、
前記仕切壁部は、前記外側筒部の一部であり、
前記インペラの回転軸に直交する断面において、前記流路形成面は、前記仕切壁部の外周面の第1部分と前記内側筒部の外周面の第2部分とを繋ぐように設けられる、
請求項1に記載のウエスコポンプ。
【請求項4】
前記インペラは、前記外側筒部の内側で回転し、
前記インペラの回転軸の放射方向において、前記インペラの周縁部は、前記第2部分よりも外側に配置される、
請求項3に記載のウエスコポンプ。
【請求項5】
前記ケーシングに保持され、前記流入流路に配置されるガイド部を有するガイド部材を備え、
前記インペラの回転軸に平行な方向において、前記流入流路の流入口の寸法は、前記流出流路の流出口の寸法よりも小さい、
請求項1に記載のウエスコポンプ。
発明の詳細な説明
【技術分野】
【0001】
本明細書で開示する技術は、ウエスコポンプに関する。
続きを表示(約 1,500 文字)
【背景技術】
【0002】
蒸気ボイラの給水ポンプとして、ウエスコポンプが使用される場合がある。特許文献1には、ウエスコポンプの一例が開示されている。
【先行技術文献】
【特許文献】
【0003】
実開平04-021793号公報
【発明の概要】
【発明が解決しようとする課題】
【0004】
ウエスコポンプの内部においてキャビテーションが発生すると、ウエスコポンプの性能が低下する可能性がある。
【0005】
本明細書で開示する技術は、ウエスコポンプの性能の低下を抑制することを目的とする。
【課題を解決するための手段】
【0006】
本明細書は、ウエスコポンプを開示する。ウエスコポンプは、吸込流路と吐出流路とを有するケーシングと、ケーシングの内側に配置され、吸込流路に接続される流入流路と、吐出流路に接続される流出流路と、流入流路と流出流路とを仕切る仕切壁部とを有するケーシングライナと、ケーシングライナの内側に配置され、ケーシングライナとの間において流入流路及び流出流路のそれぞれに繋がる環状の流体流路を形成するインペラと、を備える。流入流路に面する仕切壁部の流路形成面の曲率半径は、15mm以上25mm以下である。
【発明の効果】
【0007】
本明細書で開示する技術によれば、ウエスコポンプの性能の低下が抑制される。
【図面の簡単な説明】
【0008】
図1は、実施形態に係るウエスコポンプを示す斜視図である。
図2は、実施形態に係るウエスコポンプの一部を示す分解斜視図である。
図3は、実施形態に係るウエスコポンプの一部を示す分解斜視図である。
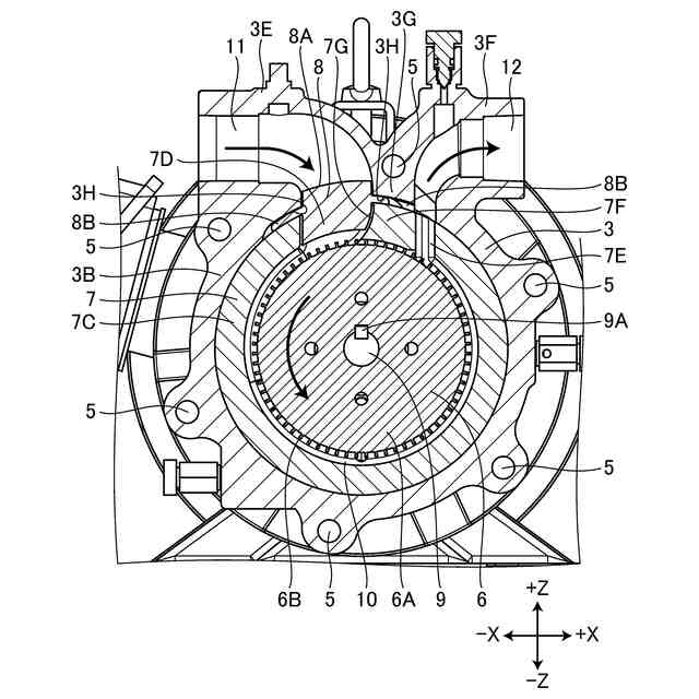
図4は、実施形態に係るウエスコポンプを示す断面図である。
図5は、実施形態に係るケーシングライナを示す断面図である。
図6は、実施形態に係る流路形成面の曲率半径と正味吸込ヘッドとの関係を示す図である。
図7は、実施例に係るケーシングライナ及び比較例に係るケーシングライナを示す図である。
図8は、実施例に係るケーシングライナ及び比較例に係るケーシングライナのそれぞれの流量と正味吸込ヘッドとの関係を示す図である。
図9は、実施例に係るケーシングライナ及び比較例に係るケーシングライナのそれぞれの流量と揚程との関係を示す図である。
図10は、実施例に係るケーシングライナ及び比較例に係るケーシングライナのそれぞれの流量と軸動力との関係を示す図である。
【発明を実施するための形態】
【0009】
以下、実施形態について図面を参照しながら説明する。実施形態においては、3次元直交座標系を設定し、3次元直交座標系を参照しながら各部の位置関係について説明する。水平面内のX軸に平行な方向をX軸方向とする。水平面内においてX軸と直交するY軸に平行な方向をY軸方向とする。X軸及びY軸のそれぞれと直交するZ軸に平行な方向をZ軸方向とする。+Z側(+Z方向)は上側(上方)であり、-Z側(-Z方向)は下側(下方)である。
【0010】
図1は、実施形態に係るウエスコポンプ1を示す斜視図である。図2及び図3のそれぞれは、実施形態に係るウエスコポンプ1の一部を示す分解斜視図である。図2は、ウエスコポンプ1の一部を-Y側から見た分解斜視図であり、図3は、ウエスコポンプ1の一部を+Y側から見た分解斜視図である。図4は、実施形態に係るウエスコポンプ1を示す断面図である。図4は、図1のA-A線断面矢視図に相当する。
(【0011】以降は省略されています)
この特許をJ-PlatPat(特許庁公式サイト)で参照する
関連特許
三浦工業株式会社
燃焼装置
今日
三浦工業株式会社
燃焼装置
今日
三浦工業株式会社
撹拌装置
11日前
三浦工業株式会社
燃焼装置
1か月前
三浦工業株式会社
貫流ボイラ
21日前
三浦工業株式会社
ガス化装置
24日前
三浦工業株式会社
洗浄システム
2か月前
三浦工業株式会社
汚泥減容方法
1か月前
三浦工業株式会社
台数制御装置
1か月前
三浦工業株式会社
劣化検出装置
1か月前
三浦工業株式会社
燃焼システム
28日前
三浦工業株式会社
流体殺菌装置
10日前
三浦工業株式会社
水蒸気発生装置
28日前
三浦工業株式会社
二重管接続構造
29日前
三浦工業株式会社
水素燃焼ボイラ
1か月前
三浦工業株式会社
汚泥乾燥加熱釜
16日前
三浦工業株式会社
ウエスコポンプ
28日前
三浦工業株式会社
熱媒供給システム
1か月前
三浦工業株式会社
汚泥減容システム
28日前
三浦工業株式会社
水素貯蔵供給装置
24日前
三浦工業株式会社
船舶用発電システム
1か月前
三浦工業株式会社
精製水供給システム
16日前
三浦工業株式会社
コンピュータプログラム
17日前
三浦工業株式会社
固液分離器及び濾過方法
2か月前
三浦工業株式会社
ヒータ装置及び貫流ボイラ
1か月前
三浦工業株式会社
燃焼装置、アンモニア評価方法
21日前
東京瓦斯株式会社
電力供給システム
28日前
メタウォーター株式会社
焼却システム及び燃焼制御方法
1か月前
メタウォーター株式会社
焼却システム及び熱媒供給制御方法
1か月前
個人
海流製造装置。
1か月前
株式会社スギノマシン
圧縮機
29日前
株式会社ツインバード
送風装置
1か月前
株式会社ツインバード
送風装置
1か月前
日機装株式会社
遠心ポンプ
21日前
カヤバ株式会社
電動ポンプ
今日
カヤバ株式会社
電動ポンプ
3か月前
続きを見る
他の特許を見る