TOP
|
特許
|
意匠
|
商標
特許ウォッチ
Twitter
他の特許を見る
10個以上の画像は省略されています。
公開番号
2025145537
公報種別
公開特許公報(A)
公開日
2025-10-03
出願番号
2024045757
出願日
2024-03-21
発明の名称
劣化検出装置
出願人
三浦工業株式会社
代理人
弁理士法人北大阪特許事務所
主分類
F16N
29/00 20060101AFI20250926BHJP(機械要素または単位;機械または装置の効果的機能を生じ維持するための一般的手段)
要約
【課題】異物の混入等が生じても、可視光の強度に基づいて潤滑油の劣化度合を適切に検出することが可能となる劣化検出装置を提供する。
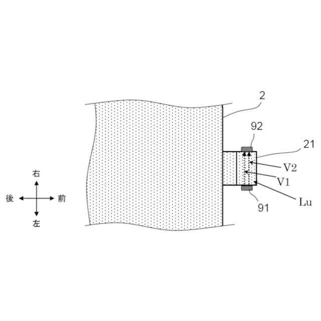
【解決手段】潤滑油Luを使用する機器Eに設けられ、前記潤滑油Luの劣化度合を検出する劣化検出装置9であって、第1色の光、および、前記第1色と異なる第2色の光を発光する光源部91と、前記潤滑油Luを透過させた前記第1色の光を第1透過光として受光し、前記潤滑油Luを透過させた前記第2色の光を第2透過光として受光する受光部92と、を備え、前記第1透過光と前記第2透過光それぞれの減衰の度合に基づいて、前記劣化度合を検出する劣化検出装置9とする。
【選択図】図1
特許請求の範囲
【請求項1】
潤滑油を使用する機器に設けられ、前記潤滑油の劣化度合を検出する劣化検出装置であって、
第1色の光、および、前記第1色と異なる第2色の光を発光する光源部と、
前記潤滑油を透過させた前記第1色の光を第1透過光として受光し、前記潤滑油を透過させた前記第2色の光を第2透過光として受光する受光部と、を備え、
前記第1透過光と前記第2透過光それぞれの減衰の度合に基づいて、前記劣化度合を検出する劣化検出装置。
続きを表示(約 1,000 文字)
【請求項2】
前記第1透過光の減衰率と前記第2透過光の減衰率との比に基づいて、前記劣化度合を検出する請求項1に記載の劣化検出装置。
【請求項3】
前記機器の使用開始後に、前記光源部の発光強度を、所定の第1強度レベルから、当該第1強度レベルよりも高い第2強度レベルへ切り替える請求項2に記載の劣化検出装置。
【請求項4】
前記機器の使用開始時からの経過時間を計る計時部を備え、
前記経過時間が所定時間に達したときに、前記光源部の発光強度を、前記第1強度レベルから前記第2強度レベルへ切り替える請求項3に記載の劣化検出装置。
【請求項5】
前記劣化度合が既定レベルに達したか否かを判別する判別部を備え、
前記判別部は、
前記経過時間が前記所定時間に達する前においては、
前記比が所定の閾値を超えていなければ、前記劣化度合が前記既定レベルに達していないと判別し、
前記経過時間が前記所定時間に達した後においては、
前記比が、前記閾値を超えていなければ前記劣化度合が前記既定レベルに達していないと判別し、前記閾値を超えていれば前記劣化度合が前記既定レベルに達していると判別する請求項4に記載の劣化検出装置であって、
前記経過時間が前記所定時間に達する前において前記比が前記閾値を超えていれば、前記光源部の発光強度を前記第2強度レベルとして前記比を求め、当該求められた比が、前記閾値を超えていなければ前記劣化度合が前記既定レベルに達していないと判別し、前記閾値を超えていれば前記劣化度合が前記既定レベルに達していると判別する劣化検出装置。
【請求項6】
前記潤滑油を貯留する貯留部を備えた前記機器に設けられ、当該貯留部における前記潤滑油の液面位置が所定位置より下側にある特定状態の発生を検出する請求項1から請求項5の何れかに記載の劣化検出装置であって、
前記光源部と前記受光部は、前記潤滑油を挟んで高さ方向位置が前記所定位置と合うように配置され、
前記光源部の発光時における前記受光部に受光された光の強度に基づいて、前記特定状態の発生を検出する劣化検出装置。
【請求項7】
前記機器は、液面計を有するオイルセパレータを前記貯留部として備えた給油式エアコンプレッサであり、
前記光源部と前記受光部は、前記液面計における前記潤滑油を挟むように配置された請求項6に記載の劣化検出装置。
発明の詳細な説明
【技術分野】
【0001】
本発明は、潤滑油の劣化度合を検出する劣化検出装置に関する。
続きを表示(約 1,400 文字)
【背景技術】
【0002】
従来、潤滑油を使用する機器として、エアコンプレッサ等の各種機器が広く利用されている。潤滑油を使用することにより、機器の動作によって生じる摩擦の緩和や機器内部の冷却等を効果的に実現させることが可能である。
【0003】
しかし潤滑油は徐々に劣化するため、劣化し過ぎた潤滑油をそのまま使い続けると、潤滑不良による故障や冷却不良による熱損傷といった不具合を生じる虞がある。このような不具合を未然に防ぐための措置として、劣化の進行した潤滑油を新しいものに交換する作業が一般的に実施される。
【0004】
しかしながら潤滑油の劣化の進み具合は、機器の使用頻度や使用環境等によって変動するため、潤滑油を適切な時期に交換することは容易ではない。例えば、潤滑油の交換を定期的に行う場合には、潤滑油の劣化があまり進んでいないにも関わらず無駄な交換がなされてしまうことや、逆に潤滑油の劣化が進み過ぎていても交換がなされないといった事態が生じ得る。
【0005】
このような問題を考慮したものとして、例えば特許文献1には、赤外線を用いて油の劣化度合を検知するオイル劣化検知手段、およびこれを備えた空気圧縮装置が開示されている。この装置によれば、油の劣化が限界に達したと判定されるとその旨がランプの点灯等により報知されるため、油を適切な時期に交換することが容易となる。
【先行技術文献】
【特許文献】
【0006】
特開平9-151860号公報
【発明の概要】
【発明が解決しようとする課題】
【0007】
潤滑油の劣化度合の検出手法としては、特許文献1に開示された赤外線を用いる手法の他、例えば、可視光が潤滑油を透過するようにし、この透過光の強度に基づいて劣化度合を検出する手法が考えられる。この手法によれば、劣化に伴って潤滑油の色が変化することを利用し、比較的簡易な構成で効果的に劣化度合を検出することが可能である。
【0008】
しかし、可視光の強度に基づいて潤滑油の劣化度合を検出する手法では、例えば潤滑油への異物の混入等が生じた場合に、添加剤の酸化や基油の劣化等による劣化度合とは関係なく当該異物によって透過光の強度が弱まってしまい、劣化度合を正確に検出することが難しくなる虞がある。潤滑油の劣化度合を適切に検出するためには、このような事態に対処する必要がある。
【0009】
本発明は上述した問題点に鑑み、異物の混入等が生じても、可視光の強度に基づいて潤滑油の劣化度合を適切に検出することが可能となる劣化検出装置の提供を目的とする。
【課題を解決するための手段】
【0010】
本発明に係る劣化検出装置は、潤滑油を使用する機器に設けられ、前記潤滑油の劣化度合を検出する劣化検出装置であって、第1色の光、および、前記第1色と異なる第2色の光を発光する光源部と、前記潤滑油を透過させた前記第1色の光を第1透過光として受光し、前記潤滑油を透過させた前記第2色の光を第2透過光として受光する受光部と、を備え、前記第1透過光と前記第2透過光それぞれの減衰の度合に基づいて、前記劣化度合を検出する構成とする。本構成によれば、異物の混入等が生じても、可視光の強度に基づいて潤滑油の劣化度合を適切に検出することが可能となる。
(【0011】以降は省略されています)
この特許をJ-PlatPat(特許庁公式サイト)で参照する
関連特許
三浦工業株式会社
撹拌装置
今日
三浦工業株式会社
燃焼装置
19日前
三浦工業株式会社
貫流ボイラ
10日前
三浦工業株式会社
ガス化装置
13日前
三浦工業株式会社
台数制御装置
24日前
三浦工業株式会社
洗浄システム
1か月前
三浦工業株式会社
燃焼システム
17日前
三浦工業株式会社
汚泥減容方法
25日前
三浦工業株式会社
劣化検出装置
24日前
三浦工業株式会社
汚泥乾燥加熱釜
5日前
三浦工業株式会社
水蒸気発生装置
17日前
三浦工業株式会社
水素燃焼ボイラ
1か月前
三浦工業株式会社
ウエスコポンプ
17日前
三浦工業株式会社
二重管接続構造
18日前
三浦工業株式会社
水素貯蔵供給装置
13日前
三浦工業株式会社
汚泥減容システム
17日前
三浦工業株式会社
熱媒供給システム
1か月前
三浦工業株式会社
船舶用発電システム
24日前
三浦工業株式会社
精製水供給システム
5日前
三浦工業株式会社
コンピュータプログラム
6日前
三浦工業株式会社
固液分離器及び濾過方法
2か月前
三浦工業株式会社
ヒータ装置及び貫流ボイラ
1か月前
三浦工業株式会社
ダイオキシン類の分画方法
2か月前
三浦工業株式会社
燃焼装置、アンモニア評価方法
10日前
東京瓦斯株式会社
電力供給システム
17日前
メタウォーター株式会社
焼却システム及び燃焼制御方法
1か月前
メタウォーター株式会社
焼却システム及び熱媒供給制御方法
1か月前
国立大学法人九州大学
水電解装置、水素製造システム及び水電解方法
2か月前
個人
留め具
13日前
個人
鍋虫ねじ
2か月前
個人
紛体用仕切弁
2か月前
個人
回転伝達機構
2か月前
個人
ホース保持具
6か月前
個人
トーションバー
6か月前
個人
差動歯車用歯形
4か月前
個人
給排気装置
20日前
続きを見る
他の特許を見る