TOP
|
特許
|
意匠
|
商標
特許ウォッチ
Twitter
他の特許を見る
公開番号
2025176449
公報種別
公開特許公報(A)
公開日
2025-12-04
出願番号
2024082620
出願日
2024-05-21
発明の名称
環境情報収集システム
出願人
三浦工業株式会社
代理人
弁理士法人酒井国際特許事務所
主分類
G06Q
50/04 20120101AFI20251127BHJP(計算;計数)
要約
【課題】事業所内で環境情報を収集するにあたり、収集済みの環境情報に対する所要の情報処理の負荷を分散させることができる環境情報収集システムを提供すること。
【解決手段】産業機械2が設置された事業所3の環境情報を収集するための環境情報収集システム1は、事業所3内に配置された1以上の環境センサ5からなるセンサ群50と、センサ群50が検出した環境情報を取得及び蓄積可能に構成され、環境情報を下流側から上流側に向かって伝送する階層構造を有する複数の情報処理装置6と、を備える。複数の情報処理装置6は、いずれか1以上の階層において、取得済みの環境情報に対して予め規定された情報処理を実行するように構成される。
【選択図】図1
特許請求の範囲
【請求項1】
産業機械が設置された事業所の環境情報を収集するための環境情報収集システムであって、
事業所内に配置された1以上の環境センサからなるセンサ群と、
センサ群が検出した環境情報を取得及び蓄積可能に構成され、環境情報を下流側から上流側に向かって伝送する階層構造を有する複数の情報処理装置と、を備え、
複数の情報処理装置は、いずれか1以上の階層において、取得済みの環境情報に対して予め規定された情報処理を実行するように構成される、
環境情報収集システム。
続きを表示(約 2,200 文字)
【請求項2】
産業機械は、1次ユーティリティを需要設備で利用可能な2次ユーティリティに変換するものであり、
センサ群は、
1次ユーティリティ側に設けられた1以上の環境センサからなる第1センサ群と、
2次ユーティリティ側に設けられた1以上の環境センサからなる第2センサ群と、
産業機械に設けられた1以上の環境センサからなる第3センサ群と、を含む、
請求項1に記載の環境情報収集システム。
【請求項3】
予め規定された情報処理は、時系列の環境情報を所要の時間粒度に調整するバッチ処理、及び種類の異なる複数の環境情報を産業活動の階層レベルに紐付けられた情報集合体に統合するグルーピング処理の一方又は両方を含む、
請求項1又は請求項2に記載の環境情報収集システム。
【請求項4】
産業活動の階層レベルは、機械単体レベル、機械群レベル、セルレベル、ラインレベル、建築物レベル、及び事業所レベルのうち1以上の階層レベルを含む、
請求項3に記載の環境情報収集システム。
【請求項5】
複数の情報処理装置のうちのいずれか1以上の階層において、情報集合体に統合された環境情報から1次ユーティリティの入力量及び2次ユーティリティの出力量を導出し、これらの入力量及び出力量に基づいて、ユーティリティ変換効率を演算するユーティリティ変換効率演算エンジンを備える、
請求項4に記載の環境情報収集システム。
【請求項6】
複数の情報処理装置のうちのいずれか1以上の階層において、情報集合体に統合された環境情報から産業機械のコンディション情報を抽出し、このコンディション情報に基づいて、産業機械の異常の兆候及び発生の一方又は両方を検出する産業機械異常検出エンジンを備える、
請求項4に記載の環境情報収集システム。
【請求項7】
複数の情報処理装置のうちのいずれか1以上の階層において、
情報集合体に統合された環境情報から1次ユーティリティの入力量及び2次ユーティリティの出力量を導出し、これらの入力量及び出力量に基づいて、ユーティリティ変換効率を演算するユーティリティ変換効率演算エンジンと、
情報集合体に統合された環境情報から産業機械のコンディション情報を抽出し、このコンディション情報に基づいて、産業機械の異常の兆候及び発生の一方又は両方を検出する産業機械異常検出エンジンと、
ユーティリティ変換効率演算エンジンの演算結果、及び産業機械異常検出エンジンの検出結果の一方又は両方に基づいて、産業機械の健全性を診断する産業機械診断エンジンと、を備える、
請求項4に記載の環境情報収集システム。
【請求項8】
第2センサ群は、産業機械から送出された2次ユーティリティを需要設備に送達する輸送経路において、産業機械寄りに配置された送出側第2センサ群と、需要設備寄りに配置された送達側第2センサ群と、を含み、
複数の情報処理装置のうちのいずれか1以上の階層において、情報集合体に統合された環境情報から2次ユーティリティの送出量及び送達量を導出し、これらの送出量及び送達量に基づいて、輸送経路におけるユーティリティ損失率を演算するユーティリティ損失率演算エンジンを備える、
請求項4に記載の環境情報収集システム。
【請求項9】
第2センサ群は、産業機械から送出された2次ユーティリティを需要設備に送達する輸送経路において、産業機械寄りに配置された送出側第2センサ群と、需要設備寄りに配置された送達側第2センサ群と、を含み、
複数の情報処理装置のうちのいずれか1以上の階層において、情報集合体に統合された環境情報から輸送経路のコンディション情報を抽出し、このコンディション情報に基づいて、輸送経路の異常の兆候及び発生の一方又は両方を検出する輸送経路異常検出エンジンを備える、
請求項4に記載の環境情報収集システム。
【請求項10】
第2センサ群は、産業機械から送出された2次ユーティリティを需要設備に送達する輸送経路において、産業機械寄りに配置された送出側第2センサ群と、需要設備寄りに配置された送達側第2センサ群と、を含み、
複数の情報処理装置のうちのいずれか1以上の階層において、
情報集合体に統合された環境情報から2次ユーティリティの送出量及び送達量を導出し、これらの送出量及び送達量に基づいて、輸送経路におけるユーティリティ損失率を演算するユーティリティ損失率演算エンジンと、
情報集合体に統合された環境情報から輸送経路のコンディション情報を抽出し、このコンディション情報に基づいて、輸送経路の異常の兆候及び発生の一方又は両方を検出する輸送経路異常検出エンジンと、
ユーティリティ損失率演算エンジンの演算結果、及び輸送経路異常検出エンジンの検出結果の一方又は両方に基づいて、輸送経路の健全性を診断する輸送経路診断エンジンと、を備える、
請求項4に記載の環境情報収集システム。
(【請求項11】以降は省略されています)
発明の詳細な説明
【技術分野】
【0001】
本明細書で開示する技術は、環境情報収集システムに関する。
続きを表示(約 1,300 文字)
【背景技術】
【0002】
特許文献1には、検出部により検出された管理対象機器の状況に基づいて、管理対象機器を遠隔管理する技術が開示されている。
【先行技術文献】
【特許文献】
【0003】
特開2021-162999号公報
【発明の概要】
【発明が解決しようとする課題】
【0004】
事業所に設置された産業機械を管理する場合、事業所内で環境情報を収集し、収集済みの環境情報に対して所要の情報処理を行う可能性がある。収集された環境情報が多数存在する場合、情報処理の負荷が大きくなる可能性がある。
【0005】
本明細書で開示する技術は、事業所内で環境情報を収集するにあたり、収集済みの環境情報に対する所要の情報処理の負荷を分散させることができる環境情報収集システムを提供することを目的とする。
【課題を解決するための手段】
【0006】
本明細書は、産業機械が設置された事業所の環境情報を収集するための環境情報収集システムを開示する。環境情報収集システムは、事業所内に配置された1以上の環境センサからなるセンサ群と、センサ群が検出した環境情報を取得及び蓄積可能に構成され、環境情報を下流側から上流側に向かって伝送する階層構造を有する複数の情報処理装置と、を備える。複数の情報処理装置は、いずれか1以上の階層において、取得済みの環境情報に対して予め規定された情報処理を実行するように構成される。
【発明の効果】
【0007】
本明細書で開示する技術によれば、事業所内で環境情報を収集するにあたり、収集済みの環境情報に対する所要の情報処理の負荷を分散させることができる環境情報収集システムを提供することができる。
【図面の簡単な説明】
【0008】
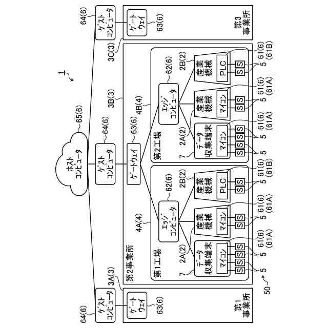
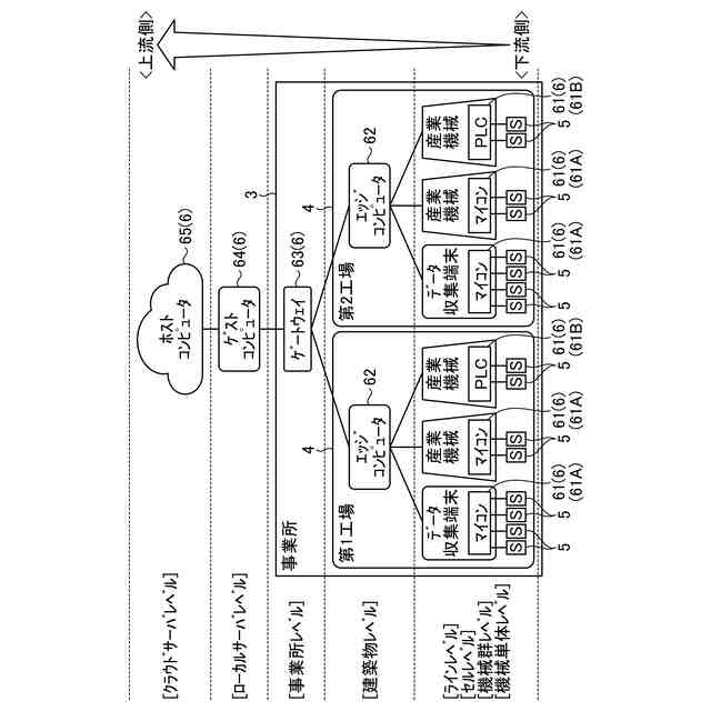
図1は、実施形態に係る環境情報収集システムを模式的に示す図である。
図2は、実施形態に係る情報処理装置を示すハードウエア構成図である。
図3は、実施形態に係る情報処理装置を説明するための図である。
図4は、実施形態に係る産業機械及び需要設備を模式的に示す図である。
図5は、実施形態に係る情報処理装置を示す機能ブロック図である。
図6は、実施形態に係る産業機械の健全性を診断する方法を示すフローチャートである。
図7は、実施形態に係る輸送経路の健全性を診断する方法を示すフローチャートである。
図8は、実施形態に係るユーティリティ変換効率の改善効果を評価する方法を示すフローチャートである。
【発明を実施するための形態】
【0009】
[1]環境情報収集システム
図1は、実施形態に係る環境情報収集システム1を模式的に示す図である。環境情報収集システム1は、産業機械2が設置された事業所3の環境情報を収集する。
【0010】
産業機械2とは、物の生産又はサービスの提供に利用される機械器具をいう。産業機械2は、1次ユーティリティを需要設備8で利用可能な2次ユーティリティに変換するユーティリティ変換機械器具を主に含む。
(【0011】以降は省略されています)
この特許をJ-PlatPat(特許庁公式サイト)で参照する
関連特許
三浦工業株式会社
撹拌装置
1か月前
三浦工業株式会社
燃焼装置
27日前
三浦工業株式会社
燃焼装置
1か月前
三浦工業株式会社
燃焼装置
27日前
三浦工業株式会社
貫流ボイラ
1か月前
三浦工業株式会社
ガス化装置
1か月前
三浦工業株式会社
流体殺菌装置
14日前
三浦工業株式会社
電極式ボイラ
14日前
三浦工業株式会社
流体殺菌装置
1か月前
三浦工業株式会社
台数制御装置
2か月前
三浦工業株式会社
劣化検出装置
2か月前
三浦工業株式会社
流体殺菌装置
6日前
三浦工業株式会社
汚泥減容方法
2か月前
三浦工業株式会社
燃焼システム
1か月前
三浦工業株式会社
ウエスコポンプ
1か月前
三浦工業株式会社
汚泥乾燥加熱釜
1か月前
三浦工業株式会社
二重管接続構造
1か月前
三浦工業株式会社
水蒸気発生装置
1か月前
三浦工業株式会社
汚泥減容システム
1か月前
三浦工業株式会社
熱媒供給システム
2か月前
三浦工業株式会社
水素貯蔵供給装置
1か月前
三浦工業株式会社
船舶用発電システム
2か月前
三浦工業株式会社
精製水供給システム
1か月前
三浦工業株式会社
環境情報収集システム
今日
三浦工業株式会社
コンピュータプログラム
1か月前
三浦工業株式会社
燃焼装置、アンモニア評価方法
1か月前
三浦工業株式会社
船舶用ハイブリッド発電システム
今日
東京瓦斯株式会社
電力供給システム
1か月前
メタウォーター株式会社
焼却システム及び燃焼制御方法
2か月前
三浦工業株式会社
メンテナンス業務支援システム及びメンテナンス業務運用方法
今日
メタウォーター株式会社
焼却システム及び熱媒供給制御方法
2か月前
個人
詐欺保険
1か月前
個人
縁伊達ポイン
1か月前
個人
職業自動販売機
20日前
個人
5掛けポイント
27日前
個人
RFタグシート
1か月前
続きを見る
他の特許を見る