TOP
|
特許
|
意匠
|
商標
特許ウォッチ
Twitter
他の特許を見る
公開番号
2025150563
公報種別
公開特許公報(A)
公開日
2025-10-09
出願番号
2024051505
出願日
2024-03-27
発明の名称
二重管接続構造
出願人
三浦工業株式会社
代理人
個人
,
個人
主分類
F16L
17/025 20060101AFI20251002BHJP(機械要素または単位;機械または装置の効果的機能を生じ維持するための一般的手段)
要約
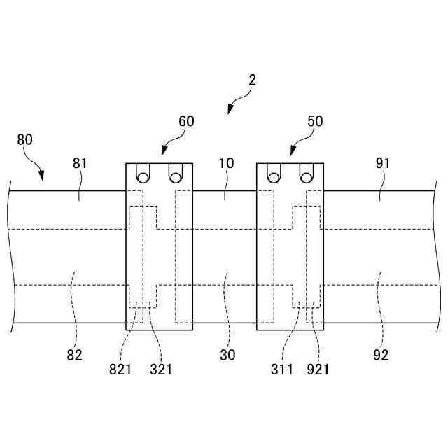
【課題】簡易な構成であって、内管の接続部分を容易に露出でき、接続に用いられる内管を容易に取り外せる二重管接続構造を提供する。
【解決手段】二重管接続構造は、前記燃料ガス供給源側の外管と前記燃焼機器側の外管との間に、軸方向において所定の間隔を空けて配置される円筒形状の第1接続用外管と、その内側に配置される少なくとも1つの第1接続用内管と、前記第1接続用外管と、前記燃焼機器側の二重管の外管もしくは第2接続用外管とを接続する第1接続部材と、前記第1接続用外管と、前記燃料ガス供給源側の二重管の外管もしくは第2接続用外管とを接続する第2接続部材とを備え、前記第2接続用外管は、前記燃料ガス供給源側の二重管の外管及び前記燃焼機器側の二重管の外管の少なくともいずれかを第1接続用外管側に延伸して前記第1接続用外管と接続可能な外管とする部材である。
【選択図】図1
特許請求の範囲
【請求項1】
外管と、前記外管の内側に配置され、前記外管との間に換気流路を形成する内管とを備え、燃料ガス供給源と燃焼機器とを接続する二重管において、前記燃料ガス供給源側の二重管の端部と、前記燃焼機器側の二重管の端部とを接続する二重管接続構造であって、
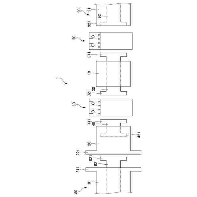
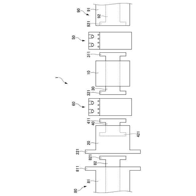
前記燃料ガス供給源側の二重管の外管と前記燃焼機器側の二重管の外管との間に、軸方向において所定の間隔を空けて配置される円筒形状の第1接続用外管と、
前記第1接続用外管の内側に配置され、前記燃料ガス供給源側の二重管の内管と前記燃焼機器側の二重管の内管との接続に用いられる少なくとも1つの第1接続用内管と、
前記第1接続用外管と、前記燃焼機器側の二重管の外管もしくは前記第1接続用外管の前記燃焼機器側に配置された第2接続用外管とを接続する第1接続部材と、
前記第1接続用外管と、前記燃料ガス供給源側の二重管の外管もしくは前記第1接続用外管の前記燃料ガス供給源側に配置された第2接続用外管とを接続する第2接続部材と、
を備え、
前記第2接続用外管は、前記燃料ガス供給源側の二重管の外管及び前記燃焼機器側の二重管の外管の少なくともいずれかを前記第1接続用外管側に延伸して前記第1接続用外管と接続可能な外管とする部材であり、
前記第1接続部材及び前記第2接続部材は、
円筒形状であって内側に前記第1接続用外管を挿入可能であるハウジングと、
前記ハウジングの内径を縮小するように前記ハウジングを締め付ける締め付け手段と、
前記ハウジングの内側に配置され、前記第1接続用外管に密着する弾性体と、
を備える二重管接続構造。
続きを表示(約 680 文字)
【請求項2】
前記第2接続用外管は、前記第1接続用外管側の端部が円筒形状であり、前記第1接続用外管とは反対側の端部にフランジ部を有し、
前記フランジ部は、前記燃料ガス供給源側の二重管の外管及び前記燃焼機器側の二重管の外管の少なくともいずれかがフランジを有する場合に、前記フランジとフランジ接続される、
請求項1に記載の二重管接続構造。
【請求項3】
前記第2接続用外管の内側に配置される第2接続用内管をさらに備える、
請求項1又は請求項2に記載の二重管接続構造。
【請求項4】
前記第1接続用外管の長さは、前記第1接続用内管の総長さに比べて短い、
請求項1に記載の二重管接続構造。
【請求項5】
前記第1接続用外管の長さは、前記第1接続用内管の総長さに比べて、少なくとも前記第1接続用内管を前記燃焼機器側の内管又は前記燃料ガス供給源側の内管にフランジ接続する際に使用されるボルトのボルト長に相当する長さ分短い、
請求項4に記載の二重管接続構造。
【請求項6】
前記第2接続用内管は、少なくとも前記第1接続用内管側にフランジ部を有し、
前記二重管接続構造により、前記燃料ガス供給源側の二重管と前記燃焼機器側の二重管とが接続された状態において、前記第2接続用外管の前記第1接続用外管側の端面と、前記第2接続用内管の前記第1接続用内管とフランジ接続される前記フランジ部の端面とが同一面上になるように配置される、
請求項3に記載の二重管接続構造。
発明の詳細な説明
【技術分野】
【0001】
本発明は、二重管を接続するための二重管接続構造に関する。
続きを表示(約 2,100 文字)
【背景技術】
【0002】
従来、船舶の機関室の配置されるボイラへの燃料ガスの供給において、機関室内の燃料ガス配管は、日本海事協会鋼船規則により、すべてダクトもしくは二重管等に収めることが要求されている。また、このダクトもしくは二重管等は、内部の燃料ガス圧に耐えられる強度を有することも要求されている。そのため、二重管を用いる場合には、ボイラへ燃料ガスを供給する燃料ガス配管を内管とし、その内管(燃料ガス配管)を完全に閉囲する外管を備えた耐圧二重管とする必要がある。燃料ガスの供給源等が配置される船舶側の二重管とボイラ側(燃焼機器側)の二重管とは、継手等により接続される。
また、このような二重管は、例えば、燃料ガスとしてアンモニアを使用するボイラにおいて、アンモニアの漏洩によってボイラの運転に影響が生じることを抑制する等の目的でも使用される(例えば、特許文献1)。
【先行技術文献】
【特許文献】
【0003】
特開2023-77011号公報
【発明の概要】
【発明が解決しようとする課題】
【0004】
二重管により燃料ガスが供給されるボイラにおいて、メンテナンス等により、内管のフランジ接続部分のボルトを外す必要が生じる場合がある。そのため、内管の接続部分を容易に露出できるように、接続部分の外管を、例えば、半割り円筒形状とするという手法が考えられる。
しかし、このような半割り円筒形状の外管では、船舶側や燃焼機器の二重管との接続部分となる端部の周方向のシールに加えて、軸方向のシールも必要となり、気密性や耐圧性等の条件を満たすための構造が複雑になってしまう。特に、半割り円筒形状の外管が内管を流通する燃料ガスの最大使用圧以上の圧力に耐えられる強度の条件を満たすためには、高気密のシール性や多数のボルト等が必要となる。
【0005】
また、二重管の接続部分については、例えば、燃焼機器(バーナ)を外す場合には、接続部分の内管を取り外す作業等が必要となるが、二重管の軸方向における内管の接続部分と外管の接続部分の位置とが大きく異なる場合には、内管が外管に引っ掛かる等して、容易に取り外せないという問題がある。
以上のことから、船舶側(燃料供給源側)の二重管とボイラ側(燃焼機器側)の二重管とを接続する構造として、簡易な構成であって、両者を接続する内管の接続部分を容易に露出でき、かつ、両者を接続する内管の取り外しも容易な接続構造が求められている。
【0006】
本発明は、簡易な構成であって、内管の接続部分を容易に露出でき、接続に用いられる内管を取り外せる二重管接続構造を提供することを目的とする。
【課題を解決するための手段】
【0007】
本発明は、以下のような解決手段により、前記課題を解決する。
【0008】
本発明の二重管接続構造は、外管と、前記外管の内側に配置され、前記外管との間に換気流路を形成する内管とを備え、燃料ガス供給源と燃焼機器とを接続する二重管において、前記燃料ガス供給源側の二重管の端部と、前記燃焼機器側の二重管の端部とを接続する二重管接続構造であって、前記燃料ガス供給源側の二重管の外管と前記燃焼機器側の二重管の外管との間に、軸方向において所定の間隔を空けて配置される円筒形状の第1接続用外管と、前記第1接続用外管の内側に配置され、前記燃料ガス供給源側の二重管の内管と前記燃焼機器側の二重管の内管とを接続する少なくとも1つの第1接続用内管と、前記第1接続用外管と、前記燃焼機器側の二重管の外管もしくは前記第1接続用外管の前記燃焼機器側に配置された第2接続用外管とを接続する第1接続部材と、前記第1接続用外管と、前記燃料ガス供給源側の二重管の外管もしくは前記第1接続用外管の前記燃料ガス供給源側に配置された第2接続用外管とを接続する第2接続部材と、を備え、前記第2接続用外管は、前記燃料ガス供給源側の二重管の外管の及び前記燃焼機器側の二重管の外管の少なくともいずれかを前記第1接続用外管側に延伸して前記第1接続用外管と接続可能な外管とする部材であり、前記第1接続部材及び前記第2接続部材は、円筒形状であって内側に前記第1接続用外管を挿入可能であるハウジングと、前記ハウジングの内径を縮小するように前記ハウジングを締め付ける締め付け手段と、前記ハウジングの内側に配置され、前記第1接続用外管に密着する弾性体と、を備える。
【0009】
前記第2接続用外管は、前記第1接続用外管側の端部が円筒形状であり、前記第1接続用外管とは反対側の端部にフランジ部を有し、前記フランジ部は、前記燃料ガス供給源側の二外管端部の外管及び前記燃焼機器側の二重管端部の外管の少なくともいずれかがフランジを有する場合に、前記フランジとフランジ接続されることが好ましい。
【0010】
また、二重管接続構造は、前記第2接続用外管の内側に配置される第2接続用内管をさらに備えることが好ましい。
(【0011】以降は省略されています)
この特許をJ-PlatPat(特許庁公式サイト)で参照する
関連特許
三浦工業株式会社
燃焼装置
23日前
三浦工業株式会社
燃焼装置
23日前
三浦工業株式会社
撹拌装置
1か月前
三浦工業株式会社
燃焼装置
1か月前
三浦工業株式会社
ガス化装置
1か月前
三浦工業株式会社
貫流ボイラ
1か月前
三浦工業株式会社
台数制御装置
1か月前
三浦工業株式会社
劣化検出装置
1か月前
三浦工業株式会社
燃焼システム
1か月前
三浦工業株式会社
電極式ボイラ
10日前
三浦工業株式会社
流体殺菌装置
2日前
三浦工業株式会社
流体殺菌装置
10日前
三浦工業株式会社
流体殺菌装置
1か月前
三浦工業株式会社
汚泥減容方法
1か月前
三浦工業株式会社
水素燃焼ボイラ
2か月前
三浦工業株式会社
水蒸気発生装置
1か月前
三浦工業株式会社
ウエスコポンプ
1か月前
三浦工業株式会社
汚泥乾燥加熱釜
1か月前
三浦工業株式会社
二重管接続構造
1か月前
三浦工業株式会社
熱媒供給システム
2か月前
三浦工業株式会社
水素貯蔵供給装置
1か月前
三浦工業株式会社
汚泥減容システム
1か月前
三浦工業株式会社
精製水供給システム
1か月前
三浦工業株式会社
船舶用発電システム
1か月前
三浦工業株式会社
コンピュータプログラム
1か月前
三浦工業株式会社
ヒータ装置及び貫流ボイラ
2か月前
三浦工業株式会社
燃焼装置、アンモニア評価方法
1か月前
東京瓦斯株式会社
電力供給システム
1か月前
メタウォーター株式会社
焼却システム及び燃焼制御方法
2か月前
メタウォーター株式会社
焼却システム及び熱媒供給制御方法
2か月前
個人
留め具
1か月前
個人
鍋虫ねじ
3か月前
個人
ホース保持具
7か月前
個人
紛体用仕切弁
3か月前
個人
回転伝達機構
3か月前
個人
差動歯車用歯形
5か月前
続きを見る
他の特許を見る