TOP
|
特許
|
意匠
|
商標
特許ウォッチ
Twitter
他の特許を見る
10個以上の画像は省略されています。
公開番号
2025134425
公報種別
公開特許公報(A)
公開日
2025-09-17
出願番号
2024032314
出願日
2024-03-04
発明の名称
ヒータ装置及び貫流ボイラ
出願人
三浦工業株式会社
代理人
弁理士法人酒井国際特許事務所
主分類
H05B
3/00 20060101AFI20250909BHJP(他に分類されない電気技術)
要約
【課題】不平衡負荷にならないように貫流ボイラの負荷率を多位置化する。
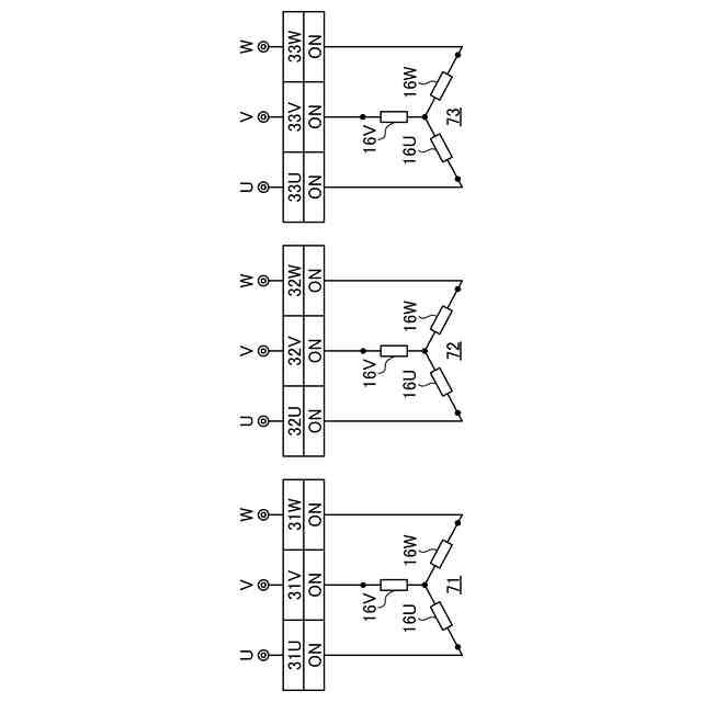
【解決手段】ヒータ装置は、三相交流電源に接続され、相互に結線された第1相ヒータエレメントであるV相ヒータエレメント16Vと第2相ヒータエレメントであるU相ヒータエレメント16Uと第3相ヒータエレメントであるW相ヒータエレメント16Wとを有する第1電気ヒータ71と、相互に結線されたV相ヒータエレメントとU相ヒータエレメントとW相ヒータエレメントとを有する第2電気ヒータ72と、相互に結線されたV相ヒータエレメントとU相ヒータエレメントとW相ヒータエレメントとを有する第3電気ヒータ73と、三相交流電源から第1電気ヒータ、第2電気ヒータ、及び第3電気ヒータへの交流電力の供給状態を切り換えるスイッチユニットと、コントローラと、を備える。
【選択図】図13
特許請求の範囲
【請求項1】
三相交流電源に接続され、相互に結線された第1相ヒータエレメントと第2相ヒータエレメントと第3相ヒータエレメントとを有する第1電気ヒータと、
前記三相交流電源に接続され、相互に結線された第1相ヒータエレメントと第2相ヒータエレメントと第3相ヒータエレメントとを有する第2電気ヒータと、
前記三相交流電源に接続され、相互に結線された第1相ヒータエレメントと第2相ヒータエレメントと第3相ヒータエレメントとを有する第3電気ヒータと、
前記三相交流電源から前記第1電気ヒータ、前記第2電気ヒータ、及び前記第3電気ヒータへの交流電力の供給状態を切り換えるスイッチユニットと、
コントローラと、を備え、
前記スイッチユニットは、前記三相交流電源と前記第1電気ヒータの第3相ヒータエレメントとが接続又は切断され、前記三相交流電源と前記第2電気ヒータの第1相ヒータエレメントとが接続又は切断され、前記三相交流電源と前記第3電気ヒータの第2相ヒータエレメントとが接続又は切断されるように、オン又はオフされる第1特定スイッチを含み、
前記コントローラは、前記第1電気ヒータ、前記第2電気ヒータ、及び前記第3電気ヒータを第1出力で運転させるときに前記第1特定スイッチをオンし、前記第1出力よりも低い第2出力で運転させるときに前記第1特定スイッチをオフする、
ヒータ装置。
続きを表示(約 3,600 文字)
【請求項2】
前記スイッチユニットは、前記三相交流電源と前記第1電気ヒータの第1相ヒータエレメント及び第2相ヒータエレメントとが接続又は切断され、前記三相交流電源と前記第2電気ヒータの第2相ヒータエレメント及び第3相ヒータエレメントが接続又は切断され、前記三相交流電源と前記第3電気ヒータの第3相ヒータエレメント及び第1相ヒータエレメントとが接続又は切断されるように、オン又はオフされる第2特定スイッチを含み、
前記コントローラは、前記第1電気ヒータ、前記第2電気ヒータ、及び前記第3電気ヒータを第1出力で運転させるときに前記第1特定スイッチ及び前記第2特定スイッチをオンし、前記第1出力よりも低い第2出力で運転させるときに前記第1特定スイッチをオフし前記第2特定スイッチをオンし、運転停止させるときに前記第1特定スイッチ及び前記第2特定スイッチをオフする、
請求項1に記載のヒータ装置。
【請求項3】
前記第1電気ヒータ、前記第2電気ヒータ、及び前記第3電気ヒータのそれぞれは、相互に結線された第1相ヒータエレメントと第2相ヒータエレメントと第3相ヒータエレメントを有する第1群エレメントと、相互に結線された第1相ヒータエレメントと第2相ヒータエレメントと第3相ヒータエレメントを有する第2群エレメントと、を有する、
請求項1に記載のヒータ装置。
【請求項4】
前記スイッチユニットは、
前記三相交流電源と前記第1群エレメントの第1相ヒータエレメントとが接続又は切断されるように、オン又はオフされる第1スイッチと、
前記三相交流電源と前記第1群エレメントの第2相ヒータエレメントとが接続又は切断されるように、オン又はオフされる第2スイッチと、
前記三相交流電源と前記第1群エレメントの第3相ヒータエレメントとが接続又は切断されるように、オン又はオフされる第3スイッチと、
前記三相交流電源と前記第2群エレメントの第1相ヒータエレメントとが接続又は切断されるように、オン又はオフされる第4スイッチと、
前記三相交流電源と前記第2群エレメントの第2相ヒータエレメントとが接続又は切断されるように、オン又はオフされる第5スイッチと、
前記三相交流電源と前記第2群エレメントの第3相ヒータエレメントとが接続又は切断されるように、オン又はオフされる第6スイッチと、を含み、
前記コントローラは、前記第1スイッチと前記第2スイッチと前記第3スイッチと前記第4スイッチと前記第5スイッチと前記第6スイッチとのオンとオフとの組み合わせを変更して、前記第1電気ヒータ、前記第2電気ヒータ、及び前記第3電気ヒータの出力を変更する、
請求項3に記載のヒータ装置。
【請求項5】
前記第1特定スイッチは、1つのスイッチにより構成され、
前記スイッチユニットは、
前記三相交流電源と前記第1電気ヒータの第2相ヒータエレメントとが接続又は切断され、前記三相交流電源と前記第2電気ヒータの第3相ヒータエレメントとが接続又は切断され、前記三相交流電源と前記第3電気ヒータの第1相ヒータエレメントとが接続又は切断されるように、オン又はオフされる1つの第2特定スイッチと、
前記三相交流電源と前記第1電気ヒータの第1相ヒータエレメントとが接続又は切断され、前記三相交流電源と前記第2電気ヒータの第2相ヒータエレメントとが接続又は切断され、前記三相交流電源と前記第3電気ヒータの第3相ヒータエレメントとが接続又は切断されるように、オン又はオフされる1つの第3特定スイッチと、を含み、
前記コントローラは、前記第1電気ヒータ、前記第2電気ヒータ、及び前記第3電気ヒータを第1出力で運転させるときに前記第1特定スイッチ、前記第2特定スイッチ、及び前記第3特定スイッチをオンし、前記第1出力よりも低い第2出力で運転させるときに前記第1特定スイッチをオフし前記第2特定スイッチ及び前記第3特定スイッチをオンし、運転停止させるときに前記第1特定スイッチ、前記第2特定スイッチ、及び前記第3特定スイッチをオフする、
請求項1に記載のヒータ装置。
【請求項6】
前記第1特定スイッチは、1つのスイッチにより構成され、
前記スイッチユニットは、
前記三相交流電源と前記第1電気ヒータの第2相ヒータエレメント及び第1相ヒータエレメントとが接続又は切断され、前記三相交流電源と前記第2電気ヒータの第3相ヒータエレメント及び第2相ヒータエレメントとが接続又は切断され、前記三相交流電源と前記第3電気ヒータの第1相ヒータエレメント及び第3相ヒータエレメントとが接続又は切断されるように、オン又はオフされる1つの第2特定スイッチを含み、
前記コントローラは、前記第1電気ヒータ、前記第2電気ヒータ、及び前記第3電気ヒータを第1出力で運転させるときに前記第1特定スイッチ及び前記第2特定スイッチをオンし、前記第1出力よりも低い第2出力で運転させるときに前記第1特定スイッチをオフし前記第2特定スイッチをオンし、運転停止させるときに前記第1特定スイッチ及び前記第2特定スイッチをオフする、
請求項1に記載のヒータ装置。
【請求項7】
三相交流電源に接続され、相互に結線された第1相ヒータエレメントと第2相ヒータエレメントと第3相ヒータエレメントとを有する第4電気ヒータと、
前記三相交流電源に接続され、相互に結線された第1相ヒータエレメントと第2相ヒータエレメントと第3相ヒータエレメントとを有する第5電気ヒータと、
前記三相交流電源に接続され、相互に結線された第1相ヒータエレメントと第2相ヒータエレメントと第3相ヒータエレメントとを有する第6電気ヒータと、備え、
前記第1特定スイッチは、1つのスイッチにより構成され、
前記第1特定スイッチは、前記三相交流電源と前記第1電気ヒータの第3相ヒータエレメント及び前記第4電気ヒータの第3相ヒータエレメントとが接続又は切断され、前記三相交流電源と前記第2電気ヒータの第1相ヒータエレメント及び前記第5電気ヒータの第1相ヒータエレメントとが接続又は切断され、前記三相交流電源と前記第3電気ヒータの第2相ヒータエレメント及び前記第6電気ヒータの第2相ヒータエレメントとが接続又は切断されるように、オン又はオフされ、
前記スイッチユニットは、
前記三相交流電源と前記第1電気ヒータの第2相ヒータエレメント及び前記第4電気ヒータの第2相ヒータエレメントとが接続又は切断され、前記三相交流電源と前記第2電気ヒータの第3相ヒータエレメント及び前記第5電気ヒータの第3相ヒータエレメントとが接続又は切断され、前記三相交流電源と前記第3電気ヒータの第1相ヒータエレメント及び前記第6電気ヒータの第1相ヒータエレメントとが接続又は切断されるように、オン又はオフされる1つの第2特定スイッチと、
前記三相交流電源と前記第1電気ヒータの第1相ヒータエレメント及び前記第4電気ヒータの第1相ヒータエレメントとが接続又は切断され、前記三相交流電源と前記第2電気ヒータの第2相ヒータエレメント及び前記第5電気ヒータの第2相ヒータエレメントとが接続又は切断され、前記三相交流電源と前記第3電気ヒータの第3相ヒータエレメント及び前記第6電気ヒータの第3相ヒータエレメントとが接続又は切断されるように、オン又はオフされる1つの第3特定スイッチと、を含み、
前記コントローラは、前記第1電気ヒータ、前記第2電気ヒータ、前記第3電気ヒータ、前記第4電気ヒータ、前記第5電気ヒータ、及び前記第6電気ヒータを第1出力で運転させるときに前記第1特定スイッチ、前記第2特定スイッチ、及び前記第3特定スイッチをオンし、前記第1出力よりも低い第2出力で運転させるときに前記第1特定スイッチをオフし前記第2特定スイッチ及び前記第3特定スイッチをオンし、運転停止させるときに前記第1特定スイッチ、前記第2特定スイッチ、及び前記第3特定スイッチをオフする、
請求項1に記載のヒータ装置。
【請求項8】
複数の水管と、
複数の前記水管のそれぞれの下端部に連通する下部管寄せと、
複数の前記水管のそれぞれの上端部に連通する上部部管寄せと、
請求項1に記載のヒータ装置と、を備え、
第1の水管に第1電気ヒータが配置され、
第2の水管に第2電気ヒータが配置され、
第3の水管に第3電気ヒータが配置される、
貫流ボイラ。
発明の詳細な説明
【技術分野】
【0001】
本明細書で開示する技術は、ヒータ装置及び貫流ボイラに関する。
続きを表示(約 2,200 文字)
【背景技術】
【0002】
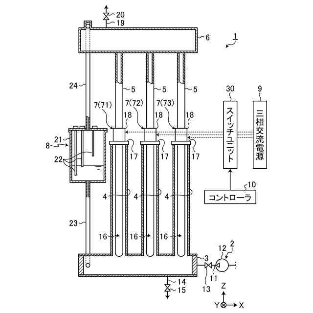
ボイラに係る技術分野において、特許文献1に開示されているような電気ボイラが知られている。特許文献1に開示されている電気ボイラは、複数の水管のそれぞれに電気ヒータが配置される貫流ボイラである。
【先行技術文献】
【特許文献】
【0003】
特開2010-169356号公報
【発明の概要】
【発明が解決しようとする課題】
【0004】
複数の水管のそれぞれに電気ヒータが配置される貫流ボイラの負荷率を多位置化する場合、全ての電気ヒータを駆動させた状態で発熱量を変化させる必要がある。電気ヒータがオンオフ制御される場合、全ての電気ヒータを駆動させた状態で発熱量を変化させることができないため、貫流ボイラの負荷率を多位置化することが困難である。
【0005】
また、電気ヒータが3つのヒータエレメントを有する三相ヒータである場合、3つのヒータエレメントは、相互にスター結線又はデルタ結線される。三相交流電源から三相ヒータに三相の交流電力が供給されることにより、三相ヒータの出力は100%になる。三相交流電源から三相ヒータに単相の交流電力が供給されることにより、三相ヒータの出力は低減される。すなわち、三相ヒータに供給される交流電力が三相又は単相に切り換えられることにより、貫流ボイラの負荷率が多位置化される。しかし、三相交流電源から三相ヒータに単相の交流電力を供給する場合、特定の相のヒータエレメントに負荷か偏る不平衡負荷となるため、内線規程のような規格に反する可能性がある。
【0006】
本明細書で開示する技術は、不平衡負荷にならないように貫流ボイラの負荷率を多位置化することを目的とする。
【課題を解決するための手段】
【0007】
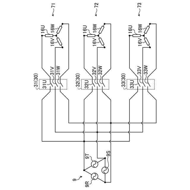
本明細書は、ヒータ装置を開示する。ヒータ装置は、三相交流電源に接続され、相互に結線された第1相ヒータエレメントと第2相ヒータエレメントと第3相ヒータエレメントとを有する第1電気ヒータと、三相交流電源に接続され、相互に結線された第1相ヒータエレメントと第2相ヒータエレメントと第3相ヒータエレメントとを有する第2電気ヒータと、三相交流電源に接続され、相互に結線された第1相ヒータエレメントと第2相ヒータエレメントと第3相ヒータエレメントとを有する第3電気ヒータと、三相交流電源から第1電気ヒータ、第2電気ヒータ、及び第3電気ヒータへの交流電力の供給状態を切り換えるスイッチユニットと、コントローラと、を備える。スイッチユニットは、三相交流電源と第1電気ヒータの第3相ヒータエレメントとが接続又は切断され、三相交流電源と第2電気ヒータの第1相ヒータエレメントとが接続又は切断され、三相交流電源と第3電気ヒータの第2相ヒータエレメントとが接続又は切断されるように、オン又はオフされる第1特定スイッチを含む。コントローラは、第1電気ヒータ、第2電気ヒータ、及び第3電気ヒータを第1出力で運転させるときに第1特定スイッチをオンし、第1出力よりも低い第2出力で運転させるときに第1特定スイッチをオフする。
【発明の効果】
【0008】
本明細書で開示する技術によれば、不平衡負荷にならないように貫流ボイラの負荷率を多位置化することができる。
【図面の簡単な説明】
【0009】
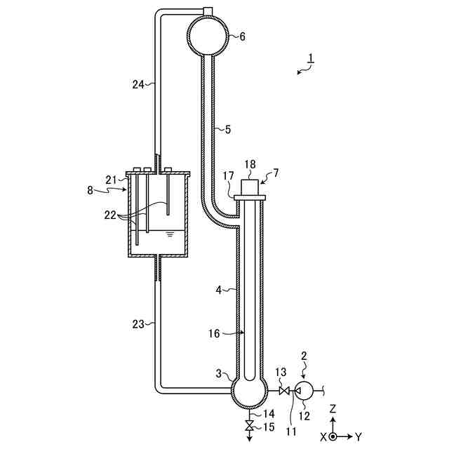
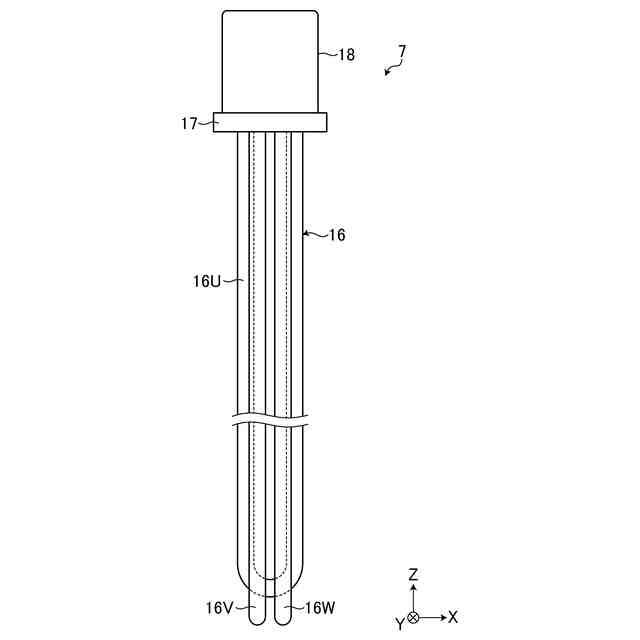
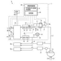
図1は、第1実施形態に係る貫流ボイラを模式的に示す正面図である。
図2は、第1実施形態に係る貫流ボイラを模式的に示す側面図である。
図3は、第1実施形態に係る電気ヒータを示す側面図である。
図4は、第1実施形態に係る電気ヒータを示す底面図である。
図5は、第1実施形態に係るヒータエレメントの結線例を示す図である。
図6は、第1実施形態に係るヒータエレメントの結線例を示す図である。
図7は、第1実施形態に係る三相交流電源とスイッチユニットと電気ヒータとを示す結線図である。
図8は、第1実施形態に係る電気ヒータの動作を説明する図である。
図9は、第1実施形態に係る電気ヒータの動作を説明する図である。
図10は、第1実施形態に係る電気ヒータの動作を説明する図である。
図11は、第2実施形態に係る第1電気ヒータの動作を説明する図である。
図12は、第3実施形態に係る第1電気ヒータの動作を説明する図である。
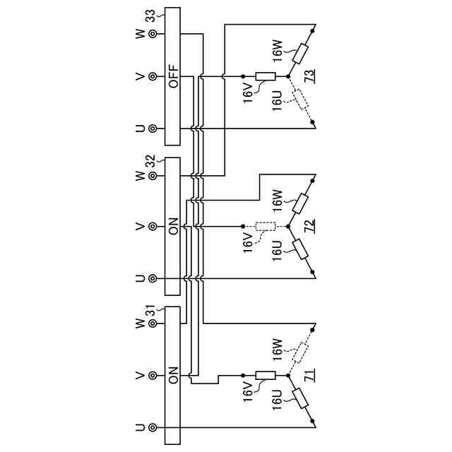
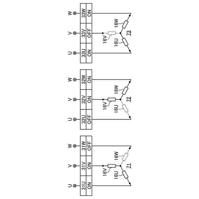
図13は、第4実施形態に係る電気ヒータの動作を説明する図である。
図14は、第5実施形態に係る電気ヒータの動作を説明する図である。
図15は、第6実施形態に係る電気ヒータの動作を説明する図である。
図16は、第7実施形態に係る電気ヒータの動作を説明する図である。
図17は、第8実施形態に係る電気ヒータの動作を説明する図である。
【発明を実施するための形態】
【0010】
以下、実施形態について図面を参照しながら説明するが、本明細書で開示する技術は、実施形態に限定されない。以下で説明する実施形態の構成要素は適宜組み合わせることができる。また、一部の構成要素を用いない場合もある。
(【0011】以降は省略されています)
この特許をJ-PlatPat(特許庁公式サイト)で参照する
関連特許
三浦工業株式会社
撹拌装置
4日前
三浦工業株式会社
燃焼装置
23日前
三浦工業株式会社
貫流ボイラ
14日前
三浦工業株式会社
ガス化装置
17日前
三浦工業株式会社
流体殺菌装置
3日前
三浦工業株式会社
燃焼システム
21日前
三浦工業株式会社
洗浄システム
1か月前
三浦工業株式会社
汚泥減容方法
29日前
三浦工業株式会社
台数制御装置
28日前
三浦工業株式会社
劣化検出装置
28日前
三浦工業株式会社
水素燃焼ボイラ
1か月前
三浦工業株式会社
二重管接続構造
22日前
三浦工業株式会社
ウエスコポンプ
21日前
三浦工業株式会社
汚泥乾燥加熱釜
9日前
三浦工業株式会社
水蒸気発生装置
21日前
三浦工業株式会社
汚泥減容システム
21日前
三浦工業株式会社
熱媒供給システム
1か月前
三浦工業株式会社
水素貯蔵供給装置
17日前
三浦工業株式会社
船舶用発電システム
28日前
三浦工業株式会社
精製水供給システム
9日前
三浦工業株式会社
コンピュータプログラム
10日前
三浦工業株式会社
固液分離器及び濾過方法
2か月前
三浦工業株式会社
ヒータ装置及び貫流ボイラ
1か月前
三浦工業株式会社
ダイオキシン類の分画方法
2か月前
三浦工業株式会社
燃焼装置、アンモニア評価方法
14日前
東京瓦斯株式会社
電力供給システム
21日前
メタウォーター株式会社
焼却システム及び燃焼制御方法
1か月前
メタウォーター株式会社
焼却システム及び熱媒供給制御方法
1か月前
国立大学法人九州大学
水電解装置、水素製造システム及び水電解方法
2か月前
個人
電子部品の実装方法
1か月前
日本精機株式会社
回路基板
1か月前
愛知電機株式会社
装柱金具
22日前
個人
非衝突型ガウス加速器
2か月前
個人
電気式バーナー
14日前
日本放送協会
基板固定装置
1か月前
アイホン株式会社
電気機器
1か月前
続きを見る
他の特許を見る