TOP
|
特許
|
意匠
|
商標
特許ウォッチ
Twitter
他の特許を見る
10個以上の画像は省略されています。
公開番号
2025164480
公報種別
公開特許公報(A)
公開日
2025-10-30
出願番号
2024068485
出願日
2024-04-19
発明の名称
流体除菌装置
出願人
スタンレー電気株式会社
代理人
個人
,
個人
主分類
C02F
1/32 20230101AFI20251023BHJP(水,廃水,下水または汚泥の処理)
要約
【課題】光源側において空気及び流体の滞留が生じることを防止した流体除菌装置を提供する。
【解決手段】外側管と、外側管に保持され、流体の流路を画定し、中心軸に垂直な断面が円形の流路管と、流路管の軸方向に垂直に設けられた円板状の透光板及び透光板を収容する光源カバーを有し、透光板を介して紫外光を流体の流路に向けて照射する光源モジュールと、光源モジュールの背面部を保持し、光源モジュールを囲んで光源モジュールとの間に流路が形成される空間を提供する中空部、及び中空部と連通した流出口を有する流出口部材と、を備える。光源カバーは、透光板の周囲を覆い、軸方向に垂直な円環状前面と、円環状前面の内周部から外周部にわたって円環状前面の一部である円環部分を覆う幅を有して円環状前面上に設けられた複数の突起部を有し、流出口部材及び外側管は、光源モジュールを軸方向の前方に押圧して複数の突起部を流路管の端面に当接させる。
【選択図】図2A
特許請求の範囲
【請求項1】
外側管と、
前記外側管に保持され、流体の流路を画定し、中心軸に垂直な断面が円形の流路管と、
前記流路管の軸方向に垂直に設けられた円板状の透光板及び前記透光板を収容する光源カバーを有し、前記透光板を介して紫外光を前記流体の流路に向けて照射する光源モジュールと、
前記光源モジュールの背面部を保持するとともに、前記光源モジュールを囲んで前記光源モジュールとの間に流路が形成される空間を提供する中空部、及び、前記中空部と連通した流出口を有する流出口部材と、を備え、
前記光源カバーは、前記透光板の周囲を覆い、前記軸方向に垂直な円環状前面と、前記円環状前面の内周部から外周部にわたって前記円環状前面の一部である円環部分を覆う幅を有して前記円環状前面上に設けられた複数の突起部を有し、
前記流出口部材及び前記外側管は、前記光源モジュールを前記軸方向の前方に押圧して前記複数の突起部を前記流路管の端面に当接させるように構成されている、
流体除菌装置。
続きを表示(約 900 文字)
【請求項2】
前記透光板の前面は平坦面であり、
前記光源カバーの前記円環状前面は、前記透光板の前記前面と同一面をなす平坦面であるか、又は、前記透光板の前記前面よりも前記光源モジュールの背面方向に後退した平坦面である請求項1に記載の流体除菌装置。
【請求項3】
前記複数の突起部は同一の形状及びサイズを有する請求項1に記載の流体除菌装置。
【請求項4】
前記複数の突起部は、前記円環状前面の中心に関して回転対称位置に設けられている請求項1に記載の流体除菌装置。
【請求項5】
前記突起部は、前記流路管の端面に当接される平坦な頂面を有する請求項1に記載の流体除菌装置。
【請求項6】
前記突起部の前記頂面は、前記突起部の一方の側面から前記一方の側面に対向する他方の側面に至る帯状であって、前記円環状前面の中心を中心とする円弧に沿った平坦面である請求項1ないし5のいずれか一項に記載の流体除菌装置。
【請求項7】
前記流出口部材及び前記外側管は、互いに螺合して前記光源モジュールを前記軸方向の前方に押圧するねじ締め部を有する請求項1に記載の流体除菌装置。
【請求項8】
前記透光板の前面は平坦面であり、
前記光源カバーの前記円環状前面は、前記透光板の前面に平行な円環状の平坦な内周面と、前記内周面の外周端から後方に傾斜した外周面と、を有する請求項1に記載の流体除菌装置。
【請求項9】
前記透光板の前面は平坦面であり、
前記光源カバーの前記円環状前面は、前記透光板の前面に平行な円環状の平坦な内周面と、前記内周面の外周端から前記光源モジュールの背面方向に後退した段差と、前記段差の下端に接続された円環状の外周面と、を有する請求項1に記載の流体除菌装置。
【請求項10】
前記突起部は、前記突起部の内周部から外周部に延在する間隙によって互いに離間して配された一対の突起片からなる請求項1に記載の流体除菌装置。
(【請求項11】以降は省略されています)
発明の詳細な説明
【技術分野】
【0001】
本発明は、水等の流体を紫外光で除菌する流体除菌装置に関する。
続きを表示(約 1,900 文字)
【背景技術】
【0002】
除菌対象の液体を管内に流しつつ、管内を流れる液体に対して管の軸方向に向かって紫外光を照射して、当該液体を除菌する流体除菌装置が知られている。
【0003】
例えば、特許文献1には、殺菌対象の水を用いて効率的に光源を冷却してLEDの温度上昇を抑制し、光源の出力効率低下を抑制する流体殺菌装置について記載されている。当該装置においては、光源の周囲に通水用の複数の孔部が設けられ、流体が光源周辺を通過する際に光源が冷却される。
【0004】
また、特許文献2には、光源の温度上昇を抑えると共に、紫外線の照射効率を高めることができる流体殺菌装置について記載されている。当該装置においては、第1の流路管と、流体を第1の流路から戻る方向へ流すための第2の流路管と、光源の周囲に沿って配された複数の連通孔部と、が設けられている。流体は、第1及び第2の流路管を支持するフランジの流路を経て流れる。
【先行技術文献】
【特許文献】
【0005】
特開2018-008213号公報
特開2018-140001号公報
【発明の概要】
【発明が解決しようとする課題】
【0006】
しかしながら、例えば、特許文献1及び特許文献2に記載のような流体殺菌装置においては、流路が小さく、光源部に空気溜まりが発生しやすく、殺菌効率の低下を招来する。また、圧力損失が大きいため、大流量の水を流す際に必要なポンプの出力が大きくなるという問題がある。また、特許文献2に記載の流体殺菌装置においては、流路がフランジによって狭められ、光源部に空気及び流体の滞留が発生しやすいという問題がある。
【0007】
本発明は、上記した課題に鑑みてなされたものであり、光源側において空気及び流体の滞留が生じることを防止した流体除菌装置を提供することを目的としている。
【課題を解決するための手段】
【0008】
本発明の流体除菌装置は、
外側管と、
前記外側管に保持され、流体の流路を画定し、中心軸に垂直な断面が円形の流路管と、
前記流路管の軸方向に垂直に設けられた円板状の透光板及び前記透光板を収容する光源カバーを有し、前記透光板を介して紫外光を前記流体の流路に向けて照射する光源モジュールと、
前記光源モジュールの背面部を保持するとともに、前記光源モジュールを囲んで前記光源モジュールとの間に流路が形成される空間を提供する中空部、及び、前記中空部と連通した流出口を有する流出口部材と、を備え、
前記光源カバーは、前記透光板の周囲を覆い、前記軸方向に垂直な円環状前面と、前記円環状前面の内周部から外周部にわたって前記円環状前面の一部である円環部分を覆う幅を有して前記円環状前面上に設けられた複数の突起部を有し、
前記流出口部材及び前記外側管は、前記光源モジュールを前記軸方向の前方に押圧して前記複数の突起部を前記流路管の端面に当接させるように構成されている。
【図面の簡単な説明】
【0009】
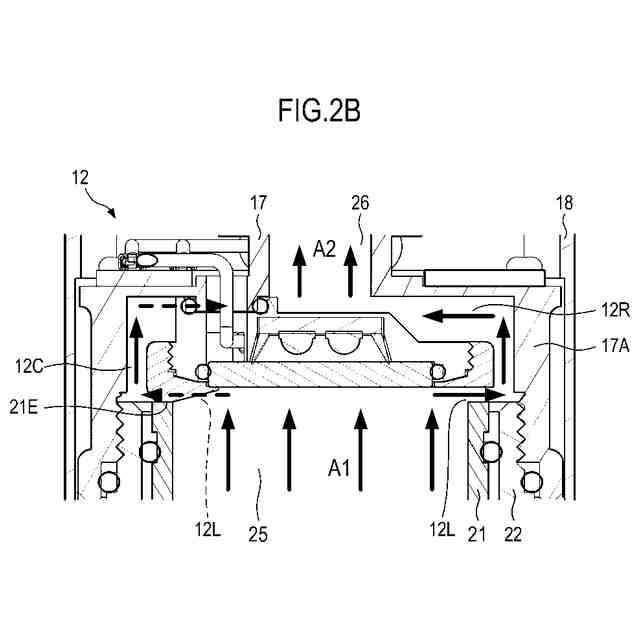
第1の実施形態の流体除菌装置の中心軸を通る断面を示す断面図である。
図1に示す光源部及びその周囲の領域を拡大して示す断面図である。
領域Wにおける流体A1のフローを模式的に示す断面図である。
光源モジュールの斜視図である。
光源モジュールを側方方向から見た場合の側方視による図である。
光源カバーが、カバー本体部に対して着脱可能な複数の突起部を有する場合を示す図である。
本実施形態の改変例1の光源モジュールを模式的に示す斜視図である。
本実施形態の改変例2の光源モジュールを模式的に示す斜視図である。
本実施形態の改変例3の光源モジュールを模式的に示す斜視図である。
本実施形態の改変例4の光源モジュールを模式的に示す側方視による図である。
本実施形態の改変例5の光源モジュールを模式的に示す側方視による図である。
【発明を実施するための形態】
【0010】
以下においては、本発明の好適な実施形態について説明するが、これらを適宜改変し、組合せてもよい。また、以下の説明及び添付図面において、実質的に同一又は等価な部分には同一の参照符を付して説明する。
(【0011】以降は省略されています)
この特許をJ-PlatPat(特許庁公式サイト)で参照する
関連特許
株式会社げんき
液体活性化装置
1か月前
新・産業洗浄株式会社
曝気装置
11日前
スタンレー電気株式会社
流体除菌装置
5日前
オルガノ株式会社
UV照射装置
1か月前
有限会社フリーウェー
浄水装置
1か月前
ダイハツ工業株式会社
有機物の分解処理装置
今日
ジヤトコ株式会社
排水回収システム
19日前
大成建設株式会社
中和処理システムと中和処理方法
11日前
個人
海水の塩分除去装置と淡水製造方法
20日前
株式会社ジェイテクト
発酵装置
5日前
栗田工業株式会社
水処理拠点の状況診断支援システム
4日前
株式会社クボタ
有機性廃棄物の処理方法
11日前
竹鶴油業株式会社
残渣処理プラント及び成形物の製造方法
1か月前
株式会社医道メディカル
水素及び水素溶解エクソソーム液発生装置
1か月前
三菱化工機株式会社
電界ろ過装置及び電界ろ過装置のろ材の製造方法
27日前
水ing株式会社
廃水処理装置および廃水処理方法
今日
株式会社大林組
汚泥処理施設及び汚泥処理方法
11日前
東ソー株式会社
ニッケルと錯生成能力を持つ化合物を含有する水溶液の浄化方法
6日前
オルガノ株式会社
電気式脱イオン水製造システム及びその運用方法
11日前
株式会社クボタ
浄水処理方法および原水評価方法
11日前
WOTA株式会社
貯留槽及び水処理システム
4日前
キヤノン株式会社
液体中に溶存するガスの回収システム
1か月前
栗田工業株式会社
フッ化物イオン及びカチオン含有水の処理方法及び装置
6日前
株式会社タカギ
浄水カートリッジ
11日前
荏原実業株式会社
防臭システム、防臭装置及び防臭方法
1か月前
株式会社パーカーコーポレーション
循環水処理用水溶液
11日前
株式会社ササクラ
被処理液の膜処理方法および装置
19日前
メタウォーター株式会社
消化システム及び加熱制御方法
1か月前
メタウォーター株式会社
消化システム及び加熱制御方法
1か月前
メタウォーター株式会社
消化システム及び加熱制御方法
1か月前
メタウォーター株式会社
消化システム及び加熱制御方法
1か月前
株式会社東芝
スカム発生抑制システム及びスカム発生抑制方法
1か月前
オルガノ株式会社
水処理システム
19日前
メタウォーター株式会社
消化システム及び加熱制御方法
1か月前
メタウォーター株式会社
消化システム及び配管設置方法
1か月前
三菱ケミカルアクア・ソリューションズ株式会社
水処理方法および水処理装置
4日前
続きを見る
他の特許を見る