TOP
|
特許
|
意匠
|
商標
特許ウォッチ
Twitter
他の特許を見る
10個以上の画像は省略されています。
公開番号
2025150925
公報種別
公開特許公報(A)
公開日
2025-10-09
出願番号
2024052088
出願日
2024-03-27
発明の名称
水処理装置
出願人
パナソニックIPマネジメント株式会社
代理人
個人
,
個人
,
個人
主分類
C02F
1/469 20230101AFI20251002BHJP(水,廃水,下水または汚泥の処理)
要約
【課題】イオン交換樹脂を用いなくても、硬水から金属イオンを効率的に除去する水処理装置を提供する。
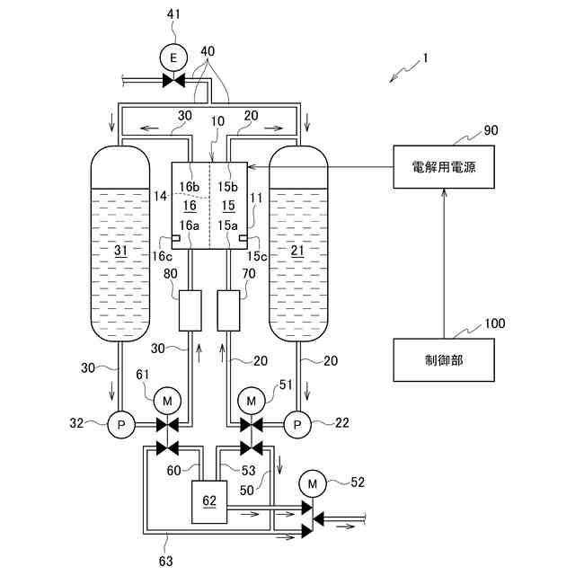
【解決手段】被処理水から金属イオンを除去して、処理水を生成する水処理装置1であって、水処理装置は、陽極12を備える陽極室15と、陰極13を備える陰極室16と、陽極室と陰極室とを仕切り、イオンを透過可能な膜14とを備え、電気分解により被処理水から酸性水とアルカリ性水とを生成する電解槽10を備える。水処理装置は、さらに、陽極と陰極との間の電圧又は電流を制御する制御部100を備える。陽極室は酸性水が流通し、陰極室はアルカリ性水が流通し、制御部は、数式1を満たすように、陽極室内の酸性水の流速及び陰極室内のアルカリ性水の流速を制御する。
<com:Image com:imageContentCategory="Drawing"> <com:ImageFormatCategory>TIFF</com:ImageFormatCategory> <com:FileName>2025150925000031.tif</com:FileName> <com:HeightMeasure com:measureUnitCode="Mm">40</com:HeightMeasure> <com:WidthMeasure com:measureUnitCode="Mm">161</com:WidthMeasure> </com:Image>
【選択図】図1
特許請求の範囲
【請求項1】
被処理水から金属イオンを除去して、処理水を生成する水処理装置であって、
陽極を備える陽極室と、陰極を備える陰極室と、前記陽極室と前記陰極室とを仕切り、イオンを透過可能な膜とを備え、電気分解により前記被処理水から酸性水とアルカリ性水とを生成する電解槽と、
前記陽極と前記陰極との間の電圧又は電流を制御する制御部と、
を備え、
前記陽極室は前記酸性水が流通し、前記陰極室は前記アルカリ性水が流通し、
前記制御部は、数式1を満たすように、前記陽極室内の前記酸性水の流速及び前記陰極室内の前記アルカリ性水の流速を制御する、水処理装置。
TIFF
2025150925000030.tif
40
161
続きを表示(約 520 文字)
【請求項2】
前記陽極室を流通する酸性水のpH及び前記陰極室を流通するアルカリ性水のpHの少なくとも一方を測定するpH測定部をさらに含む、請求項1に記載の水処理装置。
【請求項3】
前記制御部は、前記pH測定部で測定したアルカリ性水のpHを基に、前記陽極室内の前記酸性水の流速を制御する、請求項2に記載の水処理装置。
【請求項4】
前記陰極室中の前記アルカリ性水のpHは8.2以上である、請求項1又は2に記載の水処理装置。
【請求項5】
前記制御部は、前記陽極と前記陰極との間の電圧及び電流の少なくとも一方を変化させる、請求項1又は2に記載の水処理装置。
【請求項6】
前記陽極室を流通する水の導電率及び前記陰極室を流通する水の導電率が30~8000μS/cmであるときに、前記制御部は、前記陽極と前記陰極との間に印加する電圧を変化させる、請求項5に記載の水処理装置。
【請求項7】
前記制御部は、前記陽極と前記陰極との間に印加する電圧又は電流を変化させることにより、定電流制御及び定電圧制御の一方から他方に切り替える、請求項1又は2に記載の水処理装置。
発明の詳細な説明
【技術分野】
【0001】
本発明は、水処理装置に関する。
続きを表示(約 2,200 文字)
【背景技術】
【0002】
従来より、硬水中の金属イオンを除去するためのイオン交換樹脂軟水器が知られている(例えば、特許文献1参照)。
【0003】
特許文献1のイオン交換樹脂軟水器は、硬水中の金属イオン(カルシウムイオンおよびマグネシウムイオン)をイオン交換樹脂により除去するものである。具体的には、ナトリウムイオンを表面に付着させたイオン交換樹脂を備える軟水器容器に硬水を流すことにより、硬水中の金属イオンをナトリウムイオンと置換し、硬水中から金属イオンを除去する。なお、硬水中に存在していた金属イオンは、イオン交換樹脂の表面に捕捉される。このようにして、硬水の硬度を低下させて軟水を生成する。
【先行技術文献】
【特許文献】
【0004】
特開2000-140840号公報
【発明の概要】
【発明が解決しようとする課題】
【0005】
しかしながら、特許文献1のイオン交換樹脂軟水器では、金属イオンを捕捉したイオン交換樹脂を再生する際に大量の塩水が必要であり、メンテナンスに手間が掛かるという問題がある。また再生処理を行うと、大量の塩水を含む再生排水が生じ、土壌汚染や下水処理の負荷が増大するという問題もある。さらに、イオン交換樹脂軟水器によって軟水化された処理水はナトリウムイオンの濃度が高く、地域によっては飲用水として推奨されない場合がある。このように、イオン交換樹脂を用いた水処理装置では、メンテナンス性および環境性という観点で改善の余地があった。
【0006】
本発明は、このような従来技術が有する課題に鑑みてなされたものである。そして、本発明の目的は、イオン交換樹脂を用いなくても、硬水から金属イオンを効率的に除去することが可能な水処理装置を提供することにある。
【課題を解決するための手段】
【0007】
上記課題を解決するために、本発明の態様に係る水処理装置は、被処理水から金属イオンを除去して、処理水を生成する水処理装置であって、陽極を備える陽極室と、陰極を備える陰極室と、前記陽極室と前記陰極室とを仕切り、イオンを透過可能な膜とを備え、電気分解により前記被処理水から酸性水とアルカリ性水とを生成する電解槽と、前記陽極と前記陰極との間の電圧又は電流を制御する制御部と、を備え、前記陽極室は前記酸性水が流通し、前記陰極室は前記アルカリ性水が流通し、前記制御部は、数式1を満たすように、前記陽極室内の前記酸性水の流速及び前記陰極室内の前記アルカリ性水の流速を制御する、水処理装置。
TIFF
2025150925000002.tif
39
161
【発明の効果】
【0008】
本開示によれば、イオン交換樹脂を用いなくても、硬水から金属イオンを効率的に除去することが可能な水処理装置を提供することができる。
【図面の簡単な説明】
【0009】
本実施形態に係る水処理装置の構成の一例を示す概略図である。
本実施形態に係る水処理装置の電解槽において、金属イオンの移動及び不溶化の状態を示す概略図である。
本実施形態に係る水処理装置の電解槽において、水素イオンの移動及び中和の状態を示す概略図である。
水に炭酸イオンが溶解している場合における、炭酸(H
2
CO
3
)、炭酸水素イオン(HCO
3
-
)及び炭酸イオン(CO
3
2-
)の存在比と、pHとの関係を示すグラフである。
本実施形態に係る水処理装置における電解制御を説明するための表である。
定電流制御のみを行った場合、定電圧制御のみを行った場合、電解制御を行った場合における、被処理水の導電率と、金属イオンのイオン移動率及び不溶化率並びに軟水化率との関係を概略的に示すグラフである。
定電圧制御のみ、定電流制御のみ及び電解制御を行った際の、被処理水の導電率と消費電力との関係の一例を示すグラフである。
本実施形態に係る水処理装置の電解槽において、水素イオンの移動を示す概略図である。
陰極室のアルカリ性水のpH変化(縦軸)及び電極間の電気量(横軸)と、H
+
が膜を超える割合との関係を、理論モデルを用いて計算した結果を示すグラフである。
式(19)より導き出される、陰極室の水のpH変化(縦軸)と電極間の電気量(横軸)との関係を示すグラフである。
水処理装置において、陽極室中の酸性水の流量を4.6L/min又は14L/minとした場合における、陰極室中のアルカリ性水のpHを測定した結果の一例を示すグラフである。
pH測定部で測定したアルカリ性水のpHを基に、陽極室内の酸性水の流速を制御する方法の一例を示すフローチャートである。
被処理水の陰極室内でのpH(アルカリ側pH)と時間との関係の一例を示すグラフである。
【発明を実施するための形態】
【0010】
以下、図面を用いて本実施形態に係る水処理装置について詳細に説明する。なお、図面の寸法比率は説明の都合上誇張されており、実際の比率と異なる場合がある。
(【0011】以降は省略されています)
この特許をJ-PlatPat(特許庁公式サイト)で参照する
関連特許
株式会社げんき
液体活性化装置
5日前
株式会社ウィズアクア
水質浄化装置
26日前
三浦工業株式会社
汚泥乾燥加熱釜
18日前
株式会社ライトアース
水循環式水質浄化システム
12日前
スタンレー電気株式会社
流体除菌装置
10日前
栗田工業株式会社
電気イオン濃縮装置
16日前
三浦工業株式会社
精製水供給システム
18日前
名古屋メッキ工業株式会社
溶存金属析出装置
16日前
栗田工業株式会社
逆浸透膜装置の運転方法
5日前
栗田工業株式会社
超純水製造装置の制御方法
26日前
オルガノ株式会社
UV照射装置
4日前
株式会社神鋼環境ソリューション
貯留槽
1か月前
栗田工業株式会社
電気脱イオン装置の運転方法
17日前
有限会社フリーウェー
浄水装置
4日前
WOTA株式会社
液性判定システム及び液性判定方法
16日前
パナソニックIPマネジメント株式会社
軟水化装置
1か月前
パナソニックIPマネジメント株式会社
軟水化装置
1か月前
パナソニックIPマネジメント株式会社
電解水生成装置
1か月前
三浦工業株式会社
汚泥減容システム
1か月前
株式会社ヘルスカンパニー
浴用剤の使用方法
16日前
パナソニックIPマネジメント株式会社
水処理装置
1か月前
パナソニックIPマネジメント株式会社
水処理装置
1か月前
パナソニックIPマネジメント株式会社
水処理装置
1か月前
パナソニックIPマネジメント株式会社
水処理装置
1か月前
竹鶴油業株式会社
残渣処理プラント及び成形物の製造方法
4日前
有限会社エコルネサンス・エンテック
環境負荷の低減化を図る方法
25日前
株式会社医道メディカル
水素及び水素溶解エクソソーム液発生装置
3日前
王子ホールディングス株式会社
排水処理方法
13日前
株式会社セルマップ
油吸着用の吸着体、及び油吸着用の吸着体の製造方法
13日前
Daigasエナジー株式会社
廃液処理装置および運転方法
1か月前
栗田工業株式会社
水・蒸気サイクル中の有機系溶存物質の除去方法
11日前
オルガノ株式会社
水処理装置および水処理方法
1か月前
キヤノン株式会社
液体中に溶存するガスの回収システム
3日前
オルガノ株式会社
水処理装置および水処理方法
1か月前
公立大学法人 富山県立大学
アンモニア含有水の処理装置
24日前
荏原実業株式会社
防臭システム、防臭装置及び防臭方法
2日前
続きを見る
他の特許を見る