TOP
|
特許
|
意匠
|
商標
特許ウォッチ
Twitter
他の特許を見る
公開番号
2025167965
公報種別
公開特許公報(A)
公開日
2025-11-07
出願番号
2024073014
出願日
2024-04-26
発明の名称
防臭システム、防臭装置及び防臭方法
出願人
荏原実業株式会社
代理人
弁理士法人谷・阿部特許事務所
主分類
C02F
1/00 20230101AFI20251030BHJP(水,廃水,下水または汚泥の処理)
要約
【課題】防臭に係るコストを低減し、また、槽内から臭気が漏れているか否かを確実に判断することができる防臭システムを提供する。
【解決手段】被処理水が収容される容器21と、容器21の内部の気体を吸気する脱臭ファン31と、容器の内部の気体の状態を示す風向検出信号Sdを検出する風向計23と、気体情報に基づいて、脱臭ファン31の吸気量を変更する吸気制御部30と、によって防臭システムを構成する。防臭システムは、風向計23に代えて、風速計53や圧力計73を用いてもよい。
【選択図】図2
特許請求の範囲
【請求項1】
被処理水が収容される容器と、
前記容器の内部の気体を吸気する吸気ファンと、
前記容器の内部の気体の状態を示す気体情報を検出する気体状態検出部と、
前記気体情報に基づいて、前記吸気ファンの吸気量を変更する吸気制御部と、を含む、
防臭システム。
続きを表示(約 530 文字)
【請求項2】
被処理水を収容する容器の内部の気体の状態を示す気体情報を検出する気体状態検出部と、
前記気体情報に基づいて、前記容器の内部の気体を吸気する吸気ファンの吸気量を変更する吸気制御部と、を含む、
防臭装置。
【請求項3】
前記気体状態検出部は、前記容器と前記容器の外部との間を流通する気体の向きを検出する風向計である、請求項2に記載の防臭装置。
【請求項4】
前記気体状態検出部は、前記容器と前記容器の外部との間を流通する気体の速度を検出する風速計である、請求項2に記載の防臭装置。
【請求項5】
前記気体状態検出部は、前記容器内の圧力を検出する圧力計である、請求項2に記載の防臭装置。
【請求項6】
前記吸気制御部は、前記気体情報に基づいて、前記容器と前記吸気ファンとの間のダンパの開度を制御する、請求項2に記載の防臭装置。
【請求項7】
被処理水を収容する容器の内部の気体の状態を示す気体情報を検出する工程と、
前記気体情報に基づいて、前記容器の内部の気体を吸気する吸気ファンの吸気量を変更する工程と、を含む、
防臭方法。
発明の詳細な説明
【技術分野】
【0001】
本発明は、汚水や雨水を処理する施設において、臭気が外部に拡散することを防ぐ防臭システム、防臭装置及び防臭方法に関する。
続きを表示(約 1,600 文字)
【背景技術】
【0002】
生活若しくは耕作を除く事業に起因し、もしくは付随する廃水(以下、「汚水」と記す)は、汚水管、または雨水と共に下水管に流れ込み、例えば下水処理場に到達する。汚水は、下水処理場において浄化処理され、処理水として河川や海に放流される。下水処理場は、下水を沈殿させてゴミ等を取り除く沈殿池と、汚水を空気に曝し(曝気)、空気を供給することにより、微生物による汚染物の分解を促すエアレーションタンクと、を有している。エアレーションタンク、あるいは沈殿槽等が発生する臭気はダクトを介して脱臭ファンにより吸気され、必要に応じて脱臭装置に導かれる等の処理がされる。
【0003】
下水処理場において臭気を制御する公知技術は、例えば、特許文献1に記載されている。特許文献1に記載の脱臭制御システムは、臭気の発生源が置かれた建物内に臭気センサを設け、臭気センサによって検出された臭気の濃度と種類とによって外部の空気を建物内部へ吸気する、または建物内部の空気を脱臭装置に導いた後に廃棄するように制御する。また、引用文献1には、建物内の空気の流れをダクトに設けられたダンパの開閉によって行うことが記載されている。
【先行技術文献】
【特許文献】
【0004】
特開2013-17976号公報
【発明の概要】
【発明が解決しようとする課題】
【0005】
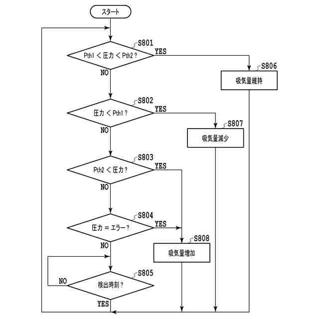
ところで、このような下水処理場では、エアレーションタンクから周囲に臭気が漏れることの対策として、脱臭ファンが常に曝気風量(空気の供給量)の最大量以上の風量でエアレーションタンクから吸気するように制御されている。一方、エアレーションタンク内の溶存酸素(Dissolved Oxygen: DO)は、微生物の状態に影響する因子であり、汚水の汚濁の程度や流れ込む水量によって変化する。曝気風量は、臭気を抑えることに必要な溶存酸素量を保つために増減される。このため、エアレーションタンクにおいては、過剰に吸気がされる状態が生じ得る。下水処理場に係る電力を抑え、低コスト化を図るには、脱臭ファンが過剰に吸気することを抑え、脱臭ファンに供給される電力を省力化することが好ましい。
【0006】
しかしながら、特許文献1に記載の脱臭制御システムは、臭気に応じて建物内に外気を取り込む、または脱臭装置を通して外部に開放するようにファンを制御しているから、ファンの省力化を図ることは考慮されていない。
【0007】
また、臭気を発生する施設は、汚水処理場に限らず、汚水処理場の外部で他の工場や堆肥等による臭気が発生している場合がある。このような場合、特許文献1の臭気制御システムは、外部から建物内部に吸気する際、または脱臭装置を介して外部に空気を排出する際、環境の臭気が下水処理場に起因するものか、他の要因によるものかを判断し難いという課題がある。
【0008】
本発明は、このような点に鑑みてなされたものであり、電力の省力化を図ることによって防臭に係るコストを低減し、また、槽内から臭気が漏れているか否かを確実に判断することができる防臭システム、防臭装置及び防臭方法に関する。
【課題を解決するための手段】
【0009】
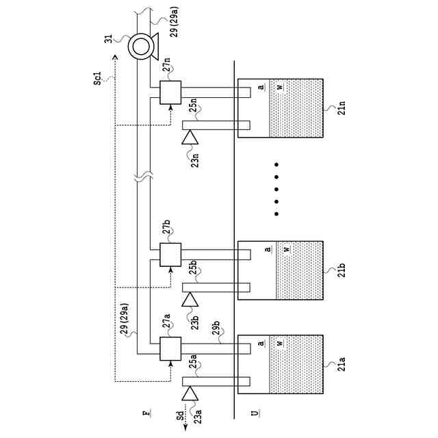
上記目的を達成するために本発明の一形態の防臭システムは、被処理水が収容される容器と、容器の内部の気体を吸気する吸気ファンと、容器の内部の気体の状態を示す気体情報を検出する気体状態検出部と、気体情報に基づいて、吸気ファンの吸気量を変更する吸気制御部と、を含む。
【0010】
本発明の一形態の防臭装置は、被処理水を収容する容器の内部の気体の状態を示す気体情報を検出する気体状態検出部と、気体情報に基づいて、容器の内部の気体を吸気する吸気ファンの吸気量を変更する吸気制御部と、を含む。
(【0011】以降は省略されています)
この特許をJ-PlatPat(特許庁公式サイト)で参照する
関連特許
荏原実業株式会社
着色度計測器
2か月前
荏原実業株式会社
空調装置及び空調システム
25日前
荏原実業株式会社
防臭システム、防臭装置及び防臭方法
22日前
株式会社げんき
液体活性化装置
25日前
新・産業洗浄株式会社
曝気装置
1日前
株式会社ウィズアクア
水質浄化装置
1か月前
三浦工業株式会社
汚泥乾燥加熱釜
1か月前
株式会社ライトアース
水循環式水質浄化システム
1か月前
名古屋メッキ工業株式会社
溶存金属析出装置
1か月前
栗田工業株式会社
電気イオン濃縮装置
1か月前
三浦工業株式会社
精製水供給システム
1か月前
スタンレー電気株式会社
流体除菌装置
1か月前
栗田工業株式会社
逆浸透膜装置の運転方法
25日前
栗田工業株式会社
超純水製造装置の制御方法
1か月前
オルガノ株式会社
UV照射装置
24日前
有限会社フリーウェー
浄水装置
24日前
栗田工業株式会社
電気脱イオン装置の運転方法
1か月前
株式会社神鋼環境ソリューション
貯留槽
1か月前
WOTA株式会社
液性判定システム及び液性判定方法
1か月前
ジヤトコ株式会社
排水回収システム
9日前
大成建設株式会社
中和処理システムと中和処理方法
1日前
個人
海水の塩分除去装置と淡水製造方法
10日前
株式会社ヘルスカンパニー
浴用剤の使用方法
1か月前
株式会社クボタ
有機性廃棄物の処理方法
1日前
竹鶴油業株式会社
残渣処理プラント及び成形物の製造方法
24日前
株式会社医道メディカル
水素及び水素溶解エクソソーム液発生装置
23日前
有限会社エコルネサンス・エンテック
環境負荷の低減化を図る方法
1か月前
三菱化工機株式会社
電界ろ過装置及び電界ろ過装置のろ材の製造方法
17日前
王子ホールディングス株式会社
排水処理方法
1か月前
株式会社セルマップ
油吸着用の吸着体、及び油吸着用の吸着体の製造方法
1か月前
栗田工業株式会社
水・蒸気サイクル中の有機系溶存物質の除去方法
1か月前
Daigasエナジー株式会社
廃液処理装置および運転方法
1か月前
株式会社大林組
汚泥処理施設及び汚泥処理方法
1日前
オルガノ株式会社
電気式脱イオン水製造システム及びその運用方法
1日前
キヤノン株式会社
液体中に溶存するガスの回収システム
23日前
株式会社クボタ
浄水処理方法および原水評価方法
1日前
続きを見る
他の特許を見る