TOP
|
特許
|
意匠
|
商標
特許ウォッチ
Twitter
他の特許を見る
公開番号
2025161045
公報種別
公開特許公報(A)
公開日
2025-10-24
出願番号
2024063908
出願日
2024-04-11
発明の名称
浴用剤の使用方法
出願人
株式会社ヘルスカンパニー
代理人
個人
,
個人
,
個人
,
個人
主分類
C02F
1/50 20230101AFI20251017BHJP(水,廃水,下水または汚泥の処理)
要約
【課題】塩素剤が使用された浴用水に対して、殺菌・消毒の効果を持続させつつ、浴用水の色調の変化を抑制することができる浴用剤の使用方法を提供すること。
【解決手段】浴用水Wは、循環式浴槽1内で循環されて使用され、塩素剤が添加されることによって、殺菌・消毒の効果が発揮される。浴用水Wに添加される浴用剤はタール色素とアンモニウム塩とを含有し、浴用剤が添加された浴用水Wは、タール色素によって彩色が施される。浴用水Wは、塩素剤の塩素と浴用剤に含有されるアンモニウム塩との存在により、結合塩素濃度が3~10mg/Lの範囲において、殺菌・消毒の効果を持続させつつ、色素の色調変化を抑制することができ、浴用水Wの色調の変化を抑制することができる。
【選択図】図1
特許請求の範囲
【請求項1】
浴槽の浴用水に添加される浴用剤の使用方法であって、
該浴槽は、該浴用水が循環されて使用される循環式浴槽であり、
該浴用剤は、タール色素とアンモニウム塩とを含有し、該浴用水に添加され、
該浴用水は、殺菌・消毒のための塩素剤が添加され、結合塩素濃度が3~10mg/Lである、
ことを特徴とする浴用剤の使用方法。
続きを表示(約 420 文字)
【請求項2】
前記タール色素は、赤色2号、赤色3号、赤色102号、赤色104号の(1)、赤色105号の(1)、赤色106号、黄色4号、黄色5号、緑色3号、青色1号、青色2号、だいだい色205号、黄色202号の(1)、緑色201号、緑色204号、青色205号から選択される1種又は2種以上であることを特徴とする請求項1に記載の浴用剤の使用方法。
【請求項3】
前記タール色素は、赤色2号、赤色102号、黄色4号、黄色5号、緑色3号、青色2号から選択される1種又は2種以上であることを特徴とする請求項1に記載の浴用剤の使用方法。
【請求項4】
前記アンモニウム塩が硫酸アンモニウム又は塩化アンモニウムであることを特徴とする請求項1に記載の浴用剤の使用方法。
【請求項5】
前記塩素剤が次亜塩素酸ナトリウム又はジクロロイソシアヌル酸ナトリウムであることを特徴とする請求項1に記載の浴用剤の使用方法。
発明の詳細な説明
【技術分野】
【0001】
本明細書の技術分野は、塩素剤が使用される浴用水に添加され、彩色を施す色素を含有する浴用剤の使用方法であって、塩素剤による殺菌・消毒の効果を持続させつつ、浴用水の色調の変化を抑制することができる浴用剤の使用方法に関する。
続きを表示(約 1,600 文字)
【背景技術】
【0002】
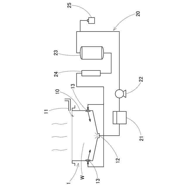
公衆浴場、スーパー銭湯及び温泉浴場などでは、循環式浴槽が使用され、循環式浴槽は、浴用水の使用量を少なくする目的で、浴用水が循環されて使用されている。循環されて使用される浴用水は、レジオネラ属菌(Legionella spp.)などの人体に悪影響を及ぼす細菌が繁殖することがあるため、殺菌・消毒を目的とした塩素剤の注入が行われる。このような公衆浴場、スーパー銭湯及び温泉浴場などでは浴用剤が使用され、浴用剤は、浴槽の浴用水に添加されることによって、浴用水に色素による彩色を施し、浴用水の色彩によって入浴者に精神的な安らぎを与え、入浴者の入浴効果を高める。ところが、浴用剤に含まれる色素は、塩素剤による塩素によって一部の色素が漂白され、浴用剤が添加された浴用水の色調が経時的に変化してしまうという問題点があった。これに対して、従来から、浴用水の色調の変化を抑制することができる浴用剤が知られ、特許文献1及び2には、浴用剤に塩素中和剤が配合されることによって、浴用水の色調の変化を抑制することができる浴用剤が記載されている。
【先行技術文献】
【特許文献】
【0003】
特公昭53-27770号公報
特公昭59-6283号公報
【発明の概要】
【発明が解決しようとする課題】
【0004】
しかし、塩素中和剤が配合された浴用剤が添加された浴用水は、浴用水の色調の変化を抑制することができるものの、殺菌・消毒を目的とした塩素剤による塩素を中和するため、浴用水の殺菌・消毒の効果が消失されてしまうという課題があった。
【0005】
本明細書の技術が解決しようとする課題は、上記の点に鑑みてなされたもので、塩素剤が使用される浴用水に対して、殺菌・消毒の効果を持続させつつ、浴用水の色調の変化を抑制することができる浴用剤の使用方法を提供すること、を目的とする。
【課題を解決するための手段】
【0006】
本明細書の実施形態に係る浴用剤の使用方法は、浴槽の浴用水に添加される浴用剤の使用方法であって、
該浴槽は、該浴用水が循環されて使用される循環式浴槽であり、
該浴用剤は、タール色素とアンモニウム塩とを含有し、該浴用水に添加され、
該浴用水は、殺菌・消毒のための塩素剤が添加され、結合塩素濃度が3~10mg/Lである、
ことを特徴とする。
【0007】
実施形態の浴用剤の使用方法によれば、浴用水は、循環式浴槽内で循環されて使用され、塩素剤が添加されることによって、殺菌・消毒の効果が発揮される。浴用水に添加される浴用剤はタール色素とアンモニウム塩とを含有し、浴用剤が添加された浴用水は、タール色素によって彩色が施される。浴用水は、塩素剤の塩素と浴用剤に含有されるアンモニウム塩との存在により、結合塩素濃度が3~10mg/Lの範囲において、殺菌・消毒の効果を持続させつつ、色素の色調変化を抑制することができ、浴用水の色調の変化を抑制することができる。
【0008】
ここで、上記浴用剤の使用方法において、前記タール色素は、赤色2号、赤色3号、赤色102号、赤色104号の(1)、赤色105号の(1)、赤色106号、黄色4号、黄色5号、緑色3号、青色1号、青色2号、だいだい色205号、黄色202号の(1)、緑色201号、緑色204号、青色205号から選択される1種又は2種以上であるものとすることができる。
【0009】
これによれば、殺菌・消毒の効果を持続させつつ、浴用水の色調の変化を抑制することができる。
【0010】
また、上記浴用剤の使用方法において、前記タール色素は、赤色2号、赤色102号、黄色4号、黄色5号、緑色3号、青色2号から選択される1種又は2種以上であるものとすることができる。
(【0011】以降は省略されています)
この特許をJ-PlatPat(特許庁公式サイト)で参照する
関連特許
株式会社げんき
液体活性化装置
1か月前
新・産業洗浄株式会社
曝気装置
7日前
三浦工業株式会社
汚泥乾燥加熱釜
1か月前
株式会社ライトアース
水循環式水質浄化システム
1か月前
名古屋メッキ工業株式会社
溶存金属析出装置
1か月前
スタンレー電気株式会社
流体除菌装置
1か月前
栗田工業株式会社
電気イオン濃縮装置
1か月前
スタンレー電気株式会社
流体除菌装置
1日前
三浦工業株式会社
精製水供給システム
1か月前
栗田工業株式会社
逆浸透膜装置の運転方法
1か月前
オルガノ株式会社
UV照射装置
1か月前
有限会社フリーウェー
浄水装置
1か月前
WOTA株式会社
液性判定システム及び液性判定方法
1か月前
栗田工業株式会社
電気脱イオン装置の運転方法
1か月前
大成建設株式会社
中和処理システムと中和処理方法
7日前
ジヤトコ株式会社
排水回収システム
15日前
個人
海水の塩分除去装置と淡水製造方法
16日前
株式会社ジェイテクト
発酵装置
1日前
栗田工業株式会社
水処理拠点の状況診断支援システム
今日
株式会社ヘルスカンパニー
浴用剤の使用方法
1か月前
竹鶴油業株式会社
残渣処理プラント及び成形物の製造方法
1か月前
株式会社クボタ
有機性廃棄物の処理方法
7日前
有限会社エコルネサンス・エンテック
環境負荷の低減化を図る方法
1か月前
株式会社医道メディカル
水素及び水素溶解エクソソーム液発生装置
29日前
三菱化工機株式会社
電界ろ過装置及び電界ろ過装置のろ材の製造方法
23日前
王子ホールディングス株式会社
排水処理方法
1か月前
栗田工業株式会社
水・蒸気サイクル中の有機系溶存物質の除去方法
1か月前
株式会社セルマップ
油吸着用の吸着体、及び油吸着用の吸着体の製造方法
1か月前
株式会社大林組
汚泥処理施設及び汚泥処理方法
7日前
東ソー株式会社
ニッケルと錯生成能力を持つ化合物を含有する水溶液の浄化方法
2日前
オルガノ株式会社
電気式脱イオン水製造システム及びその運用方法
7日前
キヤノン株式会社
液体中に溶存するガスの回収システム
29日前
株式会社クボタ
浄水処理方法および原水評価方法
7日前
WOTA株式会社
貯留槽及び水処理システム
今日
栗田工業株式会社
フッ化物イオン及びカチオン含有水の処理方法及び装置
2日前
株式会社タカギ
浄水カートリッジ
7日前
続きを見る
他の特許を見る