TOP
|
特許
|
意匠
|
商標
特許ウォッチ
Twitter
他の特許を見る
10個以上の画像は省略されています。
公開番号
2025161288
公報種別
公開特許公報(A)
公開日
2025-10-24
出願番号
2024064356
出願日
2024-04-12
発明の名称
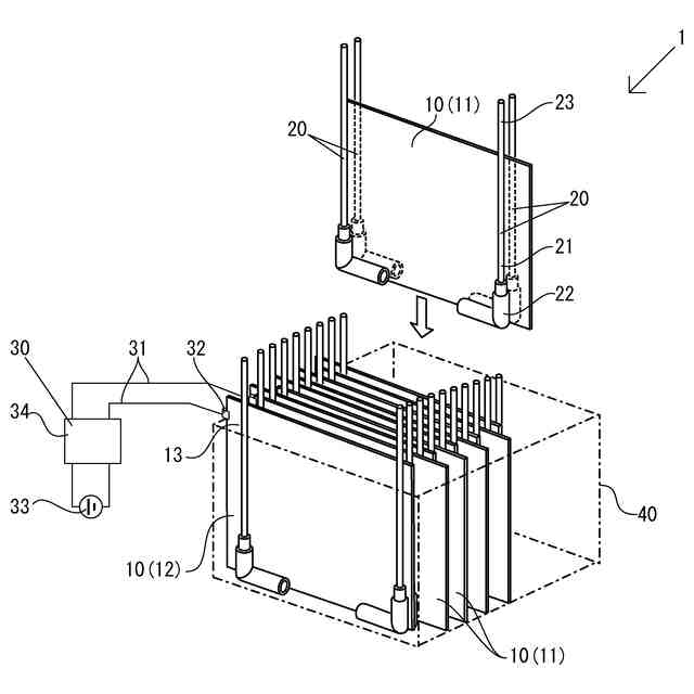
溶存金属析出装置
出願人
名古屋メッキ工業株式会社
代理人
個人
主分類
C02F
1/461 20230101AFI20251017BHJP(水,廃水,下水または汚泥の処理)
要約
【課題】電極板と被処理水を蓄える処理漕の維持管理が容易であり、且つ、簡単な構成で設備導入をしやすい溶存金属析出装置を提供すること。
【解決手段】めっき後の被処理水を蓄えた処理槽40に、陽極板11と陰極板12からなる電極板10を配列させて、電極板に直流電力を供給させて被処理水を電気分解し、陰極板12に溶存金属を析出させる溶存金属析出装置1において、電極板10を処理槽40に固定させないで、所望の間隔を保持させる間隔保持手段20を備えさせた。更に、電極板10の極性を切り替えず、電極板に金属を付着させたまま交換させるようにした。金属の析出量が多くなったときには、非固定の電極板の間隔を広げるだけでよく、清掃の手間も掛からず、簡単な構造の溶存金属析出装置とすることができる。
【選択図】図2
特許請求の範囲
【請求項1】
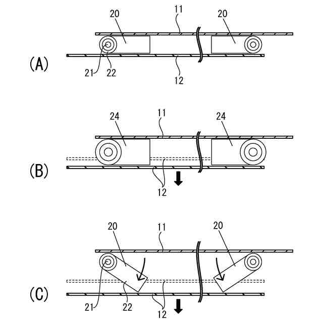
めっき後の被処理水に電極板を浸漬させ、被処理水を電気分解させて、前記電極板に溶存金属を析出させる溶存金属析出装置において、
陽極板と陰極板とを有する複数組の電極板と、間隔保持手段と、電力供給手段とを含み、
各々の前記電極板が、前記被処理水を貯留させた処理槽の底面から起立された状態で、前記被処理水の液面から突出する突出部を備え、
各々の前記陽極板と前記陰極板とが、所望の間隔をあけて列をなすように前記処理槽に浸漬され、隣り合う前記陽極板と前記陰極板がなす隙間の各々が前記被処理水の流路をなし、
前記間隔保持手段が、各々の前記流路を塞がない非導電体からなり、
前記非導電体が、各々の電極板の両面から当接され、前記電極板を前記処理槽に固定させずに前記所望の間隔を保持させ、
前記電力供給手段が、直流電源から延びる電力供給線を前記突出部に接続させて、前記電極板の極性を変えずに直流電流を供給させる、
ことを特徴とする溶存金属析出装置。
続きを表示(約 1,700 文字)
【請求項2】
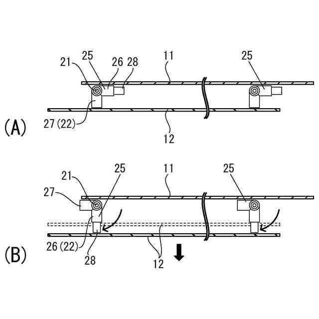
前記間隔保持手段が、間隔変更手段を備え、
前記間隔変更手段が、前記非導電体の突出寸法の変更により前記所望の間隔を変更可能とさせている、
ことを特徴とする請求項1に記載の溶存金属析出装置。
【請求項3】
前記非導電体が、細軸部と、前記電極板と当接される側方突出部とからなる軸体とされ、
前記細軸部が、前記軸体の先端を前記処理槽の底面に当接させたときに、その後端が液面から突出される長さとされ、
前記側方突出部が、前記細軸部から水平方向に突出されていると共に、交差する2つの水平方向の突出寸法が異なり、
前記側方突出部を、前記細軸部の周りに回動させて、前記側方突出部と前記電極板との当接状態を変えることにより、前記間隔変更手段として機能させることができる、
ことを特徴とする請求項2に記載の溶存金属析出装置。
【請求項4】
めっき後の被処理水に電極板を浸漬させ、被処理水を電気分解させて、前記電極板に溶存金属を析出させる溶存金属析出装置において、
陽極板と陰極板とを有する複数組の電極板と、間隔保持手段と、電力供給手段とを含み、
各々の前記電極板が、前記被処理水を貯留させた処理槽の底面から起立された状態で、前記被処理水の液面から突出する突出部を備え、
各々の前記陽極板と前記陰極板とが、所望の間隔をあけて列をなすように前記処理槽に浸漬され、隣り合う前記陽極板と前記陰極板がなす隙間の各々が前記被処理水の流路をなし、
前記間隔保持手段が、支持部と起立片とを備え、
前記支持部が、前記流路の外に配設されると共に、前記陰極板を支持させる第1支持部と、前記陽極板を支持させる第2支持部とからなり、
前記起立片が、夫々の前記支持部に、所望の間隔をあけて並んで垂設され、
前記起立片と前記突出部とを連結させることにより、前記電極板を前記処理槽に固定させずに、前記所望の間隔を保持させ、
前記電力供給手段が、直流電源から延びる電力供給線を前記突出部に接続させて、前記電極板の極性を変えずに直流電流を供給させる、
ことを特徴とする溶存金属析出装置。
【請求項5】
前記間隔保持手段が、間隔変更手段を備え、
前記間隔変更手段が、前記支持部に形成させた、前記電極板の配列方向に沿って延びるスライド溝とされ、
前記起立片が、前記スライド溝に沿って摺動可能に装着され、前記起立片に連結させた前記電極板を前記スライド溝に沿って摺動させることにより、前記所望の間隔を変更可能とさせている、
ことを特徴とする請求項4に記載の溶存金属析出装置。
【請求項6】
前記電極板をなす前記陰極板と前記陽極板とが、交互に面方向に沿って水平にずらされて配置され、
前記流路が、蛇行流路をなしている、
ことを特徴とする請求項1乃至請求項5のいずれか一項に記載の溶存金属析出装置。
【請求項7】
前記電極板が、薄板からなると共に、湾曲防止手段を備え、
前記湾曲防止手段が、前記流路を塞がない第2非導電体からなり、
前記湾曲防止手段の両端が、隣り合う前記電極板の上縁部に接し、前記電極板がその面と交差する方向に凸に湾曲することを防止させている、
ことを特徴とする請求項1乃至請求項5のいずれか一項に記載の溶存金属析出装置。
【請求項8】
前記被処理水が、亜鉛めっき液を水洗させる洗浄槽からの洗浄排水であり、
溶存亜鉛濃度が、少なくとも100mg/L以上であり、
前記電力供給手段が供給させる直流電力の電流密度が、少なくとも4.5A/m
2
以上とされている、
ことを特徴とする請求項1乃至請求項5のいずれか一項に記載の溶存金属析出装置。
【請求項9】
前記陰極板が、板厚1mm以下の鉄板からなる、
ことを特徴とする請求項8に記載の溶存金属析出装置。
発明の詳細な説明
【技術分野】
【0001】
本発明は、めっき後の被処理水を電気分解し、電極板に溶存金属を析出させ、被処理水の溶存金属濃度を低下させる溶存金属析出装置に関する。より詳細には、被処理水を蓄えた処理槽と電極板の維持管理が容易であり、且つ、簡単な構成で設備導入をしやすい溶存金属析出装置に関する。
続きを表示(約 1,500 文字)
【0002】
より具体的には、電極板を処理槽に固定させずに、所望の間隔で配列させることにより、既設の処理槽をそのまま利用できるようにして設備導入をしやすくさせると共に、電極板に金属を付着させたまま交換させるようにして、処理槽の清掃作業を不要にした溶存金属析出装置に関する。
【背景技術】
【0003】
めっき製品の製造工場においては、めっき製品をなす基材をめっき液に浸漬させ、基材の表面に所望の膜厚のめっき層を析出させてめっき製品を製造させている。各めっき工程から次工程に移行する際には、めっき製品を洗浄槽に浸漬させ、製品表面に付着している残留めっき液を水洗し、次工程の表面活性化処理液やめっき液等に、前工程のめっき液を混入させないように管理している。
【0004】
この洗浄槽に貯留されている洗浄水は、残留めっき液の水洗に伴って溶存金属濃度が高くならないように洗浄排水を排出させて、洗浄水を入れ替えている。具体的には、亜鉛の電気めっき設備であれば、1日あたり150トンから200トンといった膨大な量の洗浄排水を排出させている。
【0005】
電気めっき設備の排水処理は、凝集沈殿法とも称される化学的処理により、洗浄水に含まれるクロム、亜鉛、シアン、銅等の溶存金属を回収し、排水基準を充たすまで溶存金属濃度を下げている。凝集沈殿法では、夫々の金属イオンが沈殿しやすいpH値の違いを利用し、回収する金属の種類に応じて洗浄水に酸性薬剤、アルカリ性薬剤を添加してpH調整させつつ、無機凝集剤、液体キレート剤、高分子凝集剤等を添加し、所望の溶存金属を効率よく凝集・回収させている。
【0006】
しかし、亜鉛はpHが酸性・アルカリ性のいずれの領域においても溶存可能な両性金属であるため、化学的処理だけで洗浄排水に含まれる溶存亜鉛を確実に回収することは困難である。そのため、平成18年環境省令第33号により、亜鉛の一般排水基準が、水1リットルあたり5mg(以下、mg/Lとする。)から2mg/Lに強化された際も、電気めっき業においては、例外的に従前の5mg/Lを暫定排水基準として維持させることになった。
【0007】
令和3年に上記暫定排水基準の適用期限を迎えたことにより、電気めっき業においても、新たに暫定排水基準が4mg/Lに強化されると共に、暫定排水基準の適用期間を令和6年末まで延長する法改正が実施された。しかし、令和3年の暫定排水基準も、令和6年の法改正で撤廃される見込みであり、電気めっき業においても、亜鉛の一般排水基準値の2mg/Lを充足できるように、新たな排水処理技術の開発が喫緊の課題となっている。
【0008】
特許文献1には、水道水に含まれる無機塩類を、電気分解により電極板に析出させて回収し、給湯器をなす水熱交換器の管内に無機塩類が析出することを抑制させる電気分解装置の技術が開示されている。
【0009】
この文献に記載の技術によれば、密閉容器の側壁から陽極板と陰極板とを交互に突き出させて流路を形成させ、密閉容器内に供給させた水道水を電気分解し、無機塩類を電極板に析出させている。そして、陰極板に析出させた無機塩類は、電極板の極性の反転により剥離され、水流によって密閉容器の下流側まで運ばれ、密閉容器の下流側底面に配設させたポンプで吸引回収させている。
【0010】
仮に、この文献に記載の技術を、電気めっき設備の洗浄排水に適用させたときには、亜鉛等の重金属は、無機塩類に比べて比重が重いため、水流で運ぶことが困難であり、電極板から剥離された重金属は、そのまま流路の底に堆積する。
(【0011】以降は省略されています)
この特許をJ-PlatPat(特許庁公式サイト)で参照する
関連特許
株式会社げんき
液体活性化装置
1か月前
新・産業洗浄株式会社
曝気装置
11日前
株式会社ライトアース
水循環式水質浄化システム
1か月前
スタンレー電気株式会社
流体除菌装置
1か月前
スタンレー電気株式会社
流体除菌装置
5日前
栗田工業株式会社
逆浸透膜装置の運転方法
1か月前
オルガノ株式会社
UV照射装置
1か月前
有限会社フリーウェー
浄水装置
1か月前
大成建設株式会社
中和処理システムと中和処理方法
11日前
ダイハツ工業株式会社
有機物の分解処理装置
今日
ジヤトコ株式会社
排水回収システム
19日前
栗田工業株式会社
水処理拠点の状況診断支援システム
4日前
個人
海水の塩分除去装置と淡水製造方法
20日前
株式会社ジェイテクト
発酵装置
5日前
竹鶴油業株式会社
残渣処理プラント及び成形物の製造方法
1か月前
株式会社クボタ
有機性廃棄物の処理方法
11日前
株式会社医道メディカル
水素及び水素溶解エクソソーム液発生装置
1か月前
三菱化工機株式会社
電界ろ過装置及び電界ろ過装置のろ材の製造方法
27日前
水ing株式会社
廃水処理装置および廃水処理方法
今日
東ソー株式会社
ニッケルと錯生成能力を持つ化合物を含有する水溶液の浄化方法
6日前
栗田工業株式会社
水・蒸気サイクル中の有機系溶存物質の除去方法
1か月前
株式会社大林組
汚泥処理施設及び汚泥処理方法
11日前
オルガノ株式会社
電気式脱イオン水製造システム及びその運用方法
11日前
WOTA株式会社
貯留槽及び水処理システム
4日前
キヤノン株式会社
液体中に溶存するガスの回収システム
1か月前
株式会社クボタ
浄水処理方法および原水評価方法
11日前
栗田工業株式会社
フッ化物イオン及びカチオン含有水の処理方法及び装置
6日前
株式会社タカギ
浄水カートリッジ
11日前
荏原実業株式会社
防臭システム、防臭装置及び防臭方法
1か月前
株式会社ササクラ
被処理液の膜処理方法および装置
19日前
株式会社パーカーコーポレーション
循環水処理用水溶液
11日前
株式会社東芝
スカム発生抑制システム及びスカム発生抑制方法
1か月前
オルガノ株式会社
水処理システム
19日前
メタウォーター株式会社
消化システム及び加熱制御方法
1か月前
メタウォーター株式会社
消化システム及び配管設置方法
1か月前
メタウォーター株式会社
消化システム及び加熱制御方法
1か月前
続きを見る
他の特許を見る