TOP
|
特許
|
意匠
|
商標
特許ウォッチ
Twitter
他の特許を見る
10個以上の画像は省略されています。
公開番号
2025149985
公報種別
公開特許公報(A)
公開日
2025-10-09
出願番号
2024050604
出願日
2024-03-27
発明の名称
電解水生成装置
出願人
株式会社クボタ
代理人
弁理士法人森本国際特許事務所
主分類
C02F
1/461 20230101AFI20251002BHJP(水,廃水,下水または汚泥の処理)
要約
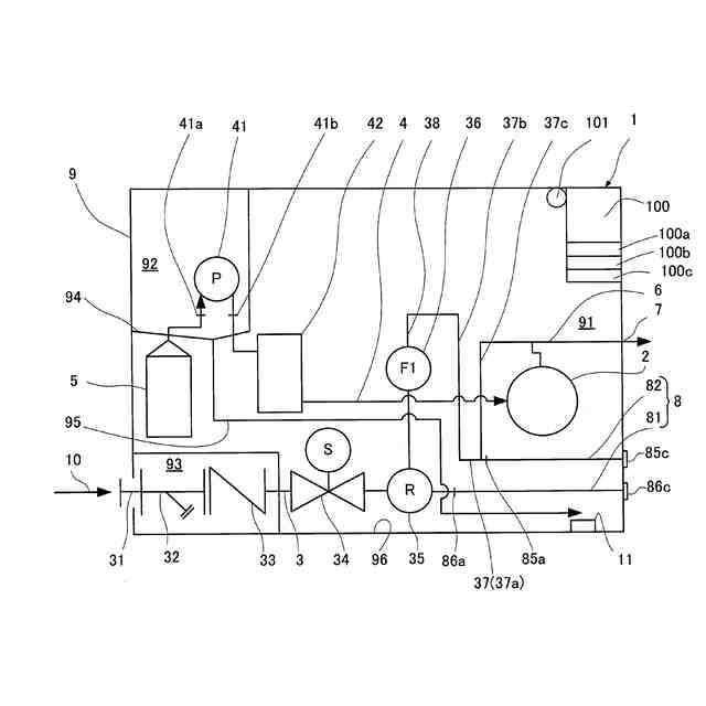
【課題】電解槽への給水系にトラップ水路を有する構成において、給水系内の水を速やかに排水することができる電解水生成装置を提供する。
【解決手段】トラップ水路37は、水路底部37aで連続する上流立て流路部37bと下流立て流路部37cを有し、下流立て流路部37cが流路上端でトラップ水路37より下流側の給水系3に接続し、上流立て流路部37bが流路上端でトラップ水路37より上流側の給水系3に接続し、水抜き機構部8は、トラップ水路37より上流側の給水系3の流路最低部に設ける第1水抜き部81と、トラップ水路37の水路底部37aに設ける第2水抜き部82を有する。
【選択図】図1
特許請求の範囲
【請求項1】
電解液の電気分解により塩素ガスを生成し、給水中に混気して電解水を生成する電解槽と、
電解槽に給水する給水系と、
電解液を電解槽へ供給する電解液供給系と、
電解槽で生成した電解水を電解水吐出口に供給する電解水供給系を装置筐体内に備え、
電解槽より上流側の給水系にトラップ水路と水抜き機構部を設け、
トラップ水路は、水路底部で連続する上流立て流路部と下流立て流路部を有し、
水抜き機構部は、トラップ水路より上流側の給水系の流路最低部に設ける第1水抜き部と、トラップ水路の水路底部に設ける第2水抜き部を有することを特徴とする電解水生成装置。
続きを表示(約 290 文字)
【請求項2】
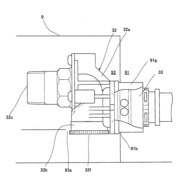
トラップ水路より上流側の給水系は、第1水抜き部との接続位置から立ち上がるトラップ接続部で上流立て流路部の流路上端に接続することを特徴とする請求項1に記載の電解水生成装置。
【請求項3】
第1水抜き部と第2水抜き部は、先端側の排水口部が露出する装置筐体の開口部を通して筐体外部へ取り出し可能に配置することを特徴とする請求項1に記載の電解水生成装置。
【請求項4】
第1水抜き部と第2水抜き部は、装置筐体の一側方向に向けて配置し、先端側の排水口部が装置筐体の同一面に露出していることを特徴とする請求項1に記載の電解水生成装置。
発明の詳細な説明
【技術分野】
【0001】
本発明は、電解水生成装置に関し、電解により次亜塩素酸水を生成する技術に貢献するものである。
続きを表示(約 1,400 文字)
【背景技術】
【0002】
従来、電解水生成装置で生成した電解次亜塩素酸水を利用する分野として、農畜産業分野、食料分野、加湿空気清浄機など機内で水を扱う家電や設備の分野や、空調機、上下水インフラ、人が集まる学校や病院や商業施設等々における閉鎖空間、半閉鎖空間での除菌、衛生管理、感染症対策、BCP(事業継続計画)がある。
【0003】
また、農畜産業分野においては、酸性電解水(電解次亜塩素酸水)が農産物に使用する特定農薬(特定防除資材)として使用可能となり、活用が促進されている。
【0004】
電解水生成装置は、電解槽で原料薬液を電気分解して塩素ガスを発生させ、塩素ガスを給水系から供給する給水中に混気し、電解水を生成している。
【0005】
特許文献1に記載の水供給装置は、共通配管が給水口に連結され、共通配管から分岐した第1配管が第1水槽に連結され、共通配管から分岐した第2配管が第2水槽に連結されている。第1配管の第1流出口が第2配管の第2流出口より低い位置に配置されており、第1弁の閉状態となると第2弁と第3弁が開状態に制御され、水抜けされる。
【0006】
特許文献2に記載のアルカリイオン成水器は、器具の非使用時におけるタンク内の水抜けを防止するものである。タンクに給水する給水通路と、タンク内の水を抜く水抜き弁と、タンク内の水を電解槽に給水する冷水給水路と、電解槽により生成されたアルカリイオン水を吐水する吐水通路と、電解槽にて生成された酸性水を排水する排水通路と、排水通路を開閉する開閉弁と、タンク内の空気を排気する空気抜き弁とを備えたもので、給水通路内の通水を検出する通水検出手段を設けると共に、この通水検出手段により通水を検出時には開閉弁を開く制御手段を設けたものである。
【0007】
特許文献3に記載の電解水生成装置は、電解液の原料薬液を電気分解して電解生成物の塩素ガスを発生させ、塩素ガスを給水中に混気し、電解水を生成する装置上部に配置する電解槽と、装置下部に接続する給水源から電解槽に給水する流路の途中に電解水トラップを有する給水系と、電解液タンクの電解液を電解槽へ供給する電解液供給系とを備え、電解水トラップは、給水系の電解槽への流入口より高位置を流れる高位流路を有し、電解槽から給水系への電解水の逆流を抑制する。
【先行技術文献】
【特許文献】
【0008】
特開2023-111060
特開2000-317453
特開2023-94631
【発明の概要】
【発明が解決しようとする課題】
【0009】
従来、電解水生成装置には種々のものがあり、例えば電解型次亜塩素酸水生成装置は、薬液(塩酸)を薬液ポンプにより無隔膜電解槽に移送し、無隔膜電解槽で薬液を電気分解して塩素ガス生成し、塩素ガスを原水と混合して次亜塩素酸水を生成し、外部に吐水する。
【0010】
電解槽の電解生成物(塩素など)の拡散による水路部部品(流量センサなど)の劣化を防止するため、電解槽近傍の水路部配管には電解生成物拡散を抑止するトラップ水路が設けられることがある。
(【0011】以降は省略されています)
この特許をJ-PlatPat(特許庁公式サイト)で参照する
関連特許
株式会社神鋼環境ソリューション
貯留槽
4日前
栗田工業株式会社
水質予測方法及び水質制御方法
11日前
水ing株式会社
廃溶液の処理方法
5日前
株式会社クボタ
電解水生成装置
5日前
株式会社クボタ
電解水生成装置
5日前
株式会社クボタ
電解水生成装置
5日前
株式会社クボタ
電解水生成装置
5日前
パナソニックIPマネジメント株式会社
軟水化装置
5日前
パナソニックIPマネジメント株式会社
軟水化装置
5日前
水ing株式会社
排水処理方法及び装置
11日前
パナソニックIPマネジメント株式会社
電解水生成装置
4日前
三浦工業株式会社
汚泥減容システム
4日前
パナソニックIPマネジメント株式会社
水処理装置
5日前
パナソニックIPマネジメント株式会社
水処理装置
5日前
パナソニックIPマネジメント株式会社
水処理装置
5日前
パナソニックIPマネジメント株式会社
水処理装置
5日前
パナソニックIPマネジメント株式会社
水処理装置
5日前
パナソニックIPマネジメント株式会社
水処理装置
5日前
株式会社海洋開発技術研究所
水質改善装置および水質改善方法
6日前
水ing株式会社
排水処理装置及び排水処理方法
6日前
水ing株式会社
排水処理方法および排水処理装置
11日前
株式会社クボタ
電解水生成装置および運転方法
5日前
Daigasエナジー株式会社
廃液処理装置および運転方法
4日前
オルガノ株式会社
水処理装置および水処理方法
5日前
オルガノ株式会社
水処理設備、制御装置、運転方法およびプログラム
6日前
オルガノ株式会社
水処理装置および水処理方法
5日前
水ing株式会社
メタンガスの抑制方法及び装置、ならびにメタンガス抑制剤
5日前
株式会社クボタ
電解水生成設備および原水タンク浄化方法
5日前
国立大学法人北海道国立大学機構
液状物の処理方法
4日前
ベーシック株式会社
浄水提供システム
7日前
横河電機株式会社
支援システム、支援方法および支援プログラム
6日前
株式会社NSS-TOKYO
プラズマ微細気泡発生装置、及びこれを用いた水処理装置、並びに水処理方法
11日前
株式会社LIXIL
汚水処理装置、汚水処理システム、および汚水処理システムの施工方法
11日前
三菱ケミカル・クリンスイ株式会社
自重型カートリッジ、浄水器、自重型カートリッジの前処理方法
4日前
株式会社日立製作所
浄水薬品注入制御システム、浄水薬品注入制御方法、及びプログラム
5日前
月島JFEアクアソリューション株式会社
汚泥減容化装置、汚泥減容化方法及びこれに用いる噴流ノズル
5日前
続きを見る
他の特許を見る