TOP
|
特許
|
意匠
|
商標
特許ウォッチ
Twitter
他の特許を見る
10個以上の画像は省略されています。
公開番号
2025163556
公報種別
公開特許公報(A)
公開日
2025-10-29
出願番号
2024066946
出願日
2024-04-17
発明の名称
熱交換器内のかき取り板の移動装置及び熱交換器
出願人
栗田工業株式会社
代理人
個人
,
個人
主分類
F28G
15/04 20060101AFI20251022BHJP(熱交換一般)
要約
【課題】伝熱管の外表面に付着した汚れをかき取るための移動板をワイヤロープを介して容易に移動させることができる熱交換器内のかき取り板の移動装置と、この熱交換器内のかき取り板の移動装置を備えた熱交換器を提供する。
【解決手段】 熱交換器内に移動可能に設置された、伝熱管外周面の汚れ物質かき取り用のかき取り板をワイヤロープ及びワイヤロープ用の牽引機によって移動させるための移動装置であって、該牽引機は、外周面にワイヤロープが巻き掛けられる回転体が内部に設置されており、該牽引機の一端面から該回転体まで該ワイヤロープを導く第1のワイヤロープ挿通孔と、該牽引機の他端面から該回転体まで該ワイヤロープを導く第2のワイヤロープ挿通孔とを備えており、該回転体を回転させることにより、該ワイヤロープが該第1のワイヤロープ挿通孔から第2のワイヤロープ挿通孔へ又は、その逆に移動する。
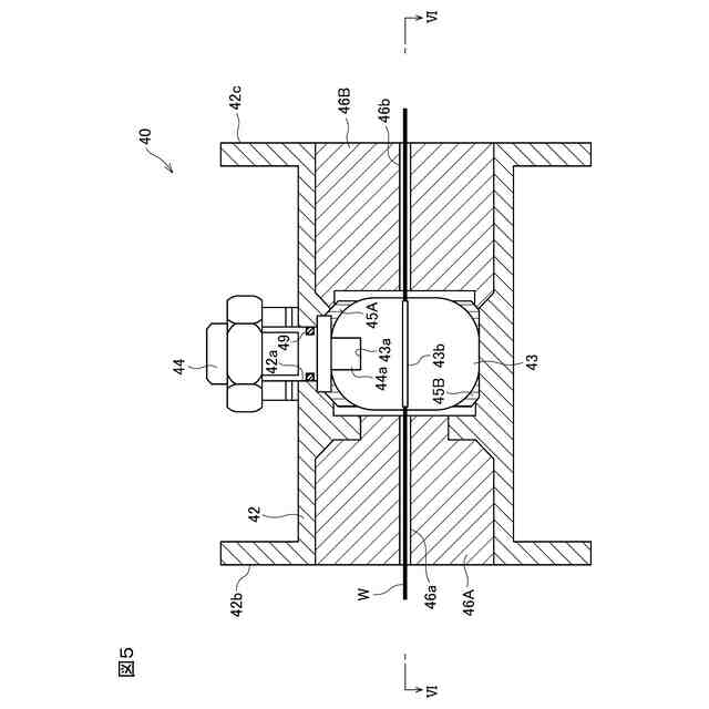
【選択図】図5
特許請求の範囲
【請求項1】
熱交換器内に移動可能に設置された、伝熱管外周面の汚れ物質かき取り用のかき取り板をワイヤロープ及びワイヤロープ用の牽引機によって移動させるための移動装置であって、
該牽引機は、外周面にワイヤロープが巻き掛けられる回転体が内部に設置されており、該牽引機の一端面から該回転体まで該ワイヤロープを導く第1のワイヤロープ挿通孔と、該牽引機の他端面から該回転体まで該ワイヤロープを導く第2のワイヤロープ挿通孔とを備えており、
該回転体を回転させることにより、該ワイヤロープが該第1のワイヤロープ挿通孔から第2のワイヤロープ挿通孔へ又は、その逆に移動する、熱交換器内のかき取り板の移動装置。
続きを表示(約 1,600 文字)
【請求項2】
前記回転体を回転させるための軸棒が、前記牽引機から突設されている請求項1の熱交換器内のかき取り板の移動装置。
【請求項3】
熱交換器の一端から延出する前記ワイヤロープを前記第1のワイヤロープ挿通孔に導くワイヤロープ誘導用の第1の管状体と、熱交換器の他端から延出する前記ワイヤロープを前記第2のワイヤロープ挿通孔に導くワイヤロープ誘導用の第2の管状体とを備えている、請求項1の熱交換器内のかき取り板の移動装置。
【請求項4】
前記第1の管状体及び第2の管状体は、0.01R以上のU字形又は半円弧形に延在している、あるいは、0.01R以下の角部を有しない、請求項3の熱交換器内のかき取り板の移動装置。
【請求項5】
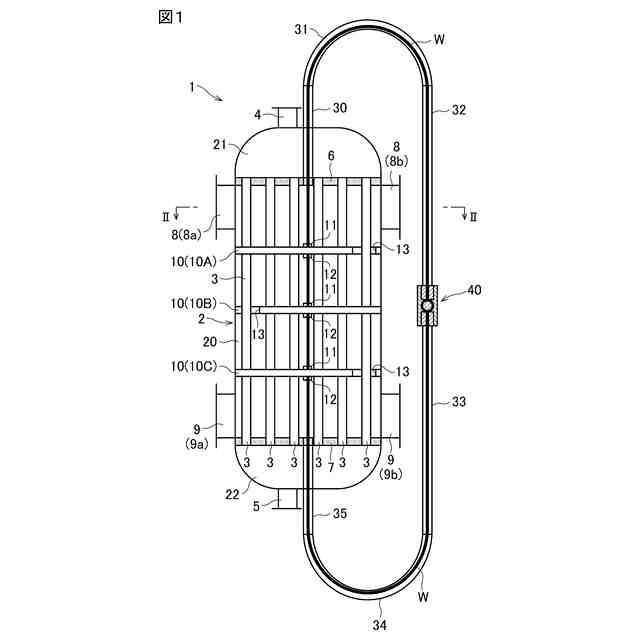
胴体管と、
該胴体管内に平行に配置された複数の伝熱管と、
該伝熱管が挿通された貫通孔を有し、該伝熱管の延在方向に進退可能なかき取り板と、
該かき取り板をワイヤロープを介して進退移動させるための請求項1~4のいずれかの熱交換器内のかき取り板の移動装置と
を有する熱交換器。
【請求項6】
熱交換器内に移動可能に設置された、伝熱管外周面の汚れ物質かき取り用のかき取り板をワイヤロープ及びワイヤロープ用の牽引機によって移動させるための移動装置であって、
該牽引機は、外周面にワイヤロープが巻き掛けられる回転体が内部に設置されており、該牽引機の一端面から該回転体まで該ワイヤロープを導く第1のワイヤロープ挿通孔と、該牽引機の他端面から該回転体まで該ワイヤロープを導く第2のワイヤロープ挿通孔と、
該第2のワイヤロープ挿通孔から延出するワイヤロープを囲む封止構造体とを備えており、
該回転体を回転させることにより、該ワイヤロープが該第1のワイヤロープ挿通孔及び第2のワイヤロープ挿通孔を通って該封止構造体内へ移動する、熱交換器内のかき取り板の移動装置。
【請求項7】
前記回転体を回転させるための軸棒が、前記牽引機から突設されている請求項6の熱交換器内のかき取り板の移動装置。
【請求項8】
熱交換器から延出する前記ワイヤロープを前記第1のワイヤロープ挿通孔に導くワイヤロープ誘導用の管状体を備えている、請求項6の熱交換器内のかき取り板の移動装置。
【請求項9】
請求項6~8のいずれかの熱交換器内のかき取り板の移動装置(以下、この請求項において、移動装置という。)を2個(以下、第1の移動装置及び第2の移動装置という。)備えた熱交換器であって、該熱交換器は、
胴体管と、
該胴体管内に平行に配置された複数の伝熱管と、
該伝熱管が挿通された貫通孔を有し、該伝熱管の延在方向に進退可能なかき取り板と
を備えており、
該かき取り板を第1のワイヤロープを介して前記第1の移動装置により一方向に移動させ、該かき取り板を、該第1のワイヤロープと反対方向に延在する第2のワイヤロープを介して前記第2の移動装置により他方向に移動させる
熱交換器。
【請求項10】
熱交換器内に移動可能に設置された、伝熱管外周面の汚れ物質かき取り用のかき取り板をワイヤロープ及びワイヤロープ用の牽引機によって移動させるための移動装置であって、
該牽引機は、外周面にワイヤロープが巻き付けられる回転体が内部に設置されており、該牽引機の一端面から該回転体まで該ワイヤロープを導くワイヤロープ挿通孔を備えており、
該回転体を回転させることにより、該ワイヤロープが該ワイヤロープ挿通孔を通って該回転体に巻き取られる、熱交換器内のかき取り板の移動装置。
(【請求項11】以降は省略されています)
発明の詳細な説明
【技術分野】
【0001】
本発明は熱交換器内のかき取り板の移動装置及び熱交換器に係り、特に伝熱管の外表面に付着した汚れをかき取る熱交換器内のかき取り板の移動装置と、この移動装置を備えた熱交換器に関する。
続きを表示(約 1,200 文字)
【背景技術】
【0002】
伝熱管の外表面に付着した汚れをかき取る機構を有する熱交換器の該洗浄機構として、移動掃除板方式(特許文献1,2)が知られている。
【0003】
特許文献1には、シェルアンドチューブ式熱交換器において、複数のバッフルをチューブに沿って往復摺動させることによりチューブ表面に付着した汚れをかき取る構成が開示されている。特許文献1では、各バッフルに連結された支持棒をモータで進退させることにより各バッフルをチューブに沿って移動させる。
【0004】
特許文献2には、送りネジ機構を用いて掃除板(特許文献2ではスライダと称されている。)を往復摺動させ、伝熱管の外表面の汚れをかき取る構成が開示されている。
【先行技術文献】
【特許文献】
【0005】
特開2012-207813号公報
実開昭62-107289号公報
【発明の概要】
【発明が解決しようとする課題】
【0006】
特許文献1のようにバッフル板に支持棒を連結し、この支持棒を進退させて伝熱管外周面の汚れの除去を行う構成では、バッフル板の移動距離と支持棒の進退ストローク長とが同じである。そのため、支持棒を長大にすれば、バッフル板の移動範囲を十分に大きくすることができるが、支持棒のシェルからの最大突出長さが著しく大きなものとなるため、現実的ではない。しかも支持棒の先端側にモータを有した進退装置を接続するので、シェルからの突出長さはさらに大きなものとなる。
【0007】
特許文献2では、送りネジ機構を熱交換器内に組み込むため、熱交換器の内部構造が複雑となる。
【0008】
本発明は、伝熱管の外表面に付着した汚れをかき取るための移動板をワイヤロープを介して容易に移動させることができる熱交換器内のかき取り板の移動装置と、この熱交換器内のかき取り板の移動装置を備えた熱交換器を提供することを課題とする。
【課題を解決するための手段】
【0009】
本発明は、次を要旨とする。
【0010】
[1] 熱交換器内に移動可能に設置された、伝熱管外周面の汚れ物質かき取り用のかき取り板をワイヤロープ及びワイヤロープ用の牽引機によって移動させるための移動装置であって、
該牽引機は、外周面にワイヤロープが巻き掛けられる回転体が内部に設置されており、該牽引機の一端面から該回転体まで該ワイヤロープを導く第1のワイヤロープ挿通孔と、該牽引機の他端面から該回転体まで該ワイヤロープを導く第2のワイヤロープ挿通孔とを備えており、
該回転体を回転させることにより、該ワイヤロープが該第1のワイヤロープ挿通孔から第2のワイヤロープ挿通孔へ又は、その逆に移動する、熱交換器内のかき取り板の移動装置。
(【0011】以降は省略されています)
この特許をJ-PlatPat(特許庁公式サイト)で参照する
関連特許
栗田工業株式会社
ギ酸の回収方法
21日前
栗田工業株式会社
リチウム含有物の濃縮方法
20日前
栗田工業株式会社
有機物含有水の脱泡処理装置
28日前
栗田工業株式会社
方法、システム及びプログラム
12日前
栗田工業株式会社
洗浄水製造装置及び洗浄水製造方法
5日前
栗田工業株式会社
水処理拠点の状況診断支援システム
5日前
栗田工業株式会社
水処理拠点の状況診断支援システム
5日前
栗田工業株式会社
洗浄水製造装置及び洗浄水製造方法
12日前
栗田工業株式会社
リチウム二次電池正極材の処理方法
20日前
株式会社デンソー
液体分離システム
20日前
栗田工業株式会社
超純水製造装置の立ち上げ時の洗浄方法
28日前
日本製紙クレシア株式会社
パンツ型紙おむつ
1か月前
栗田工業株式会社
フッ化物イオン及びカチオン含有水の処理方法及び装置
7日前
栗田工業株式会社
排水の水質測定システム、排水処理設備及び排水の水質測定方法
1日前
栗田工業株式会社
蓄電デバイス輸送容器、及びこれを用いた蓄電デバイスの輸送方法
5日前
栗田工業株式会社
混合イオン交換樹脂におけるアニオン交換樹脂とカチオン交換樹脂との分離方法
28日前
個人
排熱回収装置
4か月前
個人
冷却装置の蒸発器
1か月前
個人
放射冷却装置
1か月前
個人
熱交換装置
6か月前
個人
熱交換装置
2か月前
ホーコス株式会社
熱交換ユニット
10か月前
三恵技研工業株式会社
熱交換器
8か月前
三恵技研工業株式会社
熱交換器
8か月前
アンリツ株式会社
検査装置
7か月前
株式会社パイオラックス
熱交換器
10か月前
アンリツ株式会社
検査装置
7か月前
日産自動車株式会社
熱交換器
9か月前
株式会社ティラド
ラジエータ
10か月前
株式会社アイシン
水噴射冷却システム
10か月前
新光電気工業株式会社
蓄熱装置
3か月前
株式会社デンソー
熱交換器
6か月前
株式会社アイシン
熱交換器
6か月前
株式会社デンソー
熱交換器
6か月前
株式会社デンソー
熱交換器
5か月前
株式会社デンソー
熱交換器
7か月前
続きを見る
他の特許を見る