TOP
|
特許
|
意匠
|
商標
特許ウォッチ
Twitter
他の特許を見る
公開番号
2025150215
公報種別
公開特許公報(A)
公開日
2025-10-09
出願番号
2024050990
出願日
2024-03-27
発明の名称
ベルトコンベアの監視方法、ベルトコンベアの制御方法及びプログラム
出願人
栗田工業株式会社
代理人
弁理士法人IPX
主分類
B65G
43/02 20060101AFI20251002BHJP(運搬;包装;貯蔵;薄板状または線条材料の取扱い)
要約
【課題】ベルトコンベア運行時のエラーを効果的に評価することが可能なベルトコンベアの監視方法等を提供する。
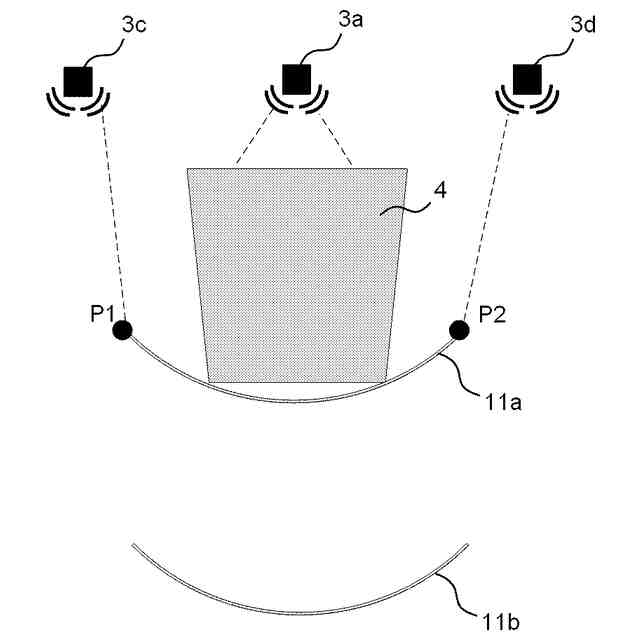
【解決手段】本発明の一態様によれば、ベルトコンベアの監視方法が提供される。この監視方法は、取得工程と、評価工程と、を備える。取得工程では、ベルトコンベアの幅方向の長さに関する情報を取得する。ここで、幅方向の長さに関する情報は、ベルトコンベアの運行中に光学センサによって計測された計測データに基づくものである。評価工程では、幅方向の長さに関する情報と、予め定められた基準情報と、を比較することで、ベルトコンベアの運行中におけるエラーの有無を評価する。
【選択図】図1
特許請求の範囲
【請求項1】
ベルトコンベアの監視方法であって、
取得工程と、評価工程と、を備え、
前記取得工程では、前記ベルトコンベアの幅方向の長さに関する情報を取得し、
ここで、前記幅方向の長さに関する情報は、前記ベルトコンベアの運行中に光学センサによって計測された計測データに基づくものであり、
前記評価工程では、前記幅方向の長さに関する情報と、予め定められた基準情報と、を比較することで、前記ベルトコンベアの運行中におけるエラーの有無を評価する、監視方法。
続きを表示(約 1,000 文字)
【請求項2】
請求項1に記載のベルトコンベアの監視方法において、
前記エラーは、前記ベルトコンベアのベルトの破断及び前記ベルトコンベアの積載物のはみ出しからなる群から選択される1以上に関する、監視方法。
【請求項3】
請求項1に記載のベルトコンベアの監視方法において、
前記幅方向の長さに関する情報は、前記ベルトコンベアに関する第1端から第2端までの長さに対応し、
前記第1端及び前記第2端は、それぞれ前記ベルトコンベアのベルト及び/又は前記ベルトコンベアの積載物によって定義される、監視方法。
【請求項4】
請求項3に記載のベルトコンベアの監視方法において、
前記計測データは、前記光学センサが連続的に計測を行うことで得られるデータであり、
前記幅方向の長さに関する情報は、前記第1端から第2端までの長さの経時変化を含む、監視方法。
【請求項5】
請求項4に記載のベルトコンベアの監視方法において、
前記評価工程では、さらに、前記第1端から第2端までの長さの経時変化に基づき、前記エラーの大きさを評価する、監視方法。
【請求項6】
請求項3に記載のベルトコンベアの監視方法において、
前記第1端と、前記第2端と、がそれぞれ異なる光学センサによって計測される、監視方法。
【請求項7】
請求項1に記載のベルトコンベアの監視方法において、
前記光学センサは、LiDARセンサである、監視方法。
【請求項8】
請求項1に記載のベルトコンベアの監視方法において、
警告工程をさらに備え、
前記警告工程では、前記評価工程で前記エラーがあることが評価された場合に、警告を発する、監視方法。
【請求項9】
ベルトコンベアの制御方法であって、
ベルトコンベア制御工程を備え、
前記ベルトコンベア制御工程では、請求項1ないし請求項8のいずれか1項に記載のベルトコンベアの監視方法における前記評価工程で前記エラーがあることが評価された場合に、運行中の前記ベルトコンベアの停止を行う、制御方法。
【請求項10】
プログラムであって、
少なくとも1つのコンピュータに、請求項1ないし請求項8のいずれか1項に記載のベルトコンベアの監視方法の各工程を実行させる、プログラム。
発明の詳細な説明
【技術分野】
【0001】
本発明は、ベルトコンベアの監視方法、ベルトコンベアの制御方法及びプログラムに関する。
続きを表示(約 1,100 文字)
【背景技術】
【0002】
特許文献1には、ベルトコンベアの蛇行を検出する装置が開示されている。
【先行技術文献】
【特許文献】
【0003】
特開2000-118663号公報
【発明の概要】
【発明が解決しようとする課題】
【0004】
特許文献1に開示された技術は、ベルトコンベアそのものにセンサを取り付けるものである。そのため、センサの取り付け自体に人的又は金銭的負担があり、センサの取り付け個数に制限が課される。このような背景もあり、従来、効率的にベルトコンベア運行時のエラーを評価することが求められていた。
【0005】
本発明では上記事情に鑑み、ベルトコンベア運行時のエラーを効果的に評価することが可能なベルトコンベアの監視方法等を提供することとした。
【課題を解決するための手段】
【0006】
本発明の一態様によれば、ベルトコンベアの監視方法が提供される。この監視方法は、取得工程と、評価工程と、を備える。取得工程では、ベルトコンベアの幅方向の長さに関する情報を取得する。ここで、幅方向の長さに関する情報は、ベルトコンベアの運行中に光学センサによって計測された計測データに基づくものである。評価工程では、幅方向の長さに関する情報と、予め定められた基準情報と、を比較することで、ベルトコンベアの運行中におけるエラーの有無を評価する。
【0007】
上記態様によれば、ベルトコンベア運行時のエラーを効果的に評価することが可能なベルトコンベアの監視方法等が提供される。
【0008】
さらに、次に記載の各態様で提供されてもよい。
【0009】
(1)ベルトコンベアの監視方法であって、取得工程と、評価工程と、を備え、前記取得工程では、前記ベルトコンベアの幅方向の長さに関する情報を取得し、ここで、前記幅方向の長さに関する情報は、前記ベルトコンベアの運行中に光学センサによって計測された計測データに基づくものであり、前記評価工程では、前記幅方向の長さに関する情報と、予め定められた基準情報と、を比較することで、前記ベルトコンベアの運行中におけるエラーの有無を評価する、監視方法。
【0010】
(2)上記(1)に記載のベルトコンベアの監視方法において、前記エラーは、前記ベルトコンベアのベルトの破断及び前記ベルトコンベアの積載物のはみ出しからなる群から選択される1以上に関する、監視方法。
(【0011】以降は省略されています)
この特許をJ-PlatPat(特許庁公式サイト)で参照する
関連特許
栗田工業株式会社
排水回収装置
1か月前
栗田工業株式会社
ギ酸の回収方法
5日前
栗田工業株式会社
ギ酸の回収方法
1か月前
栗田工業株式会社
電気イオン濃縮装置
1か月前
栗田工業株式会社
用水の水質予測方法
1か月前
栗田工業株式会社
生物処理水の利用方法
17日前
栗田工業株式会社
畜糞造粒物の製造方法
1か月前
栗田工業株式会社
放射性廃液の処理方法
1か月前
栗田工業株式会社
逆浸透膜装置の運転方法
20日前
栗田工業株式会社
超純水製造装置の制御方法
1か月前
栗田工業株式会社
有機性排水の生物処理方法
1か月前
栗田工業株式会社
リチウム含有物の濃縮方法
4日前
栗田工業株式会社
有機物含有水の脱泡処理装置
12日前
栗田工業株式会社
電気脱イオン装置の運転方法
1か月前
栗田工業株式会社
水質予測方法及び水質制御方法
1か月前
栗田工業株式会社
管内面の洗浄用プラグ及び洗浄方法
1か月前
栗田工業株式会社
リチウム二次電池正極材の処理方法
4日前
株式会社デンソー
液体分離システム
4日前
栗田工業株式会社
微生物発電装置および微生物発電方法
25日前
栗田工業株式会社
超純水製造装置の立ち上げ時の洗浄方法
12日前
栗田工業株式会社
有機物含有排水からの水回収装置及び方法
1か月前
日本製紙クレシア株式会社
パンツ型紙おむつ
17日前
栗田工業株式会社
水・蒸気サイクル中の有機系溶存物質の除去方法
26日前
栗田工業株式会社
熱交換器内のかき取り板の移動装置及び熱交換器
26日前
栗田工業株式会社
純水製造システム、及び純水製造システムの運転方法
2か月前
栗田工業株式会社
ベルトコンベアの監視方法、粉体の搬送方法及びプログラム
1か月前
栗田工業株式会社
ベルトコンベアの監視方法、ベルトコンベアの制御方法及びプログラム
1か月前
栗田工業株式会社
混合イオン交換樹脂におけるアニオン交換樹脂とカチオン交換樹脂との分離方法
12日前
栗田工業株式会社
ベルトコンベアの監視方法、粉体の搬送方法、ベルトコンベアの監視システム及びプログラム
1か月前
個人
収容箱
4か月前
個人
束ね具
13日前
個人
コンベア
6か月前
個人
容器
10か月前
個人
段ボール箱
7か月前
個人
段ボール箱
8か月前
個人
ゴミ収集器
7か月前
続きを見る
他の特許を見る