TOP
|
特許
|
意匠
|
商標
特許ウォッチ
Twitter
他の特許を見る
公開番号
2025163961
公報種別
公開特許公報(A)
公開日
2025-10-30
出願番号
2024067635
出願日
2024-04-18
発明の名称
微生物発電装置および微生物発電方法
出願人
栗田工業株式会社
代理人
個人
,
個人
主分類
H01M
8/16 20060101AFI20251023BHJP(基本的電気素子)
要約
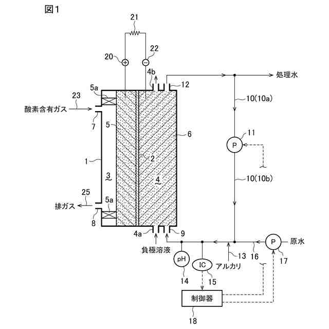
【課題】カソード室における重炭酸塩の析出が抑制される微生物発電装置および微生物発電方法を提供する。
【解決手段】微生物を保持し電子供与体である有機物を含む原水が供給されるアノード室と、該アノード室に対しイオン透過性を有した非導電性のナノポーラス又はサブナノポーラス膜を介して隔てられ、電子受容体として酸素含有ガスが供給されるカソード室とを備えた微生物発電装置において、アノード室流出水の一部を循環してアノード室に供給する循環流路を備えたことを特徴とする微生物発電装置。
【選択図】図1
特許請求の範囲
【請求項1】
微生物を保持し電子供与体である有機物を含む原水が供給されるアノード室と、
該アノード室に対しイオン透過性を有した非導電性のナノポーラス又はサブナノポーラス膜を介して隔てられ、電子受容体として酸素含有ガスが供給されるカソード室とを備えた微生物発電装置において、
アノード室流出水の一部を循環してアノード室に供給する循環流路を備えたことを特徴とする微生物発電装置。
続きを表示(約 840 文字)
【請求項2】
前記循環流路に原水を供給する原水供給手段と、アノード室流入水のpHを調整するpH調整手段とを有する請求項1記載の微生物発電装置。
【請求項3】
前記アノード室流入水の無機炭素濃度を100~2,000mg/Lに調整する無機炭素濃度調整手段を備えた請求項1~3のいずれかの微生物発電装置。
【請求項4】
前記無機炭素濃度調整手段は、前記アノード室流出水循環流路の流量と原水供給量との少なくとも一方を制御するものである請求項3の微生物発電装置。
【請求項5】
微生物を保持し電子供与体である有機物を含む原水が供給されるアノード室と、該アノード室に対しイオン透過性を有した非導電性のナノポーラス又はサブナノポーラス膜を介して隔てられ、電子受容体として酸素含有ガスが供給されるカソード室とを備えた微生物発電装置において、
原水に炭酸塩及び重炭酸塩の少なくとも一方を添加する添加手段を備えたことを特徴とする微生物発電装置。
【請求項6】
微生物を保持し電子供与体である有機物を含む原水が供給されるアノード室と、該アノード室に対しイオン透過性を有した非導電性のナノポーラス又はサブナノポーラス膜を介して隔てられ、電子受容体として酸素含有ガスが供給されるカソード室とを備えた微生物発電装置において、
前記アノード室流入水の無機炭素濃度を100~2,000mg/Lとすることを特徴とする微生物発電方法。
【請求項7】
原水に炭酸塩及び重炭酸塩の少なくとも一方を添加して前記無機炭素濃度を調整する請求項6の微生物発電方法。
【請求項8】
前記アノード室流出水の一部を循環してアノード室に供給する請求項6の微生物発電方法。
【請求項9】
前記アノード室に循環するアノード室流出水と原水を混合し、この混合水のpHを6~9に調整する請求項8の微生物発電方法。
発明の詳細な説明
【技術分野】
【0001】
本発明は、微生物発電装置および微生物発電方法に関する。本発明は特に、有機物を微生物に酸化分解させる際に得られる還元力を電気エネルギーとして取り出す微生物発電装置及び微生物発電方法に関する。
続きを表示(約 1,100 文字)
【背景技術】
【0002】
微生物発電装置は、微生物を保持し電子供与体である有機物を含む原水が供給されるアノード室と、該アノード室に対しイオン透過性を有した非導電性のナノポーラス又はサブナノポーラス膜を介して隔てられ、電子受容体として酸素含有ガスが供給されるカソード室とを備えている(特許文献1,2)。
【0003】
特許文献1には、アノード室とカソード室とを隔てる隔膜として、RO膜、またはNF膜のような孔径10nm以下又は50%以上の二価阻止率を有する膜を用いることが記載されている。かかる隔膜を用いることにより、カソードへの不純物の透過を抑えながら、プロトンの移動抵抗を増加させないことで、高い発電量が得られるようになる。
【0004】
特許文献2には、カソード室に供給する酸素含有ガスに炭酸ガスを、酸素に対し0.1~20%導入することが記載されている。このように炭酸ガスを添加することにより、高アルカリ性となるカソード室のpHを中和してアノード室からカソード室へのNa
+
、K
+
の移動を促進し、発電効率を向上させることができる。
【先行技術文献】
【特許文献】
【0005】
特表2019-504446号公報
特開2010-108778号公報
【発明の概要】
【発明が解決しようとする課題】
【0006】
カソード室にCO
2
を含んだガスを通気すると、カソード室にてNaHCO
3
やKHCO
3
などの溶解度が比較的低い重炭酸塩が析出し、酸素含有ガスの流路を塞ぐおそれがある。
【0007】
本発明は、カソード室における重炭酸塩の析出が抑制される微生物発電装置および微生物発電方法を提供することを課題とする。
【課題を解決するための手段】
【0008】
本発明の要旨は以下の通りである。
【0009】
[1] 微生物を保持し電子供与体である有機物を含む原水が供給されるアノード室と、
該アノード室に対しイオン透過性を有した非導電性のナノポーラス又はサブナノポーラス膜を介して隔てられ、電子受容体として酸素含有ガスが供給されるカソード室とを備えた微生物発電装置において、
アノード室流出水の一部を循環してアノード室に供給する循環流路を備えたことを特徴とする微生物発電装置。
【0010】
[2] 前記循環流路に原水を供給する原水供給手段と、アノード室流入水のpHを調整するpH調整手段とを有する[1]記載の微生物発電装置。
(【0011】以降は省略されています)
この特許をJ-PlatPat(特許庁公式サイト)で参照する
関連特許
栗田工業株式会社
排水回収装置
1か月前
栗田工業株式会社
ギ酸の回収方法
1か月前
栗田工業株式会社
ギ酸の回収方法
5日前
栗田工業株式会社
電気脱イオン装置
2か月前
栗田工業株式会社
電気イオン濃縮装置
1か月前
栗田工業株式会社
用水の水質予測方法
1か月前
栗田工業株式会社
畜糞造粒物の製造方法
1か月前
栗田工業株式会社
放射性廃液の処理方法
1か月前
栗田工業株式会社
生物処理水の利用方法
17日前
栗田工業株式会社
逆浸透膜装置の運転方法
20日前
栗田工業株式会社
有機物含有排水の処理方法
2か月前
栗田工業株式会社
有機性排水の生物処理方法
1か月前
栗田工業株式会社
リチウム含有物の濃縮方法
4日前
栗田工業株式会社
超純水製造装置の制御方法
1か月前
栗田工業株式会社
有機物含有水の脱泡処理装置
12日前
栗田工業株式会社
電気脱イオン装置の運転方法
1か月前
栗田工業株式会社
水質予測方法及び水質制御方法
1か月前
栗田工業株式会社
リチウム二次電池正極材の処理方法
4日前
栗田工業株式会社
管内面の洗浄用プラグ及び洗浄方法
1か月前
株式会社デンソー
液体分離システム
4日前
栗田工業株式会社
2段電気脱イオンシステムの運転方法
2か月前
栗田工業株式会社
微生物発電装置および微生物発電方法
25日前
栗田工業株式会社
超純水製造装置の立ち上げ時の洗浄方法
12日前
栗田工業株式会社
有機物含有排水からの水回収装置及び方法
1か月前
日本製紙クレシア株式会社
パンツ型紙おむつ
17日前
栗田工業株式会社
水・蒸気サイクル中の有機系溶存物質の除去方法
26日前
栗田工業株式会社
熱交換器内のかき取り板の移動装置及び熱交換器
26日前
栗田工業株式会社
純水製造システム、及び純水製造システムの運転方法
2か月前
栗田工業株式会社
推定システム、推定方法及びコンピュータープログラム
2か月前
栗田工業株式会社
ベルトコンベアの監視方法、粉体の搬送方法及びプログラム
1か月前
栗田工業株式会社
ベルトコンベアの監視方法、ベルトコンベアの制御方法及びプログラム
1か月前
栗田工業株式会社
混合イオン交換樹脂におけるアニオン交換樹脂とカチオン交換樹脂との分離方法
12日前
栗田工業株式会社
混合イオン交換樹脂の分離塔、およびこれを用いた混合イオン交換樹脂の分離方法
3か月前
栗田工業株式会社
ベルトコンベアの監視方法、粉体の搬送方法、ベルトコンベアの監視システム及びプログラム
1か月前
栗田工業株式会社
pH・酸化還元電位調整水の製造装置、pH・酸化還元電位調整水の製造方法および半導体装置の製造方法
2か月前
東ソー株式会社
絶縁電線
1か月前
続きを見る
他の特許を見る