TOP
|
特許
|
意匠
|
商標
特許ウォッチ
Twitter
他の特許を見る
公開番号
2025167803
公報種別
公開特許公報(A)
公開日
2025-11-07
出願番号
2024072727
出願日
2024-04-26
発明の名称
消化システム及び配管設置方法
出願人
メタウォーター株式会社
代理人
弁理士法人フィールズ国際特許事務所
主分類
C02F
11/04 20060101AFI20251030BHJP(水,廃水,下水または汚泥の処理)
要約
【課題】槽内の防食塗装の劣化を抑制する消化システム及び配管設置方法を提供する。
【解決手段】汚泥の消化を行う槽と、槽内の消化汚泥を槽外との間において循環する第1配管と、前記第1配管に対して余剰汚泥を供給する第2配管と、第2配管内の余剰汚泥を加熱する加熱器と、第1配管内における余剰汚泥の温度と第2配管内における余剰汚泥の温度とのうちの少なくともいずれかに基づいて、槽から第1配管に対する消化汚泥の供給を制御する制御装置と、を備える。
【選択図】図2
特許請求の範囲
【請求項1】
汚泥の消化を行う槽と、
前記槽内の消化汚泥を前記槽外との間において循環する第1配管と、
前記第1配管に対して余剰汚泥を供給する第2配管と、
前記第2配管内の前記余剰汚泥を加熱する加熱器と、
前記第1配管内における前記余剰汚泥の温度と前記第2配管内における前記余剰汚泥の温度とのうちの少なくともいずれかに基づいて、前記槽から前記第1配管に対する前記消化汚泥の供給を制御する制御装置と、を備える、消化システム。
続きを表示(約 1,000 文字)
【請求項2】
さらに、前記第1配管における前記第2配管との合流点と前記槽との間に設けられた測定装置を備え、
前記制御装置は、前記測定装置による前記第1配管内の前記余剰汚泥と前記消化汚泥とのうちの少なくともいずれかについての測定結果に基づいて、前記槽から前記第1配管に対する前記消化汚泥の供給を制御する、請求項1に記載の消化システム。
【請求項3】
前記制御装置は、前記測定装置によって測定された温度が閾値以上である場合、前記槽から前記第1配管に対する前記消化汚泥の供給量を増加させる、請求項2に記載の消化システム。
【請求項4】
汚泥の消化を行う槽と、
前記槽内に対して余剰汚泥と消化汚泥とのうちの少なくともいずれかを供給する第1配管と、
前記槽の天井部に設けられ、下端が前記槽の天井部から前記槽の底部に向けて延伸し、前記第1配管から供給された前記余剰汚泥と前記消化汚泥とのうちの少なくともいずれかを前記槽内に供給可能な供給部と、
前記供給部内に挿入され、下端が前記供給部の下端よりも低い位置まで延伸する第3配管と、を備え、
前記供給部と前記第3配管と前記第1配管とのそれぞれは、前記供給部の前記槽外の端部に設けられたフランジ部と、前記第3配管の前記槽外の端部に設けられたフランジ部と、前記第1配管の前記槽側の端部に設けられたフランジ部とのそれぞれが締結されることによって互いに固定される、消化システム。
【請求項5】
汚泥の消化を行う槽と、前記槽内に対して余剰汚泥と消化汚泥とのうちの少なくともいずれかを供給する第1配管と、を備える消化システムにおける配管設置方法であって、
前記槽の天井部には、前記槽の天井部から前記槽の底部に向けて延伸し、前記第1配管から供給された前記余剰汚泥と前記消化汚泥とのうちの少なくともいずれかを前記槽内に供給可能な供給部が設けられており、
前記供給部内に第3配管を挿入することによって、前記第3配管の下端を前記供給部の下端よりも低い位置まで延伸させ、
前記供給部の前記槽外の端部に設けられたフランジ部と、前記第3配管の前記槽外の端部に設けられたフランジ部と、前記第1配管の前記槽側の端部に設けられたフランジ部とのそれぞれを締結することによって、前記供給部と前記第3配管と前記第1配管とのそれぞれを互いに固定する、配管設置方法。
発明の詳細な説明
【技術分野】
【0001】
本開示は、消化システム及び配管設置方法に関する。
続きを表示(約 1,400 文字)
【背景技術】
【0002】
被処理物(例えば、初沈汚泥や余剰汚泥に含まれる有機物)を消化する槽(以下、消化槽とも呼ぶ)を有する消化システムにおいて、槽内の温度を適温に維持することにより、被処理物の効率的な消化を実現する技術が提案されている(特許文献1を参照)。
【先行技術文献】
【特許文献】
【0003】
特表2011―516246号公報
【発明の概要】
【発明が解決しようとする課題】
【0004】
上記のような消化システムでは、例えば、槽内の温度が適温になるように、加熱された状態の被処理物を槽内に供給する場合がある。そのため、上記のような消化システムでは、例えば、槽の内壁に施された防食塗装が加熱後の被処理物(高温の被処理物)との接触によって劣化(損傷)することの抑制が望まれている。
【課題を解決するための手段】
【0005】
本開示における消化システムは、汚泥の消化を行う槽と、前記槽内の消化汚泥を前記槽外との間において循環する第1配管と、前記第1配管に対して余剰汚泥を供給する第2配管と、前記第2配管内の前記余剰汚泥を加熱する加熱器と、前記第1配管内における前記余剰汚泥の温度と前記第2配管内における前記余剰汚泥の温度とのうちの少なくともいずれかに基づいて、前記槽から前記第1配管に対する前記消化汚泥の供給を制御する制御装置と、を備える。
【発明の効果】
【0006】
本開示における消化システム及び配管設置方法によれば、槽内の防食塗装の劣化を抑制することが可能になる。
【図面の簡単な説明】
【0007】
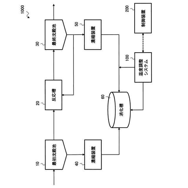
図1は、第1の実施の形態における処理システム1000の構成について説明する図である。
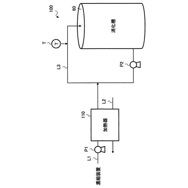
図2は、第1の実施の形態における温度調整システム100の構成について説明する図である。
図3は、第1の実施の形態における制御装置200のハードウエア構成を説明する図である。
図4は、第1の実施の形態における制御装置200の機能について説明する図である。
図5は、第1の実施の形態における温度制御処理を説明するフローチャート図である。
図6は、第2の実施の形態における処理システム2000の構成について説明する図である。
図7は、第2の実施の形態における処理システム2000の構成について説明する図である。
【発明を実施するための形態】
【0008】
以下、図面を参照して本開示の実施の形態について説明する。しかしながら、かかる説明は限定的な意味に解釈されるべきではなく、特許請求の範囲に記載の主題を限定するものではない。また、本開示の趣旨及び範囲から逸脱することがなく様々な変更や置換や改変をすることができる。また、異なる実施の形態を適宜組み合わせることができる。
【0009】
[第1の実施の形態における処理システム1000]
初めに、第1の実施の形態における処理システム1000について説明を行う。図1は、第1の実施の形態における処理システム1000の構成について説明する図である。
【0010】
本実施の形態における処理システム1000は、例えば、下水等の液体(以下、被処理水とも呼ぶ)の処理を行う水処理システムである。
(【0011】以降は省略されています)
この特許をJ-PlatPat(特許庁公式サイト)で参照する
関連特許
株式会社げんき
液体活性化装置
1か月前
新・産業洗浄株式会社
曝気装置
9日前
株式会社ライトアース
水循環式水質浄化システム
1か月前
名古屋メッキ工業株式会社
溶存金属析出装置
1か月前
栗田工業株式会社
電気イオン濃縮装置
1か月前
スタンレー電気株式会社
流体除菌装置
1か月前
スタンレー電気株式会社
流体除菌装置
3日前
栗田工業株式会社
逆浸透膜装置の運転方法
1か月前
オルガノ株式会社
UV照射装置
1か月前
有限会社フリーウェー
浄水装置
1か月前
WOTA株式会社
液性判定システム及び液性判定方法
1か月前
栗田工業株式会社
電気脱イオン装置の運転方法
1か月前
ジヤトコ株式会社
排水回収システム
17日前
大成建設株式会社
中和処理システムと中和処理方法
9日前
個人
海水の塩分除去装置と淡水製造方法
18日前
栗田工業株式会社
水処理拠点の状況診断支援システム
2日前
株式会社ジェイテクト
発酵装置
3日前
株式会社ヘルスカンパニー
浴用剤の使用方法
1か月前
竹鶴油業株式会社
残渣処理プラント及び成形物の製造方法
1か月前
株式会社クボタ
有機性廃棄物の処理方法
9日前
株式会社医道メディカル
水素及び水素溶解エクソソーム液発生装置
1か月前
三菱化工機株式会社
電界ろ過装置及び電界ろ過装置のろ材の製造方法
25日前
王子ホールディングス株式会社
排水処理方法
1か月前
株式会社大林組
汚泥処理施設及び汚泥処理方法
9日前
オルガノ株式会社
電気式脱イオン水製造システム及びその運用方法
9日前
東ソー株式会社
ニッケルと錯生成能力を持つ化合物を含有する水溶液の浄化方法
4日前
栗田工業株式会社
水・蒸気サイクル中の有機系溶存物質の除去方法
1か月前
株式会社セルマップ
油吸着用の吸着体、及び油吸着用の吸着体の製造方法
1か月前
WOTA株式会社
貯留槽及び水処理システム
2日前
キヤノン株式会社
液体中に溶存するガスの回収システム
1か月前
株式会社クボタ
浄水処理方法および原水評価方法
9日前
栗田工業株式会社
フッ化物イオン及びカチオン含有水の処理方法及び装置
4日前
荏原実業株式会社
防臭システム、防臭装置及び防臭方法
1か月前
株式会社タカギ
浄水カートリッジ
9日前
ガス・ウォーター株式会社
海水淡水化・塩分製造プラント
1か月前
株式会社パーカーコーポレーション
循環水処理用水溶液
9日前
続きを見る
他の特許を見る