TOP
|
特許
|
意匠
|
商標
特許ウォッチ
Twitter
他の特許を見る
公開番号
2025166367
公報種別
公開特許公報(A)
公開日
2025-11-06
出願番号
2024070342
出願日
2024-04-24
発明の名称
消化システム及び加熱制御方法
出願人
メタウォーター株式会社
代理人
弁理士法人フィールズ国際特許事務所
主分類
C02F
11/04 20060101AFI20251029BHJP(水,廃水,下水または汚泥の処理)
要約
【課題】槽内の温度を容易に制御する消化システム及び加熱制御方法を提供する。
【解決手段】汚泥の消化を行う槽と、余剰汚泥を前記槽に供給する第1配管と、第1配管内の余剰汚泥を第1流体によって加熱する第1加熱器と、第1配管に設けられ、第1加熱器を迂回する第1迂回配管と、第1流体を第1加熱器に供給する第2配管と、第2配管に設けられ、第1加熱器を迂回する第2迂回配管と、消化に係る温度に基づいて、第1迂回配管に対する余剰汚泥の供給と、第2迂回配管に対する第1流体の供給とのうちの少なくともいずれかを制御する制御装置と、を備える。
【選択図】図2
特許請求の範囲
【請求項1】
汚泥の消化を行う槽と、
余剰汚泥を前記槽に供給する第1配管と、
前記第1配管内の前記余剰汚泥を第1流体によって加熱する第1加熱器と、
前記第1配管に設けられ、前記第1加熱器を迂回する第1迂回配管と、
前記第1流体を前記第1加熱器に供給する第2配管と、
前記第2配管に設けられ、前記第1加熱器を迂回する第2迂回配管と、
前記消化に係る温度に基づいて、前記第1迂回配管に対する前記余剰汚泥の供給と、前記第2迂回配管に対する前記第1流体の供給とのうちの少なくともいずれかを制御する制御装置と、を備える、消化システム。
続きを表示(約 750 文字)
【請求項2】
さらに、初沈汚泥を前記槽に供給する第3配管と、
前記第3配管内の前記初沈汚泥を第2流体によって加熱する第2加熱器と、
前記第3配管に設けられ、前記第2加熱器を迂回する第3迂回配管と、
前記第2流体を前記第2加熱器に供給する第4配管と、
前記第4配管に設けられ、前記第2加熱器を迂回する第4迂回配管と、を備え、
前記制御装置は、前記消化に係る温度に基づいて、前記第3迂回配管に対する前記初沈汚泥の供給と、前記第4迂回配管に対する前記第2流体の供給とのうちの少なくともいずれかを制御する、請求項1に記載の消化システム。
【請求項3】
さらに、前記第1加熱器によって加熱された前記余剰汚泥と前記第2加熱器によって加熱された前記初沈汚泥とのうちの少なくともいずれかの汚泥を第3流体によって冷却する冷却器を備え、
前記制御装置は、前記消化に係る温度に基づいて、前記冷却器による前記少なくともいずれかの汚泥の冷却を制御する、請求項2に記載の消化システム。
【請求項4】
汚泥の消化を行う槽と、余剰汚泥を前記槽に供給する第1配管と、前記第1配管内の前記余剰汚泥を第1流体によって加熱する第1加熱器と、前記第1配管に設けられ、前記第1加熱器を迂回する第1迂回配管と、前記第1流体を前記第1加熱器に供給する第2配管と、前記第2配管に設けられ、前記第1加熱器を迂回する第2迂回配管と、を備える消化システムにおける加熱制御方法であって、
前記消化に係る温度に基づいて、前記第1迂回配管に対する前記余剰汚泥の供給と、前記第2迂回配管に対する前記第1流体の供給とのうちの少なくともいずれかを制御する、加熱制御方法。
発明の詳細な説明
【技術分野】
【0001】
本開示は、消化システム及び加熱制御方法に関する。
続きを表示(約 1,400 文字)
【背景技術】
【0002】
被処理物(例えば、初沈汚泥や余剰汚泥に含まれる有機物)を消化する槽(以下、消化槽とも呼ぶ)を有する消化システムにおいて、槽内の温度を適温に維持することにより、被処理物の効率的な消化を実現する技術が提案されている(特許文献1を参照)。
【先行技術文献】
【特許文献】
【0003】
特表2011―516246号公報
【発明の概要】
【発明が解決しようとする課題】
【0004】
上記のような消化システムでは、例えば、槽内の温度が適温に維持されるように、槽内の温度を容易に制御することが望まれている。
【課題を解決するための手段】
【0005】
本開示における消化システムは、汚泥の消化を行う槽と、前記余剰汚泥を前記槽に供給する第1配管と、前記第1配管内の前記余剰汚泥を第1流体によって加熱する第1加熱器と、前記第1配管に設けられ、前記第1加熱器を迂回する第1迂回配管と、前記第1流体を前記第1加熱器に供給する第2配管と、前記第2配管に設けられ、前記第1加熱器を迂回する第2迂回配管と、前記消化に係る温度に基づいて、前記第1迂回配管に対する前記余剰汚泥の供給と、前記第2迂回配管に対する前記第1流体の供給とのうちの少なくともいずれかを制御する制御装置と、を備える。
【発明の効果】
【0006】
本開示における消化システム及び加熱制御方法によれば、槽内の温度を容易に制御することが可能になる。
【図面の簡単な説明】
【0007】
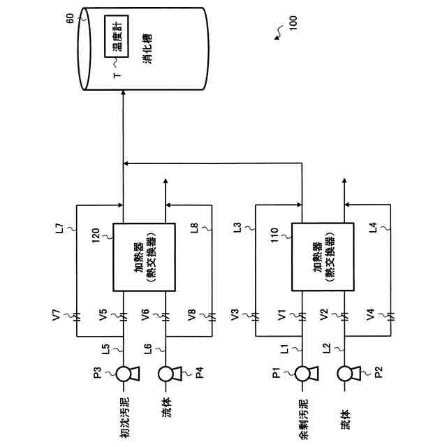
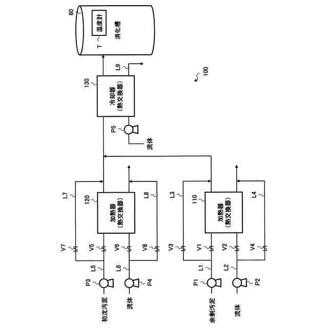
図1は、第1の実施の形態における処理システム1000の構成について説明する図である。
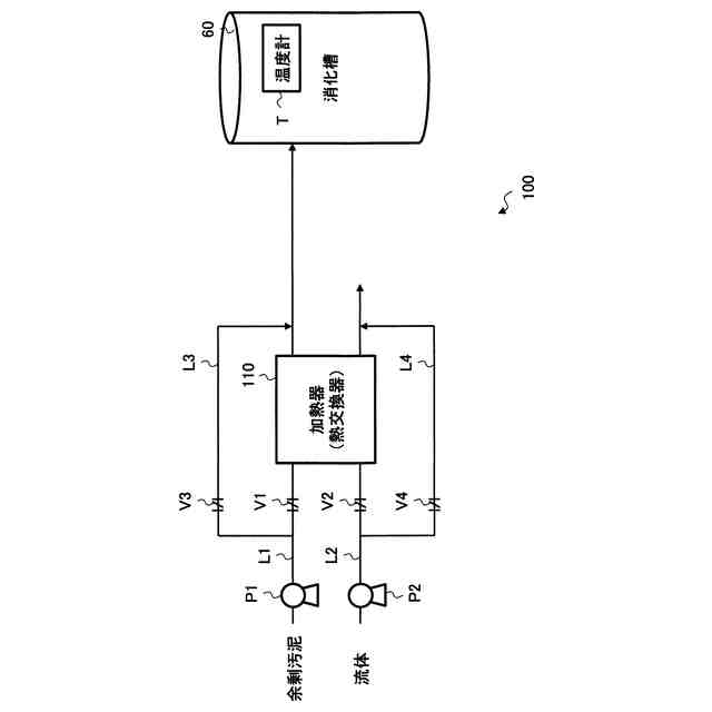
図2は、第1の実施の形態における温度調整システム100の構成について説明する図である。
図3は、第1の実施の形態における制御装置200のハードウエア構成を説明する図である。
図4は、第1の実施の形態における制御装置200の機能について説明する図である。
図5は、第1の実施の形態における温度制御処理を説明するフローチャート図である。
図6は、第1の変形例における温度調整システム100の構成について説明する図である。
図7は、第2の変形例における温度調整システム100の構成について説明する図である。
図8は、第3の変形例における温度調整システム100の構成について説明する図である。
【発明を実施するための形態】
【0008】
以下、図面を参照して本開示の実施の形態について説明する。しかしながら、かかる説明は限定的な意味に解釈されるべきではなく、特許請求の範囲に記載の主題を限定するものではない。また、本開示の趣旨及び範囲から逸脱することがなく様々な変更や置換や改変をすることができる。また、異なる実施の形態を適宜組み合わせることができる。
【0009】
[第1の実施の形態における処理システム1000]
初めに、第1の実施の形態における処理システム1000について説明を行う。図1は、第1の実施の形態における処理システム1000の構成について説明する図である。
【0010】
本実施の形態における処理システム1000は、例えば、下水等の液体(以下、被処理水とも呼ぶ)の処理を行う水処理システムである。
(【0011】以降は省略されています)
この特許をJ-PlatPat(特許庁公式サイト)で参照する
関連特許
株式会社げんき
液体活性化装置
25日前
新・産業洗浄株式会社
曝気装置
1日前
株式会社ウィズアクア
水質浄化装置
1か月前
三浦工業株式会社
汚泥乾燥加熱釜
1か月前
株式会社ライトアース
水循環式水質浄化システム
1か月前
スタンレー電気株式会社
流体除菌装置
1か月前
名古屋メッキ工業株式会社
溶存金属析出装置
1か月前
栗田工業株式会社
電気イオン濃縮装置
1か月前
三浦工業株式会社
精製水供給システム
1か月前
栗田工業株式会社
逆浸透膜装置の運転方法
25日前
栗田工業株式会社
超純水製造装置の制御方法
1か月前
オルガノ株式会社
UV照射装置
24日前
有限会社フリーウェー
浄水装置
24日前
株式会社神鋼環境ソリューション
貯留槽
1か月前
栗田工業株式会社
電気脱イオン装置の運転方法
1か月前
WOTA株式会社
液性判定システム及び液性判定方法
1か月前
パナソニックIPマネジメント株式会社
軟水化装置
1か月前
ジヤトコ株式会社
排水回収システム
9日前
パナソニックIPマネジメント株式会社
軟水化装置
1か月前
大成建設株式会社
中和処理システムと中和処理方法
1日前
個人
海水の塩分除去装置と淡水製造方法
10日前
パナソニックIPマネジメント株式会社
電解水生成装置
1か月前
三浦工業株式会社
汚泥減容システム
1か月前
竹鶴油業株式会社
残渣処理プラント及び成形物の製造方法
24日前
株式会社クボタ
有機性廃棄物の処理方法
1日前
株式会社ヘルスカンパニー
浴用剤の使用方法
1か月前
有限会社エコルネサンス・エンテック
環境負荷の低減化を図る方法
1か月前
株式会社医道メディカル
水素及び水素溶解エクソソーム液発生装置
23日前
三菱化工機株式会社
電界ろ過装置及び電界ろ過装置のろ材の製造方法
17日前
王子ホールディングス株式会社
排水処理方法
1か月前
株式会社セルマップ
油吸着用の吸着体、及び油吸着用の吸着体の製造方法
1か月前
栗田工業株式会社
水・蒸気サイクル中の有機系溶存物質の除去方法
1か月前
オルガノ株式会社
電気式脱イオン水製造システム及びその運用方法
1日前
Daigasエナジー株式会社
廃液処理装置および運転方法
1か月前
株式会社大林組
汚泥処理施設及び汚泥処理方法
1日前
オルガノ株式会社
水処理装置および水処理方法
1か月前
続きを見る
他の特許を見る