TOP
|
特許
|
意匠
|
商標
特許ウォッチ
Twitter
他の特許を見る
公開番号
2025167389
公報種別
公開特許公報(A)
公開日
2025-11-07
出願番号
2024071941
出願日
2024-04-25
発明の名称
不純物の検出方法、検査プレート及び検出装置
出願人
オルガノ株式会社
,
独立行政法人国立高等専門学校機構
代理人
個人
,
個人
主分類
G01N
27/02 20060101AFI20251030BHJP(測定;試験)
要約
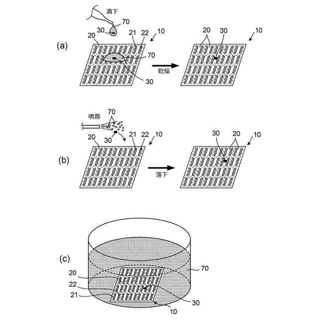
【課題】液体に含まれる微粒子や微粒子前駆体などの微量の不純物を短時間で検出する。
【解決手段】基板11と基板11の表面に形成された複数の検出領域20とを有し、検出領域20の各々が基板11の表面に形成された第1の電極21と第1の電極21から離隔して基板11の表面に形成された第2の電極22とから構成されている検査プレートを使用する。液体を滴下するなどして検査プレート10の表面に液体を接触させ不純物30が付着するようにして、検出領域20ごとに第1の電極21と第2の電極22との間に交流電圧を印加してインピーダンス測定を行うことにより、不純物30が存在する検出領域20を特定して不純物30の検出を行う。
【選択図】図1
特許請求の範囲
【請求項1】
液体に含まれる不純物を検出する検出方法であって、
基板と前記基板の表面に形成された複数の検出領域とを有し、前記検出領域の各々が前記基板の表面に形成された第1の電極と前記第1の電極から離隔して前記基板の前記表面に形成された第2の電極とから構成されている検査プレートを使用し、
前記検出領域ごとに前記第1の電極と前記第2の電極との間に交流電圧を印加してインピーダンス測定を行うことにより、不純物が存在する前記検出領域を特定して前記不純物の検出を行う、検出方法。
続きを表示(約 890 文字)
【請求項2】
前記検査プレートの表面に前記液体を接触させながら前記不純物の検出を行う、請求項1に記載の検出方法。
【請求項3】
前記検査プレートの表面に前記液体を接触させたのち前記液体を気化させてから前記不純物の検出を行う、請求項1に記載の検出方法。
【請求項4】
前記液体を噴霧することによって気化させ、残留した前記不純物を前記検査プレートの表面に捕捉してから前記不純物の検出を行う、請求項1に記載の検出方法。
【請求項5】
前記検査プレートにおいて前記複数の検出領域がマトリクスを構成して配置しており、
前記マトリクスにおける行と列とを順次選択して前記マトリクス内の複数の検出領域を1つずつ選択して前記インピーダンス測定を行うことにより、不純物が存在する前記検出領域を特定する。請求項1乃至4のいずれか1項に記載の検出方法。
【請求項6】
前記交流電圧の周波数を変えながら前記インピーダンス測定を行う、請求項1乃至4のいずれか1項に記載の検出方法。
【請求項7】
液体に含まれる不純物を検出する際に用いられる検査プレートであって、
基板と、
前記基板の表面に形成された複数の検出領域と、
を有し、
前記検出領域の各々は、前記基板の表面に形成された第1の電極と、前記第1の電極から離隔して前記基板の前記表面に形成された第2の電極とから構成されている、検査プレート。
【請求項8】
前記基板の表面に前記複数の検出領域がマトリクスを構成して配置している、請求項7に記載の検査プレート。
【請求項9】
前記第1の電極に接続する配線と前記第2の電極に接続する配線とが前記基板に埋め込まれている、請求項7または8に記載の検査プレート。
【請求項10】
前記基板の表面において列方向に並ぶ複数の前記検出領域に対して共通に前記第2の電極が設けられている、請求項8に記載の検査プレート。
(【請求項11】以降は省略されています)
発明の詳細な説明
【技術分野】
【0001】
本発明は、液体に含まれる不純物の検出に関し、特に、不純物の検出方法とこの方法の実施に用いられる検査プレート及び検出装置に関する。
続きを表示(約 3,000 文字)
【背景技術】
【0002】
半導体装置の製造や医薬品の製造などにおいては、例えば、超純水や、イソプロピルアルコールなどの有機溶媒、さらには各種の酸や塩基の水溶液などの液体が使用される。これらの液体では不純物量を大きく低減することが求められるとともに、不純物の性状や量についても管理することが求められる。例えば半導体装置の製造において半導体ウエハの洗浄に超純水が用いられ、この超純水に含まれる微粒子は、半導体製品の歩留まりに直接的な影響を与える。そこで半導体ウエハの洗浄に用いられる超純水では、その超純水に含まれる微粒子に関し、粒径と濃度の双方について厳しい管理が要求されている。一例として、微粒子の濃度、すなわち単位体積の超純水に含まれる微粒子の個数を規定値以下に制御することが求められる。また超純水などの溶媒中に溶解しているがその溶媒を蒸発させたときに微粒子として析出して残留する成分すなわち微粒子前駆体(PP:Particle Precursor)についてもその濃度を管理する必要がある。
【0003】
超純水中の微粒子を検出する方法として、レーザー光を照射して微粒子による散乱光を検出する光散乱法が知られており、液体中の微粒子数を検出するパーティクルカウンタ(微粒子計測器)として実用化されている。光散乱法によれば、粒径が例えば20nm程度以上の微粒子をオンラインで検出することができる。また、水は通すが微粒子は通さない膜をろ過膜とする遠心ろ過によって超純水中の微粒水をろ過膜上に捕捉し、光学顕微鏡またはSEM(走査型電子顕微鏡)によってろ過膜表面を観察することにより、微粒子を検出する直接検鏡法がある。直接検鏡法では、粒径が例えば10nm程度以上の微粒子を検出できてその微粒子数とろ過膜の透過水量から超純水における微粒子濃度を算出でき、SEMを用いる場合には特性X線を検出することによって微粒子の元素組成を求めることもできる。液体中の微粒子前駆体は光を散乱せず、また、微粒子前駆体はろ過膜を透過するので、光散乱法や直接検鏡法によっては微粒子前駆体の濃度を求めることができない。微粒子前駆体も検出できる方法としては、計測対象の液体(超純水など)を気中に噴霧して気化させ、気化せずに浮遊している微粒子を計数する噴霧乾燥法がある。噴霧乾燥法によれば、微粒子の計数に凝縮パーティクルカウンタ(CPC)を用いることにより、例えば粒径が3nm程度以上の微粒子を検出でき、微粒子前駆体も気化時に微粒子として残存するので検出することができる。このような噴霧乾燥法では、オンラインでの微粒子計数が可能である。噴霧乾燥法の別の例として、計測対象の液体をウエハなどの固体表面に噴霧して気化させ、固体表面に残存する微粒子を光学顕微鏡やSEMで検出する方法もある。
【0004】
シリコン半導体ウエハのなどの表面に存在する微粒子を検出する方法としては、上述したようにSEMによって観察する方法があり、この方法によれば、ウエハ上の例えば粒径が数nm程度の微粒子について、ウエハ上でのその微粒子の位置を知ることができ、SEM観察時に発生する特性X線を検出することによって、微粒子ごとにその微粒子を構成する元素を調べることができる。またウエハ表面を光で走査し、反射光あるいは散乱光を検出して微粒子の存在位置や存在密度を求める方法もあり、粒径が十数nm以上の微粒子を検出することができる。ウエハ表面をレーザー光で走査し、表面増強ラマン効果によるラマン光を検出することによって、ウエハ表面に存在する粒径が数nm以上の微粒子を検出しその組成を知ることができる。
【0005】
ところで、液体中あるいは固体表面に微粒子が存在すると、その微粒子は固有の誘電率を有するから、その微粒子の近傍に配置されている電極においてインピーダンス測定を行って得られる静電容量値が変化する。特に微粒子の複素誘電率とその周波数依存性は、微粒子の種類や組成に応じて決定するから、複素インピーダンス測定を行って周波数変化を解析することによって、微粒子の種類や組成などを評価することができる。このようなインピーダンス測定を行って微粒子を検出する方法では、液体を挟んで1対の電極を配置して電極間に交流電圧を印加して電極間の複素インピーダンスの測定を実行する。インピーダンス測定に基づく方法は、例えば、液体に分散している生物細胞の識別などに使用されており、生物細胞の識別に用いられる場合には、誘電サイトメトリーと呼ばれる。
【0006】
特許文献1は、複素インピーダンス測定により溶液中の試料の物性、特に生物細胞の物性を精度よく測定するために、溶液を収容する溶液槽の底面にアレイ状(マトリクス状)に複数の第1の電極を配置し、溶液に浸るように第2の電極を配置し、第1の電極において溶液槽に露出している部分の表面積を0.1μm
2
以上100μm
2
以下として、誘電率変化による溶液中の試料を検出を行うことを開示している。この方法によれば、第1の電極の近傍に存在する試料の物性を測定することができる。特許文献2も、基板表面に複数の容量センサ素子をマトリクス状に配置するともに基板表面に向き合うように対向電極を配置し、容量センサ電極の近傍に細胞が存在するときにその容量センサ電極について観測される静電容量値の変化から細胞を検出し、どれだけの範囲の容量センサ素子において静電容量値の変化が観測されたかに基づいて細胞の大きさを検出することを開示している。
【0007】
特許文献3は、液体などの被測定物に起因する静電容量値の変化を非接触で測定するシステムとして、基材の両方の面にそれぞれ電極が設けられて静電容量を形成するセンサ部と、被測定物を配置する容器とによって静電容量型センサを構成したシステムを開示している。静電容量型センサは、容器に被測定物を配置した状態において一方の電極が容器に近接するようにして容器を隔てて被測定物とは接触しないように配置され、この状態においてセンサの静電容量値が測定される。
【先行技術文献】
【特許文献】
【0008】
国際公開第2019/240202号
国際公開第2020/059355号
特開2019-117070号公報
【発明の概要】
【発明が解決しようとする課題】
【0009】
液体に含まれる微粒子などの不純物を検出する方法のうち、光散乱法や直接検鏡法では、気化や乾燥後に微粒子となる微粒子前駆体を検出することができない。また、ウエハなどの固体表面を光学顕微鏡やSEMによって観察してその固体表面に存在する微粒子を検出する場合には、検出対象の微粒子の粒径が小さいときに観察倍率を大きくする必要があって固体表面を走査するために必要な時間が長くなり、その分、微粒子数の決定に要する時間が長くなる。
【0010】
本発明の目的は、液体に含まれる微粒子などの微量の不純物を短時間で検出することができる検出方法と、この検出方法の実施に用いられる検査プレート及び検出装置を提供することにある。
【課題を解決するための手段】
(【0011】以降は省略されています)
この特許をJ-PlatPat(特許庁公式サイト)で参照する
関連特許
オルガノ株式会社
UV照射装置
1か月前
オルガノ株式会社
薬液精製システム
2か月前
オルガノ株式会社
水処理装置および水処理方法
2か月前
オルガノ株式会社
水処理装置および水処理方法
2か月前
オルガノ株式会社
ろ過膜の洗浄方法及び洗浄装置
28日前
オルガノ株式会社
尿素処理装置および尿素処理方法
2か月前
オルガノ株式会社
水処理システムおよびその運転方法
2か月前
オルガノ株式会社
気体の処理方法および気体の処理装置
1か月前
オルガノ株式会社
タンパク質洗浄剤およびタンパク質洗浄方法
1か月前
オルガノ株式会社
情報処理装置、判定方法および水処理システム
2か月前
オルガノ株式会社
不純物の検出方法、検査プレート及び検出装置
1か月前
オルガノ株式会社
電気式脱イオン水製造システム及びその運用方法
12日前
オルガノ株式会社
電池収容体、電池モジュール、および電池パック
1か月前
オルガノ株式会社
電池収容体、電池モジュール、および電池パック
2か月前
オルガノ株式会社
水処理設備、制御装置、運転方法およびプログラム
2か月前
オルガノ株式会社
純水の水質分析方法及び純水製造システムの運転方法
今日
オルガノ株式会社
水処理システム
20日前
オルガノ株式会社
水処理装置、溶存ガス測定装置の設置方法、および溶存ガス測定方法
26日前
オルガノ株式会社
イオン交換体を有する組立体及びその製造方法、並びにイオン交換装置
12日前
オルガノ株式会社
純水製造システムおよび純水製造方法
20日前
オルガノ株式会社
強酸性カチオン交換樹脂の製造方法および製造設備、ならびに該強酸性カチオン交換樹脂の再利用方法
1か月前
オルガノ株式会社
強塩基性アニオン交換樹脂の製造方法および製造設備、ならびに該強塩基性アニオン交換樹脂の再利用方法
1か月前
株式会社イシダ
表示装置
今日
個人
視触覚センサ
5日前
日本精機株式会社
検出装置
1か月前
個人
採尿及び採便具
1か月前
個人
高精度同時多点測定装置
1か月前
個人
アクセサリー型テスター
1か月前
個人
計量機能付き容器
1か月前
愛知電機株式会社
外観検査方法
1日前
愛知電機株式会社
外観検査装置
1日前
甲神電機株式会社
電流検出装置
1か月前
日本精機株式会社
発光表示装置
13日前
株式会社カクマル
境界杭
20日前
株式会社ミツトヨ
測定器
1か月前
日本精機株式会社
液面検出装置
今日
続きを見る
他の特許を見る