TOP
|
特許
|
意匠
|
商標
特許ウォッチ
Twitter
他の特許を見る
10個以上の画像は省略されています。
公開番号
2025148942
公報種別
公開特許公報(A)
公開日
2025-10-08
出願番号
2024049326
出願日
2024-03-26
発明の名称
水処理設備、制御装置、運転方法およびプログラム
出願人
オルガノ株式会社
代理人
個人
,
個人
主分類
C02F
1/00 20230101AFI20251001BHJP(水,廃水,下水または汚泥の処理)
要約
【課題】処理水の水質を低下させることなく、処理水の供給量の細かな調整を行う。
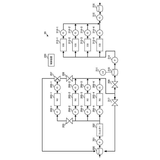
【解決手段】互いに並列に配置された水処理装置205-1~205-4と、水処理装置水処理装置205-1~205-4それぞれに被処理水をそれぞれ供給するポンプ204-1~204-4と、水処理装置205-1~205-4それぞれから流出される処理水の流量が、水処理装置205-1~205-4から供給先へ供給される処理水の量に応じた必要流量となるように、ポンプ204-1~204-4と水処理装置205-1~205-4の運転とを制御する制御装置220とを有する。
【選択図】図2
特許請求の範囲
【請求項1】
互いに並列に配置された複数の水処理装置と、
前記複数の水処理装置それぞれに被処理水をそれぞれ供給する複数のポンプと、
前記複数の水処理装置それぞれから流出される処理水の流量が、前記複数の水処理装置から供給先へ供給される処理水の量に応じた必要流量となるように、前記複数のポンプと前記複数の水処理装置の運転とを制御する制御装置とを有する水処理設備。
続きを表示(約 1,500 文字)
【請求項2】
請求項1に記載の水処理設備において、
前記複数の水処理装置それぞれから前記供給先へ供給される処理水を貯留する水槽と、
前記水槽に貯留されている前記処理水の水位を測定する水位計とを有し、
前記制御装置は、前記水位計が測定した水位に基づいて、前記必要流量を算出する水処理設備。
【請求項3】
請求項1または請求項2に記載の水処理設備において、
前記制御装置は、前記必要流量が第1の閾値を下回る場合、前記複数の水処理装置の少なくとも1つの水処理装置の運転を停止させる水処理設備。
【請求項4】
請求項3に記載の水処理設備において、
前記制御装置は、前記複数の水処理装置の少なくとも1つの水処理装置の運転を停止させた後、前記必要流量が前記第1の閾値よりも大きな値である第2の閾値以上となる場合、該水処理装置の運転を再開させる水処理設備。
【請求項5】
請求項4に記載の水処理設備において、
前記制御装置は、前記複数の水処理装置の少なくとも1つの水処理装置の運転を停止させた後、該水処理装置の運転を再開させても前記必要流量が前記第1の閾値以上となる場合、該水処理装置の運転を再開させる水処理設備。
【請求項6】
請求項4に記載の水処理設備において、
前記制御装置は、前記複数の水処理装置の少なくとも1つの水処理装置の運転を停止させる前に、該運転を停止させる水処理装置以外の水処理装置への前記複数のポンプからの供給量を増加させる水処理設備。
【請求項7】
請求項1または請求項2に記載の水処理設備において、
前記複数の水処理装置は、流量の減少とともに処理水の水質が低下する逆浸透膜分離装置または電気式脱イオン水製造装置である水処理設備。
【請求項8】
請求項7に記載の水処理装置において、
前記制御装置は、前記逆浸透膜分離装置または前記電気式脱イオン水製造装置への通水を開始させ、前記必要流量が第1の閾値を下回る場合、前記逆浸透膜分離装置または前記電気式脱イオン水製造装置の少なくとも1つの水処理装置の運転を停止させ、前記逆浸透膜分離装置または前記電気式脱イオン水製造装置の少なくとも1つの逆浸透膜分離装置または電気式脱イオン水製造装置の運転を停止させた後、前記必要流量が前記第1の閾値よりも大きな値である第2の閾値以上となる場合、該停止させた逆浸透膜分離装置または電気式脱イオン水製造装置の運転を再開させる水処理設備。
【請求項9】
請求項1または請求項2に記載の水処理設備において、
前記複数のポンプよりも上流に設けられた水槽と、
前記複数の水処理装置それぞれから流出される処理水を前記水槽へ戻す経路に設けられた開閉バルブとを有し、
前記制御装置は、前記開閉バルブの開閉または開度を制御して、前記複数の水処理装置それぞれから流出される処理水の少なくとも一部を前記水槽へ戻す水処理設備。
【請求項10】
互いに並列に配置された複数の水処理装置それぞれから流出される処理水の流量をそれぞれ示す複数の流量値を取得する取得部と、
前記取得部が取得した前記複数の流量値が示す流量が、前記複数の水処理装置から供給先へ供給される処理水の量に応じた必要流量となるように、前記複数の水処理装置それぞれに被処理水をそれぞれ供給する複数のポンプと前記複数の水処理装置の運転とを制御する制御部とを有する制御装置。
(【請求項11】以降は省略されています)
発明の詳細な説明
【技術分野】
【0001】
本発明は、水処理設備、制御装置、運転方法およびプログラムに関する。
続きを表示(約 1,700 文字)
【背景技術】
【0002】
水処理システムが処理した処理水を使用するユースポイントには、当該ユースポイントで必要な使用量の処理水が供給される。ユースポイントで必要な処理水の使用量は固定量ではない。そのため、使用量に応じた量の処理水を供給するように水処理システムが設計される。例えば、処理水である精製水の消費量に応じて、精製水を精製するROモジュールへ原水を供給するための供給ポンプの吐出量を制御する技術が開示されている(例えば、特許文献1参照。)。また、互いに並列に配置された2つの逆浸透膜モジュールを用いて純水を得る装置であって、純水の使用量に応じて、一方の逆浸透膜モジュールの運転を停止させる装置が開示されている(例えば、特許文献2参照。)。
【先行技術文献】
【特許文献】
【0003】
特開平11-104639号公報
特開2012-187446号公報
【発明の概要】
【発明が解決しようとする課題】
【0004】
一般的に、流量が少ないほど処理水の水質が低くなる逆浸透膜モジュール等の水処理装置においては、処理水の使用量が少ない場合に特許文献1に記載された技術を用いた制御を行うと、供給される処理水の水質が低下してしまうという問題点がある。また、特許文献2に記載されたように、処理を行うモジュールの数を制御する場合、細かな流量調整を行うことが困難であるという問題点がある。
【0005】
本発明の目的は、処理水の水質を低下させることなく、処理水の供給量の細かな調整を行うことができる水処理設備、制御装置、運転方法およびプログラムを提供することである。
【課題を解決するための手段】
【0006】
本発明の水処理設備は、
互いに並列に配置された複数の水処理装置と、
前記複数の水処理装置それぞれに被処理水をそれぞれ供給する複数のポンプと、
前記複数の水処理装置それぞれから流出される処理水の流量が、前記複数の水処理装置から供給先へ供給される処理水の量に応じた必要流量となるように、前記複数のポンプと前記複数の水処理装置の運転とを制御する制御装置とを有する。
【0007】
また、本発明の制御装置は、
互いに並列に配置された複数の水処理装置それぞれから流出される処理水の流量をそれぞれ示す複数の流量値を取得する取得部と、
前記取得部が取得した前記複数の流量値が示す流量が、前記複数の水処理装置から供給先へ供給される処理水の量に応じた必要流量となるように、前記複数の水処理装置それぞれに被処理水をそれぞれ供給する複数のポンプと前記複数の水処理装置の運転とを制御する制御部とを有する。
【0008】
また、本発明の運転方法は、
互いに並列に配置された複数の水処理装置それぞれから流出される処理水の流量をそれぞれ示す複数の流量値を取得する処理と、
前記複数の流量値が示す流量が、前記複数の水処理装置から供給先へ供給される処理水の量に応じた必要流量となるように、前記複数の水処理装置それぞれに被処理水をそれぞれ供給する複数のポンプと前記複数の水処理装置の運転とを制御する処理とを行う。
【0009】
また、本発明のプログラムは、
コンピュータに、
互いに並列に配置された複数の水処理装置それぞれから流出される処理水の流量をそれぞれ示す複数の流量値を取得する手順と、
前記複数の流量値が示す流量が、前記複数の水処理装置から供給先へ供給される処理水の量に応じた必要流量となるように、前記複数の水処理装置それぞれに被処理水をそれぞれ供給する複数のポンプと前記複数の水処理装置の運転とを制御する手順とを実行させる。
【発明の効果】
【0010】
本発明においては、処理水の水質を低下させることなく、処理水の供給量の細かな調整を行うことができる。
【図面の簡単な説明】
(【0011】以降は省略されています)
この特許をJ-PlatPat(特許庁公式サイト)で参照する
関連特許
オルガノ株式会社
UV照射装置
4日前
オルガノ株式会社
薬液精製システム
1か月前
オルガノ株式会社
水処理装置および水処理方法
1か月前
オルガノ株式会社
水処理装置および水処理方法
1か月前
オルガノ株式会社
尿素処理装置および尿素処理方法
1か月前
オルガノ株式会社
水処理システムおよびその運転方法
1か月前
オルガノ株式会社
気体の処理方法および気体の処理装置
12日前
オルガノ株式会社
冷却水系制御方法および冷却水系制御装置
1か月前
オルガノ株式会社
タンパク質洗浄剤およびタンパク質洗浄方法
25日前
オルガノ株式会社
不純物の検出方法、検査プレート及び検出装置
2日前
オルガノ株式会社
情報処理装置、判定方法および水処理システム
1か月前
オルガノ株式会社
電池収容体、電池モジュール、および電池パック
5日前
オルガノ株式会社
電池収容体、電池モジュール、および電池パック
1か月前
オルガノ株式会社
水処理設備、制御装置、運転方法およびプログラム
1か月前
オルガノ株式会社
冷却水系の薬注制御方法および冷却水系の薬注制御装置
1か月前
オルガノ株式会社
純水製造システム、回収処理水供給装置および純水製造方法
1か月前
オルガノ株式会社
強酸性カチオン交換樹脂の製造方法および製造設備、ならびに該強酸性カチオン交換樹脂の再利用方法
25日前
オルガノ株式会社
強塩基性アニオン交換樹脂の製造方法および製造設備、ならびに該強塩基性アニオン交換樹脂の再利用方法
25日前
株式会社げんき
液体活性化装置
5日前
株式会社ウィズアクア
水質浄化装置
26日前
栗田工業株式会社
排水回収装置
1か月前
三浦工業株式会社
汚泥乾燥加熱釜
18日前
株式会社ライトアース
水循環式水質浄化システム
12日前
栗田工業株式会社
電気イオン濃縮装置
16日前
スタンレー電気株式会社
流体除菌装置
10日前
三浦工業株式会社
精製水供給システム
18日前
名古屋メッキ工業株式会社
溶存金属析出装置
16日前
栗田工業株式会社
用水の水質予測方法
1か月前
栗田工業株式会社
逆浸透膜装置の運転方法
5日前
栗田工業株式会社
超純水製造装置の制御方法
26日前
オルガノ株式会社
UV照射装置
4日前
株式会社神鋼環境ソリューション
貯留槽
1か月前
栗田工業株式会社
電気脱イオン装置の運転方法
17日前
有限会社フリーウェー
浄水装置
4日前
WOTA株式会社
液性判定システム及び液性判定方法
16日前
栗田工業株式会社
水質予測方法及び水質制御方法
1か月前
続きを見る
他の特許を見る