TOP
|
特許
|
意匠
|
商標
特許ウォッチ
Twitter
他の特許を見る
10個以上の画像は省略されています。
公開番号
2025177295
公報種別
公開特許公報(A)
公開日
2025-12-05
出願番号
2024083970
出願日
2024-05-23
発明の名称
空気清浄化装置のフィルタ保持装置
出願人
株式会社ダルトン
代理人
個人
主分類
B01D
46/10 20060101AFI20251128BHJP(物理的または化学的方法または装置一般)
要約
【課題】部品点数を減じ、組立てや分解操作を容易に行うことができる簡潔な構造を備えた空気清浄化装置に用いて好適なフィルタ保持装置を提供する。
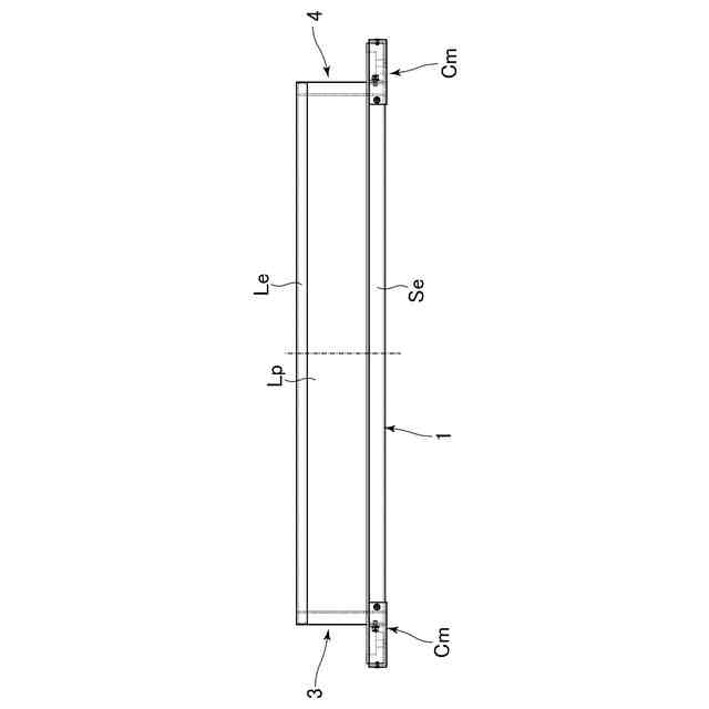
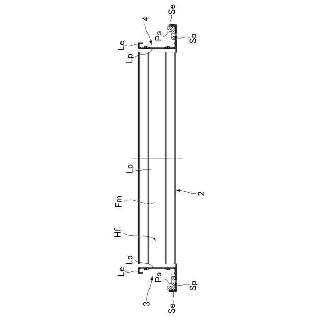
【解決手段】空気清浄化装置Acの立壁に開口した空気の吸引口Aiに正立姿勢で交換可能に設置されるフィルタFmの保持装置であって、当該保持装置は、前記フィルタFmを支持して保持する機能を持つ筒状のフィルタ保持部Hfと、前記保持部Hfの先端側に一体に形成されて前記吸引口Aiへ取付けられる取付枠部1~4とを備える。
【選択図】図15
特許請求の範囲
【請求項1】
空気清浄化装置の立壁に開口した空気の吸引口に正立姿勢で交換可能に設置されるフィルタの保持装置であって、当該保持装置は、前記フィルタを支持して保持する機能を持つ筒状のフィルタ保持部と、前記保持部の先端側に形成されて前記吸引口へ取付けられる取付枠部とを備えることを特徴とするフィルタ保持装置。
続きを表示(約 500 文字)
【請求項2】
長手側部分と短手側部分からなる断面略L状をなす4枚の板状部材の前記短手側部分が前記取付枠部として形成されていると共に、前記4枚の板状部材の長手側部分が結合されて前記筒状のフィルタ保持部として形成されている請求項1のフィルタ保持装置。
【請求項3】
前記取付枠部と前記フィルタ保持部は、押出成形した部材により一体に筒状を形成している請求項2のフィルタ保持装置。
【請求項4】
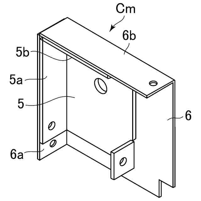
前記吸引口の外周縁に配置される前記取付枠部において、当該吸引口の外周縁の四隅に対応する当該取付枠部の各端部が形成する非連結部の隙間に、少なくとも一つの前記隙間を埋めるコーナー部材を配置して前記非連結部を前記コーナー部材で接合し、前記取付枠部同士を連結している請求項2又は3のフィルタ保持装置。
【請求項5】
前記コーナー部材は、前記取付枠部の短手側部分の面と同面で接合される継ぎ板と、この継ぎ板の全面を外面から覆うコーナーカバーとからなる請求項4のフィルタ保持装置。
【請求項6】
請求項1のフィルタ保持装置を装着した空気清浄化装置。
発明の詳細な説明
【技術分野】
【0001】
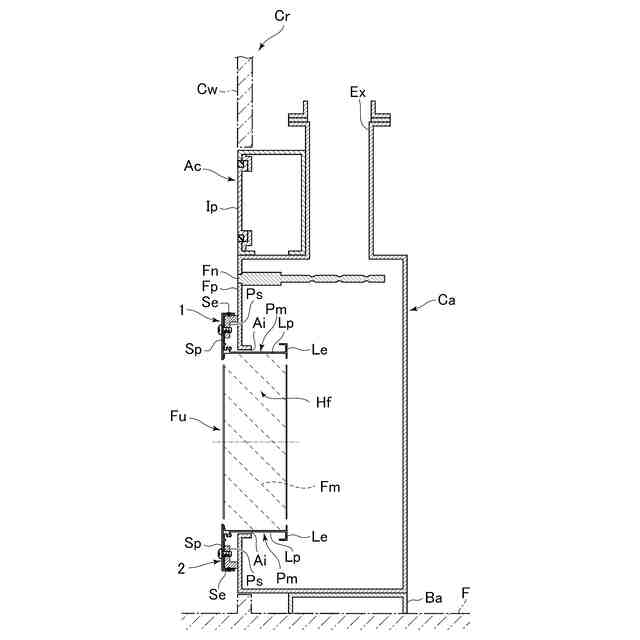
本発明は、人体や環境に有害または有害性が懸念される物質を取扱う医薬品や化粧品の製造工場や研究施設のクリーンルーム、或はバイオハザード対策や放射性物質対策などの隔離を目的に設置されているハザード対策ルームやハザード対策用キャビネット、ドラフトチャンバー等の空間で使用される当該空間内の空気を清浄化してその空間内へ再循環したり、或は外部へ排出するエアフィルタを備えた装置(以下、空気清浄化装置という)に交換可能に装着するフィルタ保持装置に関する。
続きを表示(約 1,600 文字)
【背景技術】
【0002】
空気清浄化装置は、例えばハザード対策ルームやドラフトチャンバー等の機器内の空気を清浄化するための装置として、従来から種々の産業分野において用いられている。
【0003】
公知の空気清浄化装置の一例としては、縦長の略直方体状をなす壁面構造体による筺体と、該筺体の前面壁下部に開口形成した吸気口と、前記筺体の上面壁に形成した排気口と、前記吸気口の上方の当該筐体の高さ方向中間部位であってこの筺体内部を横断する姿勢で架台上に着脱自在に設置されてユニット化したHEPAフィルタ(High Efficiency Particulate Air Filter、以下、フィルタユニットという。)と、該フィルタユニットの上方で前記筺体の前面壁に設けた蓋付のフィルタ交換口とを備えて形成されたものがある。
なお、前記フィルタユニットに代えてユニット化したULPAフィルタ(Ultra Low Penetration Air Filter、以下、前記フィルタユニットに含まれるものとする。)を使用した空気清浄化装置もある。
【0004】
従来の空気清浄化装置(以下、単に「装置」ともいう。特許文献1,2参照)では、前面壁の下部に吸気口を形成し、該筺体内部における前記吸気口の上方に、フィルタユニットを水平に支持するための架台を設け、該架台に前記フィルタユニットを水平姿勢で設置する構造であるため、次のような問題が指摘されている。
【0005】
従来装置では、フィルタユニットが水平姿勢で筺体内部に配置されるため、その筺体は、少なくとも前記フィルタユニットの水平姿勢での前後幅が収まる奥行き量を有することを必要とする。
【0006】
即ち、所要面積の空気ろ過面を有するフィルタユニットは、水平姿勢においては、前記ろ過面積に見合った前後幅(奥行き量)があるため、前記筺体の前後幅(奥行き量)を大きくせざるを得ないという難点がある。
【0007】
また、従来装置では、筺体の前面壁の下部に吸気口が設置されているため、該吸気口から筺体内に水平に設置されているフィルタユニットの空気ろ過面(1次側)までの筐体の内部が、当該空気清浄化装置における汚染エリアとなっている。
【0008】
さらに前記フィルタユニットのフィルタ交換に際しては、前記フィルタユニットの空気ろ過面(1次側)を含む汚染エリアに付着している有害物質の飛散を防ぐために、フィルタユニット交換に先立って前記汚染エリアを水や薬品などで洗浄している。しかし、洗浄部位が前記吸気口より下流の筺体内部であるため、洗浄状況を目視で確認し難いことと、及び前記吸気口から前記フィルタユニットの空気ろ過面を含む筺体の内部は目視確認が行い難いこととが相俟って洗浄作業も行い難いという問題が指摘されている。
【0009】
さらには、従来装置では、フィルタユニットの筺体内部での設置姿勢が水平姿勢であるため、フィルタ交換や点検などのために、蓋付のフィルタ交換口を前記フィルタユニットの設置高さより上方の筐体の前面壁に設けなければならなかった。
【0010】
本発明の発明者らは、従来の空気清浄化装置における上記問題点を悉く解消した新規な空気清浄化装置を特許第6993121号として提案している(特許文献3参照)。即ち、提案した空気清浄化装置は、当該装置の本体となる壁面構造の筺体と、該筺体の前面壁に形成した吸気口と、該吸気口の前面にその吸気口を塞ぐように縦向き正面姿勢で着脱自在に装着したフィルタユニットと、前記筺体の上面壁に設けた外部送風機にダクトを介して接続される排気口とを備えて構成されたものである。
(【0011】以降は省略されています)
この特許をJ-PlatPat(特許庁公式サイト)で参照する
関連特許
株式会社ダルトン
空気清浄化装置のフィルタ保持装置
1日前
株式会社ダルトン
振動ふるい装置及び振動ふるい方法
1か月前
株式会社西部技研
除湿装置
1か月前
株式会社日本触媒
ドロー溶質
1か月前
プライミクス株式会社
攪拌装置
16日前
日本バイリーン株式会社
フィルタ
1か月前
サンノプコ株式会社
消泡剤
1か月前
東レ株式会社
遠心ポッティング方法
1か月前
トヨタ自動車株式会社
濾過装置
1か月前
株式会社切川物産
撹拌装置
17日前
トヨタ紡織株式会社
フィルタ
10日前
株式会社高垣製作所
粉粒体加工装置
1日前
松岡紙業 株式会社
油吸着体の製造方法
1か月前
個人
気液混合装置
1か月前
個人
吸着材複合粒子
1日前
栗田工業株式会社
ギ酸の回収方法
17日前
トヨタ紡織株式会社
水流帯電装置
10日前
株式会社フクハラ
圧縮空気圧回路ユニット
1か月前
富士電機株式会社
ガス処理システム
1か月前
東芝ライテック株式会社
光照射装置
1か月前
株式会社明電舎
成膜装置
1か月前
東芝ライテック株式会社
紫外線処理装置
16日前
日本化薬株式会社
直鎖ブテン製造用触媒及びその使用
1か月前
株式会社HELIX
加熱装置
2日前
本田技研工業株式会社
二酸化炭素回収装置
1か月前
本田技研工業株式会社
二酸化炭素回収装置
1か月前
株式会社ダイセル
圧力容器
8日前
いであ株式会社
PFAS除去用バイオ炭の製造方法
1か月前
三浦工業株式会社
撹拌装置
1か月前
個人
フッ化炭素糸物にフッ素をコーティングした浄水手段
1か月前
株式会社ダルトン
空気清浄化装置のフィルタ保持装置
1日前
三菱重工業株式会社
石膏脱水システム
1か月前
日本碍子株式会社
電気加熱式担体
1か月前
JFEエンジニアリング株式会社
二酸化炭素回収方法
1か月前
栗田工業株式会社
有機物含有水の脱泡処理装置
24日前
三菱化工機株式会社
粒子の分級装置及び粒子の分級方法
1日前
続きを見る
他の特許を見る