TOP
|
特許
|
意匠
|
商標
特許ウォッチ
Twitter
他の特許を見る
公開番号
2025156897
公報種別
公開特許公報(A)
公開日
2025-10-15
出願番号
2024059641
出願日
2024-04-02
発明の名称
振動ふるい装置及び振動ふるい方法
出願人
株式会社ダルトン
代理人
弁理士法人柳野国際特許事務所
主分類
B07B
1/28 20060101AFI20251007BHJP(固体相互の分離;仕分け)
要約
【課題】粉体のふるい分けを行う際の処理能力を安定して向上させることが可能となる、振動ふるい装置及び振動ふるい方法を提供する。
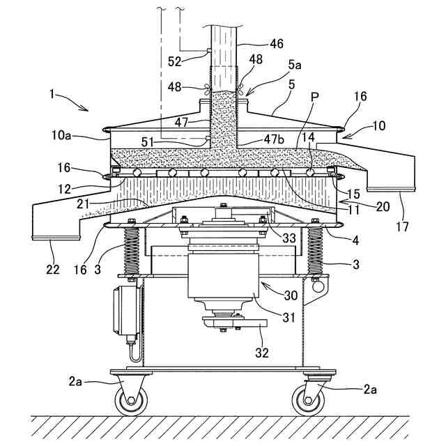
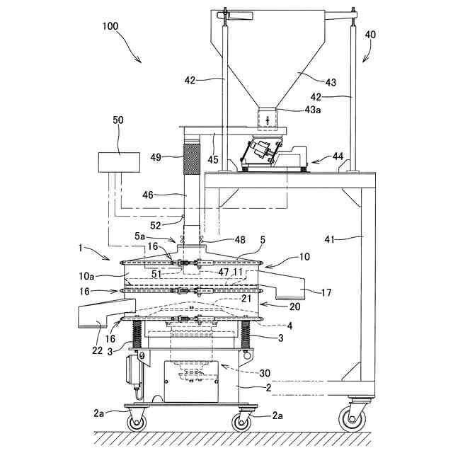
【解決手段】振動ふるい装置100は、周壁10aによって囲まれた上ハウジング10と、上ハウジング10の内部に設けられたふるい網11と、上ハウジング10に振動を付与する振動機構30と、内筒を介してふるい網11の上方に粉体Pを供給する供給部40と、を備え、内筒は、供給部40がふるい網11の上方に粉体Pを供給する際に少なくとも下端部に粉体を充填可能とされ、ふるい網11から内筒の下端部に形成された供給口47bまでの距離Dは、ふるい網11から周壁10aの上端部までの高さHよりも小さく形成される。
【選択図】図1
特許請求の範囲
【請求項1】
周壁によって囲まれたハウジングと、
前記ハウジングの内部に設けられたふるい網と、
前記ハウジングに振動を付与する振動機構と、
内筒を介して前記ふるい網の上方に粉体を供給する供給部と、を備え、
前記内筒は、前記供給部が前記ふるい網の上方に粉体を供給する際に少なくとも下端部に粉体を充填可能とされ、
前記ふるい網から前記内筒の前記下端部に形成された供給口までの距離は、前記ふるい網から前記周壁の上端部までの高さよりも小さく形成される、振動ふるい装置。
続きを表示(約 800 文字)
【請求項2】
前記内筒は、前記ふるい網から前記供給口までの距離が調節可能とされる、請求項1に記載の振動ふるい装置。
【請求項3】
前記供給部は、前記内筒への粉体の投入速度を調整する速度調整部を備え、
前記内筒には、粉体の有無を検知する第一のセンサが設けられ、
前記第一のセンサが前記粉体を検知しない場合に、前記速度調整部が粉体の投入速度を大きくする、請求項1又は請求項2に記載の振動ふるい装置。
【請求項4】
前記内筒における前記第一のセンサの上方には、粉体の有無を検知する第二のセンサが設けられ、
前記第二のセンサが前記粉体を検知した場合に、前記速度調整部が粉体の投入速度を小さくする、請求項3に記載の振動ふるい装置。
【請求項5】
ハウジングと、前記ハウジングの内部に設けられたふるい網と、前記ハウジングに振動を付与する振動機構と、内筒を介して前記ふるい網の上方に粉体を供給する供給部と、を備えた振動ふるい装置で行う振動ふるい方法であって、
前記内筒の少なくとも下端部に粉体を充填させた状態で前記供給部が前記ふるい網の上方に粉体を供給する、振動ふるい方法。
【請求項6】
前記供給部は、前記内筒への粉体の投入速度を調整する速度調整部を備え、
前記内筒には、粉体の有無を検知する第一のセンサが設けられ、
前記第一のセンサが前記粉体を検知しない場合に、前記速度調整部が粉体の投入速度を大きくする、請求項5に記載の振動ふるい方法。
【請求項7】
前記内筒における前記第一のセンサの上方には、粉体の有無を検知する第二のセンサが設けられ、
前記第二のセンサが前記粉体を検知した場合に、前記速度調整部が粉体の投入速度を小さくする、請求項6に記載の振動ふるい方法。
発明の詳細な説明
【技術分野】
【0001】
本発明は、粉体の分級や選別等に用いられる振動ふるい装置及び振動ふるい方法に関する。
続きを表示(約 1,200 文字)
【背景技術】
【0002】
従来、ふるい網が設けられたふるい枠に振動を付与することにより、ふるい枠の内部に投入された粉体をふるい分ける構成の振動ふるい装置が知られている(例えば、特許文献1を参照)。
【先行技術文献】
【特許文献】
【0003】
特開2022-174495号公報
【発明の概要】
【発明が解決しようとする課題】
【0004】
従来技術に係る振動ふるい装置において、粉体をふるい分ける際の処理能力のばらつきを抑制する構成が求められている。本発明は以上の如き状況に鑑みてなされたものであり、本発明が解決しようとする課題は、粉体のふるい分けを行う際の処理能力を安定して向上させることが可能となる振動ふるい装置及び振動ふるい方法を提供することである。
【課題を解決するための手段】
【0005】
以下では、上記課題を解決するための手段を説明する。
【0006】
本発明に係る振動ふるい装置は、周壁によって囲まれたハウジングと、前記ハウジングの内部に設けられたふるい網と、前記ハウジングに振動を付与する振動機構と、内筒を介して前記ふるい網の上方に粉体を供給する供給部と、を備え、前記内筒は、前記供給部が前記ふるい網の上方に粉体を供給する際に少なくとも下端部に粉体を充填可能とされ、前記ふるい網から前記内筒の前記下端部に形成された供給口までの距離は、前記ふるい網から前記周壁の上端部までの高さよりも小さく形成される。
【0007】
また、振動ふるい装置において、前記内筒は、前記ふるい網から前記供給口までの距離が調節可能とされることが好ましい。
【0008】
また、振動ふるい装置において、前記供給部は、前記内筒への粉体の投入速度を調整する速度調整部を備え、前記内筒には、粉体の有無を検知する第一のセンサが設けられ、前記第一のセンサが前記粉体を検知しない場合に、前記速度調整部が粉体の投入速度を大きくすることが好ましい。
【0009】
また、振動ふるい装置において、前記内筒における前記第一のセンサの上方には、粉体の有無を検知する第二のセンサが設けられ、前記第二のセンサが前記粉体を検知した場合に、前記速度調整部が粉体の投入速度を小さくすることが好ましい。
【0010】
また、本発明に係る振動ふるい方法は、ハウジングと、前記ハウジングの内部に設けられたふるい網と、前記ハウジングに振動を付与する振動機構と、内筒を介して前記ふるい網の上方に粉体を供給する供給部と、を備えた振動ふるい装置で行う振動ふるい方法であって、前記内筒の少なくとも下端部に粉体を充填させた状態で前記供給部が前記ふるい網の上方に粉体を供給する。
(【0011】以降は省略されています)
この特許をJ-PlatPat(特許庁公式サイト)で参照する
関連特許
株式会社ダルトン
振動ふるい装置及び振動ふるい方法
1か月前
日清製粉株式会社
篩
4か月前
個人
ゴミ分別システム
2か月前
株式会社クボタ
豆類選別機
1か月前
株式会社クボタ
豆類選別機
1か月前
株式会社クボタ
豆類選別機
1か月前
近江度量衡株式会社
選別箱詰システム
12日前
シブヤ精機株式会社
農産物の集出荷装置
1か月前
川崎重工業株式会社
廃棄物処理システム
1か月前
コネクテッドロボティクス株式会社
処理方法
3か月前
キヤノン株式会社
分別装置及び分別方法
3か月前
アンリツ株式会社
物品検査装置
5日前
株式会社栗本鐵工所
ローラスクリーン
1か月前
株式会社クボタ
豆類選別機
1か月前
株式会社クボタ
豆類選別機
1か月前
株式会社クボタ
豆類選別機
1か月前
株式会社サタケ
測定装置および選別装置
1か月前
株式会社シンセイ
砂乾燥選別装置
4か月前
日本協同企画株式会社
果菜引継ぎ搬送装置及び果菜箱詰め装置
3か月前
株式会社山本工作所
空気分散部材及び乾式分離装置
2か月前
株式会社 東京ウエルズ
ワーク分類装置、ワーク分類方法
2か月前
アンリツ株式会社
選別装置および物品検査装置
3か月前
株式会社PFU
物体撮像装置および物体認識装置
4か月前
株式会社ダルトン
振動ふるい装置及び振動ふるい方法
1か月前
三井金属計測機工株式会社
選果装置の排果システム
21日前
国立大学法人北海道大学
粒子の分離方法および粒子の分離装置
21日前
アクセリア株式会社
情報提供システム、提供情報生成装置及び情報提供方法
1か月前
UBE三菱セメント株式会社
長尺物の篩い分け方法、焼却灰の処理方法、及び、振動篩機
2か月前
株式会社FUJI
異物除去方法
2か月前
アクセリア株式会社
情報提供システム及び情報提供方法
1か月前
日鉄エンジニアリング株式会社
異物分離装置及び異物分離方法
1か月前
個人
灰汁除去器具、灰汁除去器具の製造方法
1か月前
個人
複素環式THR-β受容体アゴニスト化合物ならびにその調製方法および使用
3か月前
リジェネックスバイオ インコーポレイテッド
完全ヒト翻訳後修飾抗体による治療剤
2か月前
他の特許を見る