TOP
|
特許
|
意匠
|
商標
特許ウォッチ
Twitter
他の特許を見る
10個以上の画像は省略されています。
公開番号
2025175319
公報種別
公開特許公報(A)
公開日
2025-12-03
出願番号
2024081376
出願日
2024-05-20
発明の名称
選果装置
出願人
TOPPANホールディングス株式会社
代理人
インフォート弁理士法人
主分類
B07C
5/04 20060101AFI20251126BHJP(固体相互の分離;仕分け)
要約
【課題】小型な選果装置を提供すること。
【解決手段】選果装置は、第1駆動部と、第1駆動部により第1軸周りに回転可能な回転支持部と、それぞれが選別対象を載置可能であり、第1軸周りに環状に並ぶように回転支持部に支持された複数の載置台と、を備える。第1駆動部により回転支持部が第1軸周りに回転すると、複数の載置台が第1軸周りを循環する。
【選択図】図1A
特許請求の範囲
【請求項1】
第1駆動部と、
前記第1駆動部により第1軸周りに回転可能な回転支持部と、
それぞれが選別対象を載置可能であり、前記第1軸周りに環状に並ぶように前記回転支持部に支持された複数の載置台と、を備え、
前記第1駆動部により前記回転支持部が前記第1軸周りに回転すると、前記複数の載置台が前記第1軸周りを循環する、
選果装置。
続きを表示(約 1,000 文字)
【請求項2】
前記回転支持部は、
前記第1軸を中心とする基台と、
前記基台の側方に放射状に延びて形成された複数の支持体と、
を含み、
前記複数の支持体のそれぞれは、前記複数の載置台のそれぞれを支持する、
請求項1に記載の選果装置。
【請求項3】
前記支持体を動かす第2駆動部を更に備え、
前記第2駆動部による前記支持体の動きに連動して、前記載置台の姿勢が、前記選別対象を載置可能な第1の姿勢、または、載置された前記選別対象が落下するように、前記第1の姿勢から傾く第2の姿勢に変化する、
請求項2に記載の選果装置。
【請求項4】
前記支持体は、第2軸方向に延びる軸体であり、
前記第2駆動部により前記軸体が前記第2軸周りに回転することで、前記軸体に支持された前記載置台が傾くように回転し、前記載置台に載置された前記選別対象が前記載置台から落下する、
請求項3に記載の選果装置。
【請求項5】
前記軸体とともに回転した前記載置台を回転前の位置に戻す部材と、
前記部材により前記載置台が前記回転前の位置に戻る際のオーバシュートを抑制する部材と、を更に備える、
請求項4に記載の選果装置。
【請求項6】
前記載置台の自重による回転が抑制されるように、前記載置台の重心を前記第2軸から偏芯させた、
請求項4に記載の選果装置。
【請求項7】
前記載置台は、前記選別対象を収容可能な凹部を含み、
前記凹部の底部に開口が形成される、
請求項1に記載の選果装置。
【請求項8】
前記第1軸周りを循環する前記複数の載置台のうち、所定位置に移送された載置台に載置された選別対象の情報を順次取得する情報取得部を更に備える、
請求項1に記載の選果装置。
【請求項9】
前記情報取得部で取得された情報に基づく検査結果に応じて前記選別対象を選別する選別部を更に備える、
請求項8に記載の選果装置。
【請求項10】
前記選別部は、前記選別対象を、前記載置台から、前記検査結果に応じた箇所に排出する、
請求項9に記載の選果装置。
(【請求項11】以降は省略されています)
発明の詳細な説明
【技術分野】
【0001】
本開示は、選果装置に関する。
続きを表示(約 1,800 文字)
【背景技術】
【0002】
近年、農業従事人口の減少に伴う労働力不足が深刻な問題となっている。労働負荷の高い選果作業を改善するため、例えば、ロボティクスやAI(Artificial Intelligence)などの技術を活用した、選果自動化、スマート農業実現の試みが各所で行われている。
【0003】
例えば特許文献1に、農作物選別装置が記載されている。特許文献1に記載の農作物選別装置は、複数のローラが自転可能に設けられたローラコンベアで農作物を搬送する。この農作物選別装置は、ローラの回転方向を制御して農作物を自転させることにより、様々な方向から農作物の外観を撮影するとともに、農作物が自転せずに搬送される過程で農作物の内部を撮影し、撮影画像を用いて農作物の選別を行う。
【先行技術文献】
【特許文献】
【0004】
特開2022-167190号公報
【発明の概要】
【発明が解決しようとする課題】
【0005】
国内では中小規模耕地・中小量生産による農業生産者が過半数を占めており、中小規模生産者の負荷を減らすことを念頭とした技術が必要とされている。ここで、特許文献1に記載の農作物選別装置は、大規模耕地で大量収穫した農作物の選別に用いられることを前提とし、大型装置で一括に農作物の選別を行うものである。このような大型の農作物選別装置を中小規模生産者が導入することは難しい。
【0006】
本開示の実施形態は上記の事情に鑑み、例えば中小規模生産者が導入しやすい小型な選果装置を提供することを目的とする。
【課題を解決するための手段】
【0007】
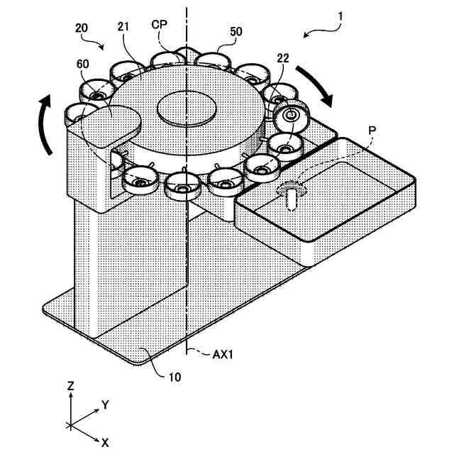
本開示の一実施形態に係る選果装置は、第1駆動部と、第1駆動部により第1軸周りに回転可能な回転支持部と、それぞれが選別対象を載置可能であり、第1軸周りに環状に並ぶように回転支持部に支持された複数の載置台と、を備える。第1駆動部により回転支持部が第1軸周りに回転すると、複数の載置台が第1軸周りを循環する。
【発明の効果】
【0008】
本開示の一実施形態によれば、小型な選果装置が提供される。
【図面の簡単な説明】
【0009】
本開示の一実施形態に係る選果装置の斜視図である。
本開示の一実施形態に係る選果装置の斜視図である。
本開示の一実施形態に係る選果装置の構成を示すブロック図である。
本開示の一実施形態に係る端末装置の構成を示すブロック図である。
本開示の一実施形態に係る選果装置に備えられる載置台を上方から見た図である。
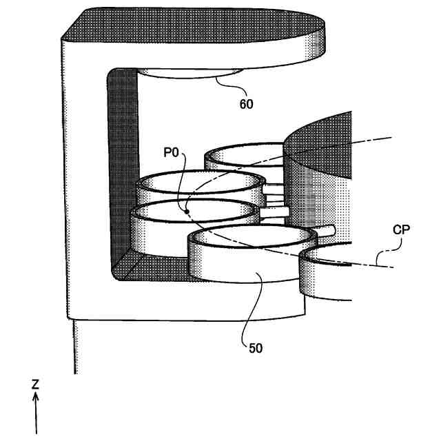
本開示の一実施形態に係る選果装置に備えられるセンサ部付近の拡大斜視図である。
本開示の一実施形態において載置台に農作物が載置された状態を示す模式図である。
本開示の一実施形態において載置台から農作物を落下させた状態を示す模式図である。
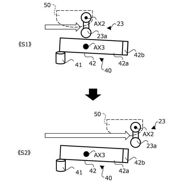
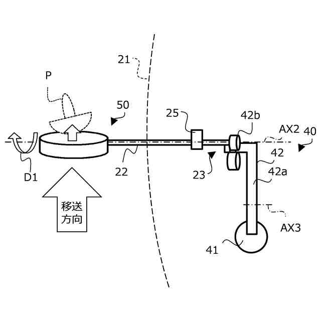
本開示の一実施形態に係る選果装置に備えられる第2駆動部による農作物の排出動作を説明する模式図である。
本開示の一実施形態に係る選果装置に備えられる第2駆動部による農作物の排出動作を説明する模式図である。
本開示の一実施形態に係る選果装置に備えられるストッパによる載置台の回転の抑制について説明する模式図である。
本開示の一実施形態において選果装置を用いて行われる選果作業の流れを示すフローチャートである。
本開示の一実施形態において端末装置のプロセッサにより実行される処理を示すフローチャートである。
本開示の別の一実施形態に係る選果装置に備えられる載置台を上方から見た図である。
本開示の変形例に係る選果装置の斜視図である。
本開示の変形例において載置台を傾けた状態を示す図である。
本開示の変形例において載置台が傾く仕組みを説明する図である。
本開示の変形例において載置台が傾く仕組みを説明する図である。
【発明を実施するための形態】
【0010】
以下の説明は、本開示の一実施形態に係る選果装置に関する。共通の又は対応する要素については、同一又は類似の符号を付して、重複する説明を適宜簡略又は省略する。
(【0011】以降は省略されています)
この特許をJ-PlatPat(特許庁公式サイト)で参照する
関連特許
日清製粉株式会社
篩
4か月前
日東精工株式会社
検査装置
5か月前
個人
ゴミ分別システム
3か月前
株式会社タケエイ
振動篩装置
4か月前
株式会社クボタ
豆類選別機
1か月前
株式会社クボタ
豆類選別機
1か月前
株式会社クボタ
豆類選別機
1か月前
株式会社レクザム
基板アンローダ
5か月前
近江度量衡株式会社
選別箱詰システム
28日前
川崎重工業株式会社
廃棄物処理システム
1か月前
シブヤ精機株式会社
農産物の集出荷装置
1か月前
コネクテッドロボティクス株式会社
処理方法
3か月前
キヤノン株式会社
分別装置及び分別方法
4か月前
アンリツ株式会社
物品検査装置
21日前
株式会社栗本鐵工所
ローラスクリーン
1か月前
株式会社シンセイ
砂乾燥選別装置
4か月前
株式会社クボタ
豆類選別機
1か月前
株式会社クボタ
豆類選別機
1か月前
株式会社サタケ
測定装置および選別装置
1か月前
株式会社クボタ
豆類選別機
1か月前
日本協同企画株式会社
果菜引継ぎ搬送装置及び果菜箱詰め装置
4か月前
TOPPANホールディングス株式会社
選果装置
今日
株式会社 東京ウエルズ
ワーク分類装置、ワーク分類方法
3か月前
株式会社山本工作所
空気分散部材及び乾式分離装置
3か月前
アンリツ株式会社
選別装置および物品検査装置
3か月前
株式会社PFU
物体撮像装置および物体認識装置
4か月前
株式会社ダルトン
振動ふるい装置及び振動ふるい方法
1か月前
三井金属計測機工株式会社
選果装置の排果システム
1か月前
国立大学法人北海道大学
粒子の分離方法および粒子の分離装置
1か月前
アクセリア株式会社
情報提供システム、提供情報生成装置及び情報提供方法
1か月前
ウエノテックス株式会社
風力選別機および風力選別システム
5か月前
日本製鉄株式会社
スクラップ選別装置およびそれを用いたスクラップの選別方法
今日
UBE三菱セメント株式会社
長尺物の篩い分け方法、焼却灰の処理方法、及び、振動篩機
3か月前
株式会社FUJI
異物除去方法
3か月前
アクセリア株式会社
情報提供システム及び情報提供方法
1か月前
日鉄エンジニアリング株式会社
異物分離装置及び異物分離方法
2か月前
続きを見る
他の特許を見る