TOP
|
特許
|
意匠
|
商標
特許ウォッチ
Twitter
他の特許を見る
公開番号
2025165759
公報種別
公開特許公報(A)
公開日
2025-11-05
出願番号
2024070050
出願日
2024-04-23
発明の名称
選別箱詰システム
出願人
近江度量衡株式会社
代理人
個人
,
個人
主分類
B07C
5/16 20060101AFI20251028BHJP(固体相互の分離;仕分け)
要約
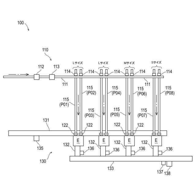
【課題】総重量に基づいて農産物が箱詰めされる場合に、外装箱に農産物の入数を表示する。
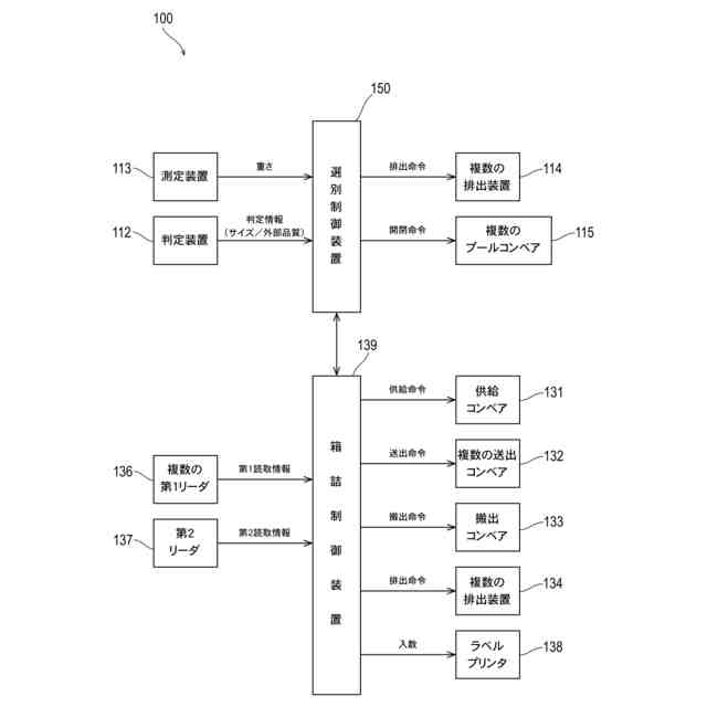
【解決手段】農産物の重さを測定する重さ測定部113と、選別コンベア111下流側に設けられた複数のプールコンベア115と、プールコンベアの各々に対応する箱詰エリアEと、農産物が入れられた外装箱に入数を表示させるラベルプリンタ138と、重さ測定部とラベルプリンタと通信可能な制御装置と、を備える。制御装置は、重さ測定部から取得した農産物の重さに基づいてプールコンベアの各々における農産物の総重量である貯留重量を算出するとともに、プールコンベアの各々における農産物の数をカウントする演算部と、プールコンベアの各々の貯留重量と外装箱に対して定められた総重量である梱包重量を比較する比較部と、プールコンベアの貯留重量が梱包重量に達した場合に、カウントされた農産物の数を入数としてラベルプリンタに指定する指定部と、を備える。
【選択図】図1
特許請求の範囲
【請求項1】
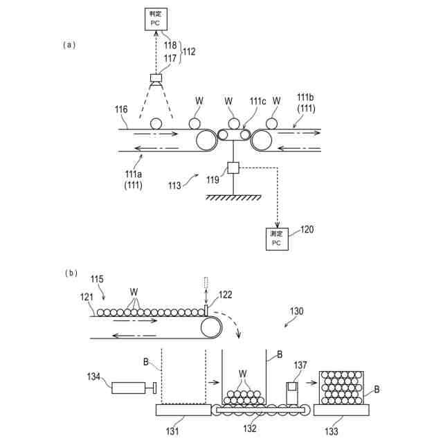
農産物の搬送経路に設けられ、搬送される農産物の重さを測定する重さ測定部と、
前記重さが測定された農産物を貯留する貯留部と、
前記貯留された農産物を外装箱に入れる箱詰エリアと、
前記農産物が入れられた外装箱に入数を表示する表示部と、
前記重さ測定部と前記表示部と通信可能な制御装置と、
を備え、
前記制御装置は、
前記重さ測定部から取得した前記農産物の重さに基づいて、前記貯留部に貯留されている農産物の総重量である貯留重量を算出するとともに、当該貯留されている農産物の数をカウントする演算部と、
前記貯留重量と前記外装箱に入れるべき農産物の総重量である梱包重量を比較する比較部と、
前記貯留重量が前記梱包重量に達した場合に、前記カウントされた農産物の数を入数として前記表示部に指定する指定部と、
を備える、選別箱詰システム。
続きを表示(約 580 文字)
【請求項2】
前記搬送経路に設けられ、前記搬送される農産物のサイズを判定するサイズ判定部と、
複数の前記貯留部と、
前記搬送経路に設けられ、前記貯留部の各々に対応して設けられた複数の排出部と、
を備え、
前記貯留部の各々には、貯留すべき前記農産物のサイズが割り当てられており、
前記制御装置は、前記サイズ判定部から取得した農産物のサイズに対応する貯留部に当該農産物を貯留させるよう前記排出部を制御することを特徴とする、請求項1に記載の選別箱詰システム。
【請求項3】
前記制御装置は、前記貯留部の各々に割り当てるサイズを変動させることを特徴とする、請求項2に記載の選別箱詰システム。
【請求項4】
前記制御装置は、
2つ以上の貯留部に対して同一のサイズが割り当てられている場合であって、
且つ、当該2つ以上の貯留部の貯留重量を参照し、当該参照した貯留重量の各々に対して前記重さ測定部から取得した農産物の重さを加算して加算重量を求め、当該加算重量が前記梱包重量を超えた場合に、
当該梱包重量を超えた加算重量のうち最も値の小さい加算重量に対応する貯留部に対して、当該農産物を排出するよう前記排出部を制御することを特徴とする、請求項3に記載の選別箱詰システム。
発明の詳細な説明
【技術分野】
【0001】
本発明は、農産物を選別して箱詰めする選別箱詰システムに関するものである。
続きを表示(約 1,800 文字)
【背景技術】
【0002】
従来より、農産物の集出荷場には、生産者によって搬入された農産物を選別する選別部、及び選別された農産物を箱詰めする箱詰部が設けられており、箱詰めされた農産物が出荷されている。ここで、特許文献1には、等階級別に設けられた複数の排出路に対して農産物を仕分けする仕分手段と、複数の排出路に対応して配置された複数のモニターおよびラベラーと、を備える仕分表示装置が記載されている。当該モニターは、排出路における農産物の識別情報を表示する装置であり、ラベラーは排出路における農産物の識別情報を印刷する装置である。
【先行技術文献】
【特許文献】
【0003】
特開2013-23318号公報
【発明の概要】
【発明が解決しようとする課題】
【0004】
上記特許文献1は、外装箱に対する農産物の入数(箱詰めされる農産物の個数)が、等階級ごとに予め定められた定数箱詰を実施するものであり、当該入数がラベラーによって識別票に印刷されている。箱詰作業者は、識別票の入数表記に従って、必要数の農産物を排出路からピックアップして外装箱に箱詰めを行う。
【0005】
ここで、農産物の種類によっては、箱詰めする農産物の総重量のみが予め定められており、入数については定められていない定量箱詰の態様もある。当該定量箱詰による農産物の箱詰工程では、秤に外装箱を乗せた状態で、当該外装箱に入れられる農産物の総重量を量りながら農産物を箱詰めするという作業が実施されている。このような場合には、入数はカウントされず、外装箱には総重量のみが表示される。よって、出荷先の店舗スタッフ等は外装箱を開梱するまで入数を把握することができなかった。
【0006】
そこで、本発明は、総重量に基づいて農産物が箱詰めされる場合に、外装箱に農産物の入数を表示することができる選別箱詰システムを提供することを目的とする。
【課題を解決するための手段】
【0007】
上記の目的を達成するため、本発明に係る農産物の選別箱詰システムは、農産物の搬送経路に設けられ、搬送される農産物の重さを測定する重さ測定部と、前記重さが測定された農産物を貯留する貯留部と、前記貯留された農産物を外装箱に入れる箱詰エリアと、前記農産物が入れられた外装箱に入数を表示する表示部と、前記重さ測定部と前記表示部と通信可能な制御装置と、を備え、前記制御装置は、前記重さ測定部から取得した前記農産物の重さに基づいて、前記貯留部に貯留されている農産物の総重量である貯留重量を算出するとともに、当該貯留されている農産物の数をカウントする演算部と、前記貯留重量と前記外装箱に入れるべき農産物の総重量である梱包重量を比較する比較部と、前記貯留重量が前記梱包重量に達した場合に、前記カウントされた農産物の数を入数として前記表示部に指定する指定部と、を備えることを特徴とする。
【0008】
上記選別箱詰システムは、前記搬送経路に設けられ、前記搬送される農産物のサイズを判定するサイズ判定部と、複数の前記貯留部と、前記搬送経路に設けられ、前記貯留部の各々に対応して設けられた複数の排出部と、を備え、前記貯留部の各々には、貯留すべき前記農産物のサイズが割り当てられており、前記制御装置は、前記サイズ判定部から取得した農産物のサイズに対応する貯留部に当該農産物を貯留させるよう前記排出部を制御することを特徴とする。
【0009】
また、上記選別箱詰システムにおいて、前記制御装置は、前記貯留部の各々に割り当てるサイズを変動させることを特徴とする。
【0010】
さらに、上記選別箱詰システムにおいて、前記制御装置は、2つ以上の貯留部に対して同一のサイズが割り当てられている場合であって、且つ、当該2つ以上の貯留部の貯留重量を参照し、当該算出した貯留重量の各々に対して前記重さ測定部から取得した農産物の重さを加算して加算重量を求め、当該加算重量が前記梱包重量を超えた場合に、当該梱包重量を超えた加算重量のうち最も値の小さい加算重量に対応する貯留部に対して、当該農産物を排出するよう前記排出部を制御することを特徴とする。
【発明の効果】
(【0011】以降は省略されています)
この特許をJ-PlatPat(特許庁公式サイト)で参照する
関連特許
近江度量衡株式会社
選別箱詰システム
28日前
近江度量衡株式会社
青果物の選別装置
7か月前
個人
ゴミ分別システム
3か月前
株式会社クボタ
豆類選別機
1か月前
株式会社クボタ
豆類選別機
1か月前
株式会社クボタ
豆類選別機
1か月前
近江度量衡株式会社
選別箱詰システム
28日前
川崎重工業株式会社
廃棄物処理システム
1か月前
シブヤ精機株式会社
農産物の集出荷装置
1か月前
コネクテッドロボティクス株式会社
処理方法
3か月前
キヤノン株式会社
分別装置及び分別方法
4か月前
アンリツ株式会社
物品検査装置
21日前
株式会社栗本鐵工所
ローラスクリーン
1か月前
株式会社シンセイ
砂乾燥選別装置
4か月前
株式会社クボタ
豆類選別機
1か月前
株式会社サタケ
測定装置および選別装置
1か月前
株式会社クボタ
豆類選別機
1か月前
株式会社クボタ
豆類選別機
1か月前
日本協同企画株式会社
果菜引継ぎ搬送装置及び果菜箱詰め装置
4か月前
TOPPANホールディングス株式会社
選果装置
今日
株式会社山本工作所
空気分散部材及び乾式分離装置
3か月前
株式会社 東京ウエルズ
ワーク分類装置、ワーク分類方法
3か月前
アンリツ株式会社
選別装置および物品検査装置
3か月前
株式会社ダルトン
振動ふるい装置及び振動ふるい方法
1か月前
三井金属計測機工株式会社
選果装置の排果システム
1か月前
アクセリア株式会社
情報提供システム、提供情報生成装置及び情報提供方法
1か月前
国立大学法人北海道大学
粒子の分離方法および粒子の分離装置
1か月前
日本製鉄株式会社
スクラップ選別装置およびそれを用いたスクラップの選別方法
今日
UBE三菱セメント株式会社
長尺物の篩い分け方法、焼却灰の処理方法、及び、振動篩機
3か月前
株式会社FUJI
異物除去方法
3か月前
アクセリア株式会社
情報提供システム及び情報提供方法
1か月前
日鉄エンジニアリング株式会社
異物分離装置及び異物分離方法
2か月前
個人
灰汁除去器具、灰汁除去器具の製造方法
1か月前
個人
複素環式THR-β受容体アゴニスト化合物ならびにその調製方法および使用
4か月前
リジェネックスバイオ インコーポレイテッド
完全ヒト翻訳後修飾抗体による治療剤
3か月前
他の特許を見る