TOP
|
特許
|
意匠
|
商標
特許ウォッチ
Twitter
他の特許を見る
公開番号
2025168827
公報種別
公開特許公報(A)
公開日
2025-11-12
出願番号
2024073620
出願日
2024-04-30
発明の名称
物品検査装置
出願人
アンリツ株式会社
代理人
弁理士法人日誠国際特許事務所
主分類
B07C
5/00 20060101AFI20251105BHJP(固体相互の分離;仕分け)
要約
【課題】良品の物品を傷つけることなく排出することができる物品検査装置を提供すること。
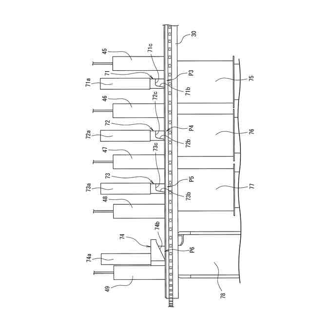
【解決手段】錠剤Wを吸引保持して検査位置を経てNG排出位置P3、全排出位置P4、フェールセーフ排出位置P5及びOK排出位置P6のいずれかに搬送する搬送部と、検査位置において錠剤Wの検査を行う検査部と、検査の結果に基づき錠剤WをNG排出位置P3、全排出位置P4、フェールセーフ排出位置P5及びOK排出位置P6のいずれかにおいて選別する選別部とを備え、選別部は、OK品以外の錠剤Wを搬送部から排出するNGゲート71、全排出ゲート72及びフェールセーフゲート73と、これらNGゲート71、全排出ゲート72及びフェールセーフゲート73よりも錠剤Wに与える衝撃が少ない状態でOK品の錠剤Wを搬送部から排出するOKゲート74と、を有する。
【選択図】図7
特許請求の範囲
【請求項1】
検査対象の物品(W)を吸引保持して検査位置(P2)を経て選別位置(P3、P4、P5、P6)に搬送する搬送部(3)と、
前記検査位置において前記物品の検査を行う検査部(4)と、
前記検査の結果に基づき前記物品を前記選別位置において選別する選別部(6)と、を備え、
前記選別部は、
良品以外の物品を前記搬送部から排出する第1排出部(71、72、73)と、
前記第1排出部よりも前記物品に与える衝撃が少ない状態で良品の物品を前記搬送部から排出する第2排出部(74)と、を有する物品検査装置。
続きを表示(約 740 文字)
【請求項2】
前記第1排出部は、前記良品以外の物品に対して前記物品の搬送を阻止することによって前記搬送部から前記良品以外の物品を引き剥がす物理的な第1ゲート(71、72、73)を有し、
前記第2排出部は、前記良品の物品に対して斜めに接触することによって前記搬送部から前記物品を徐々に引き剥がす傾斜面(74b)を有する物理的な第2ゲート(74)を有する請求項1に記載の物品検査装置。
【請求項3】
前記第2排出部は、前記第2ゲートによって前記搬送部から引き剥がされた前記良品の物品を受ける傾斜状のシュート(78)を更に有する請求項2に記載の物品検査装置。
【請求項4】
前記シュートの出口に配置され、前記シュートから排出された前記良品の物品を任意の方向に搬送可能な搬送機構(90)を更に備える請求項3に記載の物品検査装置。
【請求項5】
前記第1ゲートは、
前記第2ゲートよりも前記物品の搬送方向上流側に配置され、
不良品の物品を排出するNGゲート(71)と、前記NGゲートよりも前記物品の搬送方向下流側に配置され前記物品の全排出を行う全排出ゲート(72)と、前記全排出ゲートよりも前記物品の搬送方向下流側に配置され前記第2ゲートに前記良品以外の物品が誤って搬送されることを阻止するフェールセーフゲート(73)と、を含む請求項2から請求項4のいずれか1項に記載の物品検査装置。
【請求項6】
前記物品が前記検査位置を通過した後から少なくとも前記選別位置を通過するまでの範囲において、前記物品の吸引力を前記範囲外と比べて小さくする吸引力制限手段(30c)を更に備えた請求項1に記載の物品検査装置。
発明の詳細な説明
【技術分野】
【0001】
本発明は、物品検査装置に関する。
続きを表示(約 1,300 文字)
【背景技術】
【0002】
特許文献1には、所定の回転軸回りに回転する回転体に成形品を吸着して当該成形品を回転軌道に沿って終端位置まで搬送する搬送装置において、終端位置に至る前に不良品の成形品を噴射ノズルから噴射した圧縮空気により回転体から脱落させてシュートに落とす一方、不良品でない成形品を終端位置において吸着孔の吸引を解除することによって回転体から離脱させて落下させることが開示されている。
【先行技術文献】
【特許文献】
【0003】
特開2019-112199号公報
【発明の概要】
【発明が解決しようとする課題】
【0004】
しかしながら、特許文献1に記載の搬送装置にあっては、不良品でない成形品は終端位置において落下させられるため、落下時の衝撃によって成形品に破損等が生じるおそれがある。
【0005】
本発明は、上述のような事情に鑑みてなされたもので、良品の物品を傷つけることなく排出することができる物品検査装置を提供することを目的としている。
【課題を解決するための手段】
【0006】
本発明に係る物品検査装置は、検査対象の物品を吸引保持して検査位置を経て選別位置に搬送する搬送部と、前記検査位置において前記物品の検査を行う検査部と、前記検査の結果に基づき前記物品を前記選別位置において選別する選別部と、を備え、前記選別部は、良品以外の物品を前記搬送部から排出する第1排出部と、前記第1排出部よりも前記物品に与える衝撃が少ない状態で良品の物品を前記搬送部から排出する第2排出部と、を有する。
【0007】
この構成により、本発明に係る物品検査装置は、選別部が、良品以外の物品を排出する第1排出部よりも物品に与える衝撃が少ない状態で良品の物品を排出する第2排出部を有するので、良品の物品を傷つけることなく搬送部から排出することができる。
【0008】
本発明に係る物品検査装置において、前記第1排出部は、前記良品以外の物品に対して前記物品の搬送を阻止することによって前記搬送部から前記良品以外の物品を引き剥がす物理的な第1ゲートを有し、前記第2排出部は、前記良品の物品に対して斜めに接触することによって前記搬送部から前記物品を徐々に引き剥がす傾斜面を有する物理的な第2ゲートを有することが好ましい。
【0009】
この構成により、本発明に係る物品検査装置は、第2排出部が、良品の物品に対して斜めに接触することによって搬送部から物品を徐々に引き剥がす傾斜面を有する物理的な第2ゲートを有するので、良品の物品に与える衝撃を少なくした状態で良品の物品を搬送部から排出することができる。
【0010】
本発明に係る物品検査装置において、前記第2排出部は、前記第2ゲートによって前記搬送部から引き剥がされた前記良品の物品を受ける傾斜状のシュートを更に有することが好ましい。
(【0011】以降は省略されています)
この特許をJ-PlatPat(特許庁公式サイト)で参照する
関連特許
アンリツ株式会社
分光測定装置及びこれを備えた物品検査装置
5日前
アンリツ株式会社
検量線生成システム及び検量線生成システムの制御方法
5日前
アンリツ株式会社
検量線生成装置、検量線生成方法及び検量線生成プログラム
5日前
アンリツ株式会社
分光器の校正装置、及びこれを備えた物品検査装置、並びに分光器の校正方法
5日前
アンリツ株式会社
検量線生成装置、検量線生成装置の制御方法及び検量線生成装置の制御プログラム
今日
個人
ゴミ分別システム
3か月前
株式会社クボタ
豆類選別機
1か月前
株式会社クボタ
豆類選別機
1か月前
株式会社クボタ
豆類選別機
1か月前
近江度量衡株式会社
選別箱詰システム
1か月前
川崎重工業株式会社
廃棄物処理システム
1か月前
シブヤ精機株式会社
農産物の集出荷装置
2か月前
コネクテッドロボティクス株式会社
処理方法
4か月前
アンリツ株式会社
物品検査装置
28日前
株式会社栗本鐵工所
ローラスクリーン
1か月前
株式会社クボタ
豆類選別機
1か月前
株式会社サタケ
測定装置および選別装置
2か月前
株式会社クボタ
豆類選別機
1か月前
株式会社クボタ
豆類選別機
1か月前
TOPPANホールディングス株式会社
選果装置
7日前
日本協同企画株式会社
果菜引継ぎ搬送装置及び果菜箱詰め装置
4か月前
株式会社 東京ウエルズ
ワーク分類装置、ワーク分類方法
3か月前
株式会社山本工作所
空気分散部材及び乾式分離装置
3か月前
アンリツ株式会社
選別装置および物品検査装置
3か月前
株式会社ダルトン
振動ふるい装置及び振動ふるい方法
1か月前
三井金属計測機工株式会社
選果装置の排果システム
1か月前
国立大学法人北海道大学
粒子の分離方法および粒子の分離装置
1か月前
アクセリア株式会社
情報提供システム、提供情報生成装置及び情報提供方法
2か月前
日本製鉄株式会社
スクラップ選別装置およびそれを用いたスクラップの選別方法
7日前
UBE三菱セメント株式会社
長尺物の篩い分け方法、焼却灰の処理方法、及び、振動篩機
3か月前
株式会社FUJI
異物除去方法
3か月前
アクセリア株式会社
情報提供システム及び情報提供方法
1か月前
日鉄エンジニアリング株式会社
異物分離装置及び異物分離方法
2か月前
個人
灰汁除去器具、灰汁除去器具の製造方法
1か月前
個人
複素環式THR-β受容体アゴニスト化合物ならびにその調製方法および使用
4か月前
リジェネックスバイオ インコーポレイテッド
完全ヒト翻訳後修飾抗体による治療剤
3か月前
他の特許を見る